GM Service Manual Online
For 1990-2009 cars only
Makes
🢒
Chevrolet
🢒
2000
🢒
Blazer - 2WD
🢒 Column/Ignition Lock Schematics
Column/Ignition Lock Schematics
Standard Wheel/Column Components
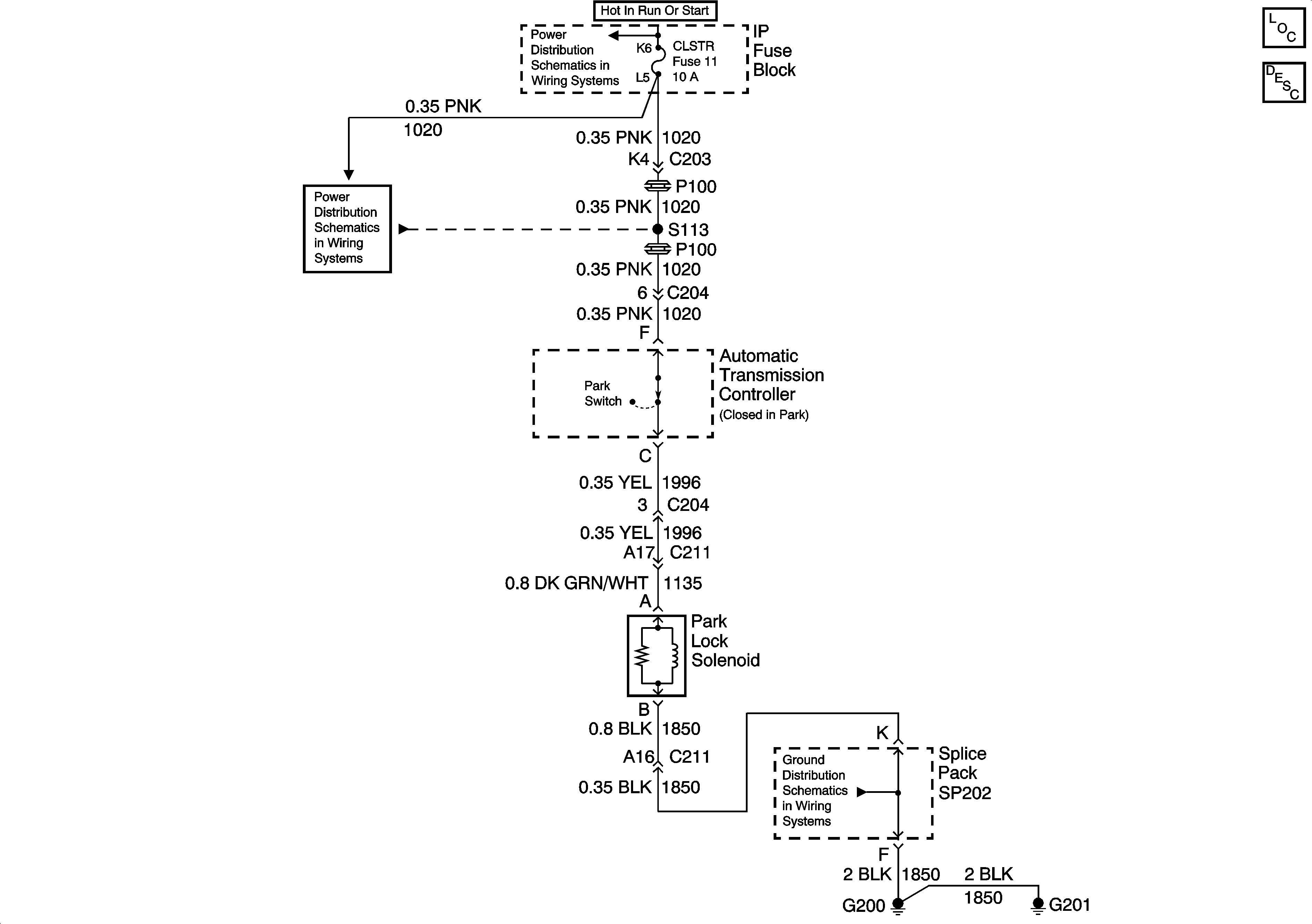
Automatic Transmission Shift Lock Control Description
CRANK and CLSTR Fuses
CRANK and CLSTR Fuses
G200, G201 and G207 (Pickup)