Battery Positive Cable Replacement 4.3L
Removal Procedure
Caution: Unless directed otherwise, the ignition and start switch must be in the OFF or LOCK position, and all electrical loads must be OFF before servicing
any electrical component. Disconnect the negative battery cable to prevent an electrical spark should a tool or equipment come in contact with an exposed electrical terminal. Failure to follow these precautions may result in personal injury and/or damage to
the vehicle or its components.
- Disconnect
the negative battery cable. Refer to
Battery Negative Cable Disconnection and Connection
.
- Disconnect the positive battery cable from the battery.
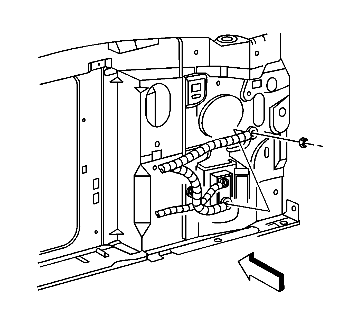
- Remove the bolt retaining
the positive battery cable to the underhood fuse block.
- Remove the nut retaining the positive battery cable to the generator.
- Raise and support the vehicle. Refer to
Lifting and Jacking the Vehicle
in General Information.
- Remove the nut retaining
the positive battery cable to the starter.
- Remove the positive battery cable bolt from the engine.
- Remove the battery positive cable.
Installation Procedure
- Install the positive battery
cable to the vehicle.
Notice: Use the correct fastener in the correct location. Replacement fasteners
must be the correct part number for that application. Fasteners requiring
replacement or fasteners requiring the use of thread locking compound or sealant
are identified in the service procedure. Do not use paints, lubricants, or
corrosion inhibitors on fasteners or fastener joint surfaces unless specified.
These coatings affect fastener torque and joint clamping force and may damage
the fastener. Use the correct tightening sequence and specifications when
installing fasteners in order to avoid damage to parts and systems.
- Install the positive
battery cable nut to the engine.
Tighten
Tighten the positive battery cable nut to 6 N·m (80 lb in).
- Install the nut retaining the positive battery cable to the starter.
Tighten
Tighten the positive battery cable nut to 9 N·m (80 lb in).
- Lower the vehicle.
- Install the nut retaining the positive battery cable to the generator.
Tighten
Tighten the positive battery cable nut to 17 N·m (13 lb ft).
- Install the nut retaining
the positive battery cable to the underhood fuse block.
Tighten
Tighten the positive battery cable nut to 10 N·m (89 lb in).
- Connect the positive battery cable to the battery.
Tighten
Tighten the positive terminal bolt to 14 N·m (11 lb ft).
- Connect the negative battery cable to the battery.
Battery Positive Cable Replacement 2.2L Vin Code 5
Removal Procedure
Caution: Refer to Battery Disconnect Caution in the Preface section.
- Remove the battery tray. Refer to
Battery Tray Replacement
.
- Remove the nut retaining the positive battery cable to the underhood fuse block.
- Remove the upper fan shroud. Refer to
Fan Shroud Replacement
in Engine Cooling.
- Remove the nut retaining the positive battery cable to the generator.
- Raise and support the vehicle. Refer to
Lifting and Jacking the Vehicle
in General Information.
- Remove the nut retaining the positive battery cable to the starter.
- Remove the positive battery cable harness bolt from the engine.
- Remove the left engine mount. Refer to
Engine Mount Replacement - Left Side
in Engine Mechanical - 2.2L.
- Remove the positive battery cable from the engine mount.
- Remove the positive battery cable.
Installation Procedure
- Install the positive battery cable to the vehicle.
- Route the positive battery cable through the hole in the engine mount.
- Install the left engine mount. Refer to
Engine Mount Replacement - Left Side
in Engine Mechanical - 2.2L.
Notice: Refer to Fastener Notice in the Preface section.
- Install the positive battery cable harness bolt to the engine.
Tighten
Tighten the positive battery cable harness bolt to 9 N·m (80 lb in).
- Install the nut retaining the positive battery cable to the starter.
Tighten
Tighten the positive battery cable nut to 9 N·m (80 lb in).
- Lower the vehicle.
- Install the nut retaining the positive battery cable to the generator.
Tighten
Tighten the positive battery cable nut to 17 N·m (13 lb ft).
- Install the upper fan shroud. Refer to
Fan Shroud Replacement
in Engine Cooling.
- Install the nut retaining the positive battery cable to the underhood fuse block.
Tighten
Tighten the positive battery cable nut to 10 N·m (89 lb in).
- Install the battery tray. Refer to
Battery Tray Replacement
.