Fuel Tank Replacement Pickup
Removal Procedure
Caution: Unless directed otherwise, the ignition and start switch must be in the OFF or LOCK position, and all electrical loads must be OFF before servicing
any electrical component. Disconnect the negative battery cable to prevent an electrical spark should a tool or equipment come in contact with an exposed electrical terminal. Failure to follow these precautions may result in personal injury and/or damage to
the vehicle or its components.
- Disconnect
the negative battery cable.
- Remove the fuel filler pipe. Refer to
Filler Tube Replacement
.
- Drain the fuel from the tank. Refer to
Fuel Tank Draining
.
- Raise the vehicle. Refer to
Lifting and Jacking the Vehicle
in General Information.
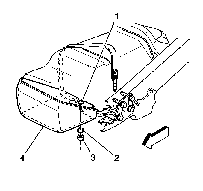
- Remove the fuel tank front
shield (4) (without underbody shield package).
- Remove the fuel tank shield
(4 wheel drive with underbody shield package).
- Support the fuel tank.
Notice: Ensure that the rollover valve connection and the fuel sender connections
are disconnected prior to lowering the fuel tank more than 51 mm (2 in)
in order to prevent damage to the fuel tank and the fuel sender.
- Remove the fuel tank front strap (1).
- Remove the fuel tank rear
strap (4).
- Disconnect the EVAP pipe from the rollover valve.
Notice: Use extreme care when lowering the fuel tank. The fuel sender is made
of plastic. Lowering the fuel tank may damage the fuel sender.
- Carefully lower the fuel tank no more than 51 mm (2 in).
- Disconnect the fuel pressure
sensor and the fuel sender electrical connectors.
- Disconnect the fuel feed pipe, the fuel return pipe, and the evaporative
emission (EVAP) pipe at the fuel sender.
- Remove the fuel tank from the vehicle.
- Remove the fuel sender
from the fuel tank. Refer to
Fuel Sender Assembly Replacement
.
Installation Procedure
- Install the fuel sender
into the fuel tank. Refer to
Fuel Sender Assembly Replacement
.
- Install the fuel tank
insulators.
- With the aid of an assistant,
position and support the fuel tank.
- Raise the fuel tank.
- Connect the fuel feed pipe, the fuel return pipe, and the EVAP
pipe at the fuel sender.
- Connect the fuel pressure sensor and the fuel sender electrical
connectors.
- Connect the EVAP pipe to the rollover valve.
Notice: Use the correct fastener in the correct location. Replacement fasteners
must be the correct part number for that application. Fasteners requiring
replacement or fasteners requiring the use of thread locking compound or sealant
are identified in the service procedure. Do not use paints, lubricants, or
corrosion inhibitors on fasteners or fastener joint surfaces unless specified.
These coatings affect fastener torque and joint clamping force and may damage
the fastener. Use the correct tightening sequence and specifications when
installing fasteners in order to avoid damage to parts and systems.
Important: When removing or replacing the fuel tank, the fuel tank support fasteners
should never be reused. Always use new fasteners when installing the fuel
tank.
- Install the rear fuel tank strap (4) and the protector (2) to the crossmember
with the bolt (3) and the retainer (1).
Tighten
Tighten the fuel tank strap bolt to 18 N·m (13 lb
ft).
- Install the rear fuel
tank strap to frame bolt (3).
Tighten
Tighten the fuel tank strap bolt to 18 N·m (13 lb
ft).
- Install the rear fuel
tank shield (without underbody shield package).
- Push the shield (2) onto the horizontal flange of the fuel tank (1).
- The shield (2) is designed with interference to the bottom of
the fuel tank (3).
- Install the fuel tank
front shield (4), washer (2), and nut (3) (without underbody shield package).
Tighten
Tighten the fuel tank shield nut to 25 N·m (18 lb
ft).
- Install the fuel tank
shield to the fuel tank strap bolt (5) with the washer (3) and the nut (4)
(4 wheel drive with underbody shield package).
- Install the fuel tank shield to frame bolts (2).
Tighten
- Tighten the fuel tank shield bolts (2) to 11 N·m
(97 lb in).
- Tighten the fuel tank shield nut (4) to 25 N·m (18 lb
ft).
- Install the fuel tank shield to crossmember bolts (1) and nuts
(6).
Tighten
Tighten the fuel tank shield bolts and nuts to 23 N·m (17 lb
ft).
- Install the fuel filler pipe. Refer to
Filler Tube Replacement
.
- Lower the vehicle.
- Refill the fuel tank.
- Install the fuel tank filler cap.
- Connect the negative battery cable.
- Inspect for leaks.
| 22.1. | Turn ON the ignition for 2 seconds. |
| 22.2. | Turn OFF the ignition for 10 seconds. |
| 22.3. | Turn ON the ignition. |
| 22.4. | Inspect for fuel leaks. |
Fuel Tank Replacement 2-Door Utility
Removal Procedure
Caution: Unless directed otherwise, the ignition and start switch must be in the OFF or LOCK position, and all electrical loads must be OFF before servicing
any electrical component. Disconnect the negative battery cable to prevent an electrical spark should a tool or equipment come in contact with an exposed electrical terminal. Failure to follow these precautions may result in personal injury and/or damage to
the vehicle or its components.
- Disconnect
the negative battery cable.
- Drain the fuel from the tank. Refer to
Fuel Tank Draining
.
- Raise the vehicle. Refer to
Lifting and Jacking the Vehicle
in General Information.
- Remove the left rear splash shield.
- Loosen the fuel fill hose clamp (2) and the vent hose clamp (1) at the
fuel tank.
- Disconnect the fuel fill hose and the vent hose from the fuel
tank.
- Remove the fuel tank shield.
- Support the fuel tank.
- Remove the fuel tank straps.
Notice: Use extreme care when lowering the fuel tank. The fuel sender is made
of plastic. Lowering the fuel tank may damage the fuel sender.
- Lower the fuel tank.
- Disconnect the fuel pressure
sensor and the fuel sender electrical connectors.
- Disconnect the fuel feed pipe, the fuel return pipe, and the evaporative
emission (EVAP) pipe at the fuel sender.
- Remove the fuel tank from the vehicle.
- Remove the fuel sender
from the fuel tank. Refer to
Fuel Sender Assembly Replacement
.
Installation Procedure
- Install the fuel sender
into the fuel tank. Refer to
Fuel Sender Assembly Replacement
.
- Install the fuel tank
insulators.
- With the aid of an assistant,
position and support the fuel tank.
- Raise the fuel tank.
- Connect the fuel feed pipe, the fuel return pipe, and the EVAP
pipe at the fuel sender.
- Connect the fuel pressure sensor and the fuel sender electrical
connectors.
Notice: Use the correct fastener in the correct location. Replacement fasteners
must be the correct part number for that application. Fasteners requiring
replacement or fasteners requiring the use of thread locking compound or sealant
are identified in the service procedure. Do not use paints, lubricants, or
corrosion inhibitors on fasteners or fastener joint surfaces unless specified.
These coatings affect fastener torque and joint clamping force and may damage
the fastener. Use the correct tightening sequence and specifications when
installing fasteners in order to avoid damage to parts and systems.
Important: When removing or replacing the fuel tank, the fuel tank support fasteners
should never be reused. Always use new fasteners when installing the fuel
tank.
- Install the fuel tank straps.
Tighten
Tighten the fuel tank strap nuts to 91 N·m (67 lb ft).
- Connect the fuel fill hose (2) and the vent hose (1) to
the fuel tank.
Tighten
| • | Tighten the fuel fill hose clamp to 2.5 N·m (22 lb
in). |
| • | Tighten the vent hose clamp to 1.7 N·m (15 lb
in). |
- Install the left splash shield.
- Install the fuel tank
shield.
Tighten
Tighten the fuel tank shield bolts to 11 N·m (97 lb
in).
- Lower the vehicle.
- Refill the fuel tank.
- Install the fuel tank filler cap.
- Connect the negative battery cable.
- Inspect for leaks.
| 15.1. | Turn ON the ignition for 2 seconds. |
| 15.2. | Turn OFF the ignition for 10 seconds. |
| 15.3. | Turn ON the ignition. |
| 15.4. | Inspect for fuel leaks. |
Fuel Tank Replacement 4-Door Utility
Removal Procedure
- Drain the fuel from the tank. Refer to
Fuel Tank Draining
.
- If applicable remove the
fuel tank shield (2).
- Loosen the fuel fill hose
clamp (3) at the fuel tank (1).
- Disconnect the lower fuel fill hose (2) from the fuel tank (1).
- Disconnect the vent hoses from the fuel limiter vent valve.
- Disconnect the vent hose from the rollover valve at the front
of the fuel tank.
- Disconnect the fuel pressure
sensor and the fuel sender harness connectors (2, 3) from the fuel sender
(1).
- Disconnect the fuel feed,
return, and EVAP purge pipes (2, 3, 4), at the fuel sender. Refer to
Plastic Collar Quick Connect Fitting Service
.
- Support the fuel tank.
- Remove the fuel tank straps (1).
- Remove the fuel tank and place in a suitable work area.
- Remove the fuel sender from the fuel tank. Refer to
Fuel Sender Assembly Replacement
.
Installation Procedure
- Install the fuel sender into the fuel tank. Refer to
Fuel Sender Assembly Replacement
.
- Install the fuel tank insulators.
- With the aid of an assistant,
position and support the fuel tank.
Notice: Tighten the strap fasteners by steps, alternating between the fasteners,
until the specified torque is reached. A failure to tighten the strap fasteners
as specified will cause the bottom of the tank to flex upward. This will result
in the fuel gauge indicating that there is fuel remaining in the tank when
the tank is empty.
Notice: Use the correct fastener in the correct location. Replacement fasteners
must be the correct part number for that application. Fasteners requiring
replacement or fasteners requiring the use of thread locking compound or sealant
are identified in the service procedure. Do not use paints, lubricants, or
corrosion inhibitors on fasteners or fastener joint surfaces unless specified.
These coatings affect fastener torque and joint clamping force and may damage
the fastener. Use the correct tightening sequence and specifications when
installing fasteners in order to avoid damage to parts and systems.
- Install the fuel tank straps (1).
Tighten
| • | Tighten the fuel tank strap nut (3) to 18 N·m (13 lb ft). |
| • | Tighten the fuel tank strap bolt (2) to 18 N·m (13 lb ft). |
- Connect the fuel feed,
return, and EVAP purge pipes (2, 3, 4) at the fuel sender. Refer to
Plastic Collar Quick Connect Fitting Service
.
- Connect the fuel pressure
sensor and the fuel sender harness connectors (2, 3) to the fuel sender (1).
- Connect the vent hose to the rollover valve at the front of the
fuel tank.
- Connect the vent hoses to the fuel limiter vent valve.
- Connect the lower fuel
fill hose (13) to the fuel tank and lower fuel fill tube (12).
Tighten
Tighten the fuel fill hose clamps (1, 2) to 2.5 N·m (22 lb in).
- Install the fuel tank
shield (2).
Tighten
Tighten the fuel tank shield bolts (3, 4) to 33 N·m (24 lb
ft).
- Lower the vehicle.
- Remove the fuel fill cap and refill the fuel tank.
- Install the fuel tank filler cap.
- Connect the negative battery cable.
- Inspect for leaks using the following procedure:
| 15.1. | Turn ON the ignition, with the engine OFF for 2 seconds. |
| 15.2. | Turn OFF the ignition for 10 seconds. |
| 15.3. | Turn ON the ignition, with the engine OFF. |
| 15.4. | Inspect for fuel leaks. |