GM Service Manual Online
For 1990-2009 cars only

Fuel Tank Filler Hose Replacement Pickup

Removal Procedure


    Object Number: 616679  Size: SH

    Caution: Unless directed otherwise, the ignition and start switch must be in the OFF or LOCK position, and all electrical loads must be OFF before servicing any electrical component. Disconnect the negative battery cable to prevent an electrical spark should a tool or equipment come in contact with an exposed electrical terminal. Failure to follow these precautions may result in personal injury and/or damage to the vehicle or its components.

  1. Disconnect the negative battery cable.
  2. Remove the fuel filler pipe. Refer to Filler Tube Replacement .
  3. Drain the fuel below the level of the fuel fill hose. Refer to Fuel Tank Draining .
  4. Wipe the vent hose connection at the fuel tank and then disconnect the vent hose and clamp (1).
  5. Wipe the fuel filler hose connection at the fuel tank and then disconnect the fuel filler hose and clamp (5).
  6. Cap the fuel tank openings in order to prevent possible fuel system contamination.

Installation Procedure


    Object Number: 616679  Size: SH
  1. Remove the caps from the fuel tank openings.
  2. Install the fuel fill and vent hoses to the fuel tank.
  3. Notice: Use the correct fastener in the correct location. Replacement fasteners must be the correct part number for that application. Fasteners requiring replacement or fasteners requiring the use of thread locking compound or sealant are identified in the service procedure. Do not use paints, lubricants, or corrosion inhibitors on fasteners or fastener joint surfaces unless specified. These coatings affect fastener torque and joint clamping force and may damage the fastener. Use the correct tightening sequence and specifications when installing fasteners in order to avoid damage to parts and systems.

  4. Tighten the hose clamps.
  5. Tighten

        • Tighten the vent hose clamp (1) to 1.7 N·m (15 lb in).
        • Tighten the fuel fill hose clamp (5) to 2.5 N·m (22 lb in).
  6. Install the fuel filler pipe. Refer to Filler Tube Replacement .
  7. Refill the fuel system.
  8. Install the fuel filler cap.
  9. Connect the negative battery cable.
  10. Inspect for leaks.

Fuel Tank Filler Hose Replacement 2-Door Utility

Removal Procedure


    Object Number: 617013  Size: SH

    Caution: Unless directed otherwise, the ignition and start switch must be in the OFF or LOCK position, and all electrical loads must be OFF before servicing any electrical component. Disconnect the negative battery cable to prevent an electrical spark should a tool or equipment come in contact with an exposed electrical terminal. Failure to follow these precautions may result in personal injury and/or damage to the vehicle or its components.

  1. Disconnect the negative battery cable.
  2. Drain the fuel below the level of the fuel fill hose. Refer to Fuel Tank Draining .
  3. Remove the fuel filler pipe. Refer to Filler Tube Replacement .
  4. Wipe the vent hose connection at the fuel tank and then disconnect the vent hose and clamp (1).
  5. Wipe the fuel filler hose connection at the fuel tank and then disconnect the fuel filler hose and clamp (2).
  6. Cap the fuel tank openings in order to prevent possible fuel system contamination.

Installation Procedure


    Object Number: 617013  Size: SH
  1. Remove the caps from the fuel tank openings.
  2. Notice: Use the correct fastener in the correct location. Replacement fasteners must be the correct part number for that application. Fasteners requiring replacement or fasteners requiring the use of thread locking compound or sealant are identified in the service procedure. Do not use paints, lubricants, or corrosion inhibitors on fasteners or fastener joint surfaces unless specified. These coatings affect fastener torque and joint clamping force and may damage the fastener. Use the correct tightening sequence and specifications when installing fasteners in order to avoid damage to parts and systems.

  3. Install the fuel fill and vent hoses to the fuel tank.
  4. Tighten

        • Tighten the vent hose clamp (1) to 1.7 N·m (15 lb in).
        • Tighten the fuel fill hose clamp (2) to 2.5 N·m (22 lb in).
  5. Install the fuel filler pipe. Refer to Filler Tube Replacement .
  6. Refill the fuel system.
  7. Install the fuel filler cap.
  8. Connect the negative battery cable.
  9. Inspect for leaks.

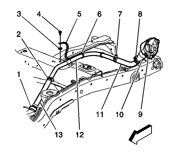
Fuel Tank Filler Hose Replacement 4-Door Utility Lower

Removal Procedure

  1. Drain the fuel tank. Refer to Fuel Tank Draining .
  2. Raise the vehicle. Refer to Lifting and Jacking the Vehicle in General information.

  3. Object Number: 748093  Size: SH
  4. Loosen the fuel fill hose clamp (1) at the fuel tank fill tube.
  5. Remove the fuel fill hose (13).

Installation Procedure


    Object Number: 748093  Size: SH

    Notice: Use the correct fastener in the correct location. Replacement fasteners must be the correct part number for that application. Fasteners requiring replacement or fasteners requiring the use of thread locking compound or sealant are identified in the service procedure. Do not use paints, lubricants, or corrosion inhibitors on fasteners or fastener joint surfaces unless specified. These coatings affect fastener torque and joint clamping force and may damage the fastener. Use the correct tightening sequence and specifications when installing fasteners in order to avoid damage to parts and systems.

  1. Install the fuel fill hose (13) to the fuel tank and fuel fill tube (12).
  2. Tighten
    Tighten the fuel fill hose clamps to 2.5 N·m (22 lb in).

  3. Lower the vehicle.
  4. Remove the fuel fill cap and refill the fuel tank.
  5. Install the fuel fill cap.

Fuel Tank Filler Hose Replacement 4-Door Utility Upper

Removal Procedure

Caution: Gasoline or gasoline vapors are highly flammable. A fire could occur if an ignition source is present. Never drain or store gasoline or diesel fuel in an open container, due to the possibility of fire or explosion. Have a dry chemical (Class B) fire extinguisher nearby.

  1. Disconnect the negative battery cable. Refer to Battery Negative Cable Disconnection and Connection in Engine Electrical.
  2. Raise the vehicle. Refer to Lifting and Jacking the Vehicle in General Information.
  3. Remove the EVAP canister bracket assembly. Refer to Evaporative Emission Canister Replacement .

  4. Object Number: 748093  Size: SH
  5. Loosen the upper fuel fill hose clamps (7, 8).
  6. Remove the ground wire retaining strap.
  7. Remove the upper fuel fill hose (11) from the upper and lower fuel fill pipes (10, 12).

Installation Procedure


    Object Number: 748093  Size: SH

    Notice: Use the correct fastener in the correct location. Replacement fasteners must be the correct part number for that application. Fasteners requiring replacement or fasteners requiring the use of thread locking compound or sealant are identified in the service procedure. Do not use paints, lubricants, or corrosion inhibitors on fasteners or fastener joint surfaces unless specified. These coatings affect fastener torque and joint clamping force and may damage the fastener. Use the correct tightening sequence and specifications when installing fasteners in order to avoid damage to parts and systems.

  1. Install the upper fuel fill hose (11) to the upper and lower fuel fill pipes (10, 12).
  2. Tighten
    Tighten the upper fuel fill hose clamps (7, 8) to 2.5 N·m (22 lb in).

  3. Install a new ground wire retaining strap.
  4. Install the EVAP canister bracket assembly. Refer to Evaporative Emission Canister Replacement .
  5. Lower the vehicle.
  6. Connect the negative battery cable. Refer to Battery Negative Cable Disconnection and Connection in Engine Electrical.