GM Service Manual Online
For 1990-2009 cars only

Tools Required

J 36202 Torsion Bar Loading/Unloading Tool

Removal Procedure

    Notice: Use care when handling the torsion bars in order to avoid chipping or scratching the coating. Damage to the coating will result in premature failure of the torsion bars.

  1. Raise and support the vehicle. Refer to Lifting and Jacking the Vehicle in General Information.
  2. Mark the adjuster bolt.
  3. Install J 36202 to the adjustment arm and the crossmember.

  4. Object Number: 197534  Size: SH
  5. Inscrease the tension on the adjustment arm until the load is removed from the adjuster bolt.
  6. Important: To aid in assembly, record the number of turns the tool makes when removing the adjuster bolt.

  7. Remove the the adjuster bolt and adjuster nut.
  8. Remove J 36202 from the adjustment arm, allowing the torsion bar to unload.
  9. Remove the adjustment arm by sliding the torsion bar forward until the torsion bar clears the adjustment arm.

  10. Object Number: 1995  Size: SH
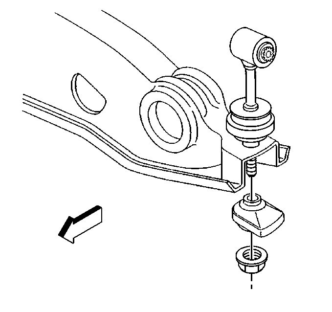
  11. Remove the torsion bar support link upper mounting nuts.
  12. Remove the torsion bar support link upper mounting bolts.
  13. Remove the torsion bar support from the frame.

  14. Object Number: 1997  Size: SH
  15. Remove the torsion bars. Note the exact direction of the forward end and the side of the torsion bar that is being removed.

  16. Object Number: 223401  Size: SH
  17. Remove the torsion bar links lower retaining nuts.
  18. Remove the torsion bar links from the torsion bar support.

Installation Procedure


    Object Number: 223401  Size: SH
  1. Install the torsion bar links to the torsion bar support.
  2. Notice: Use the correct fastener in the correct location. Replacement fasteners must be the correct part number for that application. Fasteners requiring replacement or fasteners requiring the use of thread locking compound or sealant are identified in the service procedure. Do not use paints, lubricants, or corrosion inhibitors on fasteners or fastener joint surfaces unless specified. These coatings affect fastener torque and joint clamping force and may damage the fastener. Use the correct tightening sequence and specifications when installing fasteners in order to avoid damage to parts and systems.

  3. Install the torsion bar links lower retaining nuts.
  4. Tighten
    Tighten the torsion bar links lower retaining nuts to 50 N·m (37 lb ft).


    Object Number: 1997  Size: SH
  5. Install the torsion bars in relation to where the bars were removed.
  6. Install the torsion bar support to the frame.

  7. Object Number: 1999  Size: SH
  8. Install the torsion bar support link upper mounting bolts to the frame.
  9. Install the torsion bar support link upper mounting nuts.
  10. Tighten
    Tighten the torsion bar support link upper mounting nuts to 65 N·m (48 lb ft).


    Object Number: 197534  Size: SH
  11. Install the adjustment arm to the torsion bar support and slide the torsion bar rearward until the torsion bar fully engages the adjustment arm.
  12. Install J 36202 to the adjustment arm and the crossmember.
  13. Increase the tension on the adjustment arm in order to load the torsion bar.
  14. Important: Tighten the adjuster bolt the same amount of turns that were required to remove the adjuster bolt during removal.

  15. Install the adjuster bolt and adjuster nut
  16. Remove J 36202 from the adjustment arm and crossmember.
  17. Lower the vehicle.
  18. Check the wheel alignment. Refer to Wheel Alignment Specifications in Wheel Alignment.