GM Service Manual Online
For 1990-2009 cars only

Upper Control Arm Ball Joint Replacement RWD

Tools Required

J 23742 Ball Joint Separator

Removal Procedure


    Object Number: 160827  Size: SH

    Caution: Floor jack must remain under the lower control arm during removal and installation to retain the lower control arm in position. Failure to do so could result in personal injury.

  1. Raise and suitably support lower control arm with safety stands. Refer to Lifting and Jacking the Vehicle in General Information.
  2. Because the weight of the vehicle is used to relieve spring tension on the upper control arm, position the floor stands between the spring seats and the ball joints of the lower control arms.
  3. Remove the tire and wheel assembly. Refer to Tire and Wheel Removal and Installation in Tires and Wheels.
  4. Notice: Support the caliper with a piece of wire to prevent damage to the brake line.

  5. Remove the brake caliper. Refer to Front Brake Caliper Replacement in Disc Brakes.
  6. Remove the cotter pin.
  7. Remove wheel speed sensor electrical connector from upper control arm.
  8. Disconnect wheel speed sensor electrical connector.
  9. Remove the upper ball joint stud nut.

  10. Object Number: 130902  Size: SH
  11. Separate the ball joint from the steering knuckle using J 23742 .
  12. Apply pressure on the tool until the stud breaks loose.
  13. Remove theJ 23742 .
  14. Pull the ball joint stud away from the steering knuckle.

  15. Object Number: 1832  Size: SH
  16. Remove the rivets from the upper ball joint.
  17. Use a 3.175 mm (1/8 in) drill in order to cut a 6.35 mm (1/4 in) deep hole in the center of each rivet.

  18. Object Number: 1833  Size: SH
  19. Drill away the rivet heads. Use a 12.7 mm (1/2 in) drill.

  20. Object Number: 1834  Size: SH
  21. Punch the rivets out. Use a small pin punch.

  22. Object Number: 1835  Size: SH
  23. Remove the upper ball joint.

Installation Procedure


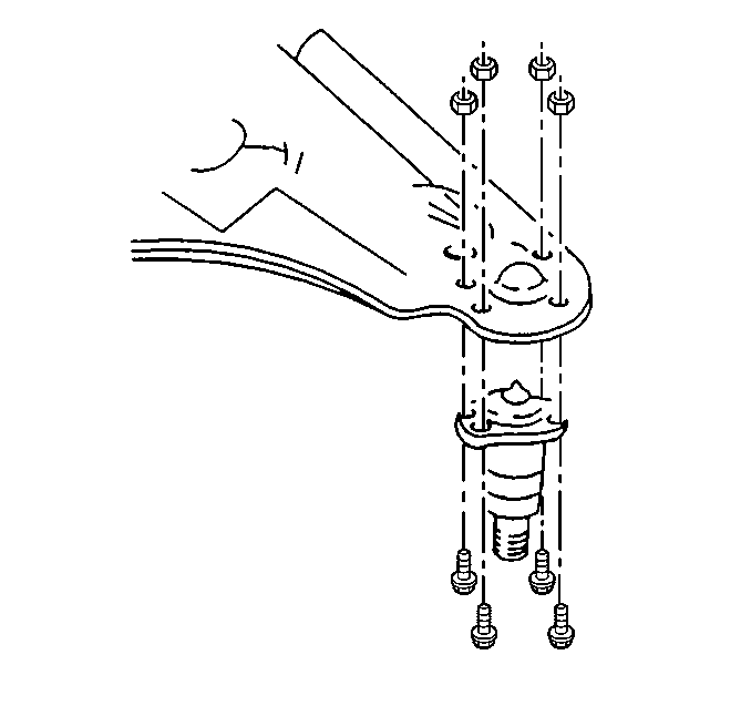
    Object Number: 1836  Size: SH
  1. Install a new upper ball joint to the upper control arm.
  2. Notice: Use the correct fastener in the correct location. Replacement fasteners must be the correct part number for that application. Fasteners requiring replacement or fasteners requiring the use of thread locking compound or sealant are identified in the service procedure. Do not use paints, lubricants, or corrosion inhibitors on fasteners or fastener joint surfaces unless specified. These coatings affect fastener torque and joint clamping force and may damage the fastener. Use the correct tightening sequence and specifications when installing fasteners in order to avoid damage to parts and systems.

  3. Install the upper ball joint retaining bolts and nuts.
  4. Tighten
    Tighten the upper ball joint retaining nuts to 23 N·m (17 lb ft).


    Object Number: 1839  Size: SH
  5. Install the upper ball joint to the steering knuckle.
  6. Install the upper ball joint stud nut.
  7. Tighten

        • Tighten the upper ball joint stud nut to 83 N·m (61 lb ft).
        • Tighten the stud nut in order to align the slot in the stud nut with the hole in the stud.
  8. Install a new cotter pin.
  9. Install the grease fittings.
  10. Lubricate the upper ball joint.
  11. Connect the wheel speed sensor electrical connector.
  12. Install the wheel speed sensor electrical connector to the upper control arm.
  13. Install the brake caliper. Refer to Front Brake Caliper Replacement in Disc Brakes.
  14. Install the tire and wheel assembly. Refer to Tire and Wheel Removal and Installation in Tires and Wheels.
  15. Lower the vehicle.
  16. Check the front wheel alignment. Refer to Wheel Alignment Measurement in Wheel Alignment.

Upper Control Arm Ball Joint Replacement 4WD

Removal Procedure


    Object Number: 3661  Size: SH
  1. Raise and suitably support the vehicle with safety stands. Refer to Lifting and Jacking the Vehicle in General Information.
  2. Remove the tire and wheel. Refer to Tire and Wheel Removal and Installation in Tires and Wheels.
  3. Unload the torsion bar. Refer to Torsion Bar and Support Assembly Replacement .
  4. Remove the wheel speed sensor wiring harness bracket and brake hose bracket mounting bolt and nut from the upper control arm.
  5. Disconnect the wheel speed sensor wiring harness bracket and brake hose bracket from the upper control arm.

  6. Object Number: 1949  Size: SH
  7. Remove the cotter pin from the upper ball joint retaining nut.
  8. Remove the upper ball joint retaining nut.
  9. Using a pry bar, placed under the upper control arm and on top of the frame, pry upward.
  10. With the aid of a helper, carefully hammer on the steering knuckle in the area of the upper ball joint stud in order to release the stud from the steering knuckle.
  11. Disconnect the upper ball joint from the steering knuckle.
  12. 10.1. Place a block under the upper control arm to keep the control arm and the steering knuckle out of the way.
    10.2. Suspend the steering knuckle to prevent straining the brake line.

    Object Number: 1832  Size: SH
  13. Remove the rivets from the upper ball joint.
  14. Use a 3.175 mm (1/8 in) drill to cut a 6.35 mm (1/4 in) deep hole in the center of each rivet.


    Object Number: 1833  Size: SH
  15. Drill the rivet heads away using a 12.7 mm (1/2 in) drill.

  16. Object Number: 1834  Size: SH
  17. Remove the rivets using a pin punch.
  18. Remove the upper ball joint.

Installation Procedure


    Object Number: 177415  Size: SH
  1. Install the upper ball joint to the upper control arm.
  2. Notice: Refer to Fastener Notice in the Preface section.

  3. Install the upper ball joint retaining bolts and the nuts.
  4. Tighten
    Tighten the upper ball joint retaining nuts to 23 N·m (17 lb ft).


    Object Number: 1986  Size: SH
  5. Re-install the upper ball joint to the steering knuckle.
  6. Install the upper ball joint to steering knuckle retaining nut.
  7. Tighten

        • Tighten the upper ball joint to steering knuckle retaining nut to 83 N·m (61 lb ft).
        • Tighten the upper ball joint to steering knuckle retaining nut in order to align for the cotter pin. Do not tighten the nut more than 1/6 turn.
  8. Install the new cotter pin to the upper ball joint stud. Bend the pin ends against the nut.

  9. Object Number: 3661  Size: SH
  10. Connect the wheel speed sensor wiring harness bracket and brake hose bracket to the upper control arm.
  11. Install the wheel speed sensor wiring harness bracket and brake hose bracket mounting bolt and nut.
  12. Tighten
    Tighten the wheel speed sensor bracket and brake hose bracket mounting nut to 24 N·m (18 lb ft).

  13. Load the torsion bar. Refer to Torsion Bar and Support Assembly Replacement .
  14. Install the tire and the wheel. Refer to Tire and Wheel Removal and Installation in Tires and Wheels.
  15. Lower the vehicle.
  16. Inspect the front wheel alignment. Refer to Wheel Alignment Specifications in Wheel Alignment.