GM Service Manual Online
For 1990-2009 cars only

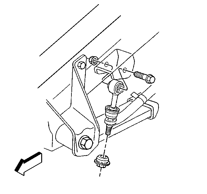
Stabilizer Shaft Replacement RWD

Removal Procedure


    Object Number: 3273  Size: SH
  1. Raise and suitably support the vehicle. Refer to Lifting and Jacking the Vehicle in General Information.
  2. Remove the following parts from the stabilizer links:
  3. • The lower nuts
    • The washers
    • The bolts

    Object Number: 3263  Size: SH
  4. Remove the nuts from the U-bolts.
  5. Remove the following part:
  6. • The U-bolts
    • The clamps
    • The insulators
  7. Remove the stabilizer shaft.

Installation Procedure


    Object Number: 3263  Size: SH
  1. Install the stabilizer shaft to the rear axle.
  2. Install the following parts:
  3. • The insulators
    • The clamps
    • The U-bolts

    Notice: Use the correct fastener in the correct location. Replacement fasteners must be the correct part number for that application. Fasteners requiring replacement or fasteners requiring the use of thread locking compound or sealant are identified in the service procedure. Do not use paints, lubricants, or corrosion inhibitors on fasteners or fastener joint surfaces unless specified. These coatings affect fastener torque and joint clamping force and may damage the fastener. Use the correct tightening sequence and specifications when installing fasteners in order to avoid damage to parts and systems.

  4. Install the nuts to the U-bolts.
  5. Tighten
    Tighten the nuts to 60 N·m (44 lb ft).

  6. Install the stabilizer shaft to the link mounting bolt.

  7. Object Number: 3273  Size: SH
  8. Install the stabilizer shaft to the link nut.
  9. Tighten
    Tighten the upper link nut to 35 N·m (25 lb ft).

  10. Lower the vehicle.

Stabilizer Shaft Replacement A4WD

Removal Procedure

  1. Raise and suitably support the vehicle. Refer to Lifting and Jacking the Vehicle in General Information.

  2. Object Number: 130879  Size: SH
  3. Remove the following parts from the stabilizer links:
  4. • The lower nuts
    • The washers
    • The bolts
  5. Remove the nuts from the U-bolts.
  6. Remove the following parts:
  7. • The U-bolts
    • The clamps
    • The insulators

    Object Number: 217833  Size: SH
  8. Remove the stabilizer shaft.

Installation Procedure


    Object Number: 217833  Size: SH
  1. Install the stabilizer shaft to the rear axle.
  2. Install the following parts:
  3. • The insulators
    • The clamps
    • The U-bolts

    Notice: Use the correct fastener in the correct location. Replacement fasteners must be the correct part number for that application. Fasteners requiring replacement or fasteners requiring the use of thread locking compound or sealant are identified in the service procedure. Do not use paints, lubricants, or corrosion inhibitors on fasteners or fastener joint surfaces unless specified. These coatings affect fastener torque and joint clamping force and may damage the fastener. Use the correct tightening sequence and specifications when installing fasteners in order to avoid damage to parts and systems.

  4. Install the nuts to the U-bolts.
  5. Tighten
    Tighten the stabilizer clamp U-bolt nuts to 60 N·m (44 lb ft).


    Object Number: 130879  Size: SH
  6. Install the stabilizer shaft to the link mounting bolt.
  7. Install the stabilizer shaft to the link nut.
  8. Tighten
    Tighten the upper link nut to 35 N·m (25 lb ft).

  9. Lower the vehicle.

Stabilizer Shaft Replacement 2-Door Utility

Removal Procedure


    Object Number: 201748  Size: SH
  1. Raise and suitably support the vehicle. Refer to Lifting and Jacking the Vehicle in General Information.
  2. Remove the following parts from the stabilizer links:
  3. • The lower nuts
    • The washers
    • The bolts

    Object Number: 3263  Size: SH
  4. Remove the nuts from the U-bolts.
  5. Remove the following parts:
  6. • The U-bolts
    • The clamps
    • The insulators
  7. Remove the stabilizer shaft.

Installation Procedure


    Object Number: 3263  Size: SH
  1. Install the stabilizer shaft to the rear axle.
  2. Install the following parts:
  3. • The insulators
    • The clamps
    • The U-bolts

    Notice: Use the correct fastener in the correct location. Replacement fasteners must be the correct part number for that application. Fasteners requiring replacement or fasteners requiring the use of thread locking compound or sealant are identified in the service procedure. Do not use paints, lubricants, or corrosion inhibitors on fasteners or fastener joint surfaces unless specified. These coatings affect fastener torque and joint clamping force and may damage the fastener. Use the correct tightening sequence and specifications when installing fasteners in order to avoid damage to parts and systems.

  4. Install the nuts to the U-bolts.
  5. Tighten
    Tighten the nuts to 60 N·m (44 lb ft).


    Object Number: 201748  Size: SH
  6. Install the stabilizer shaft to the link mounting bolt.
  7. Install the stabilizer shaft to the link nut.
  8. Tighten
    Tighten the upper link nut to 35 N·m (25 lb ft).

  9. Lower the vehicle.

Stabilizer Shaft Replacement 4-Door Utility

Removal Procedure

  1. Raise and support the vehicle. Refer to Lifting and Jacking the Vehicle in General Information.

  2. Object Number: 3273  Size: SH
  3. Remove the stabilizer shaft links lower retaining bolts and nuts.

  4. Object Number: 217833  Size: SH
  5. Remove the stabilizer shaft bracket mounting nuts from the U-bolts.
  6. Remove the stabilizer shaft brackets.
  7. Remove the stabilizer shaft.
  8. Remove the stabilizer shaft insulators.

Installation Procedure


    Object Number: 217833  Size: SH
  1. Install the stabilizer shaft insulators.
  2. Install the stabilizer shaft to the rear axle.
  3. Install the stabilizer shaft brackets.
  4. Notice: Use the correct fastener in the correct location. Replacement fasteners must be the correct part number for that application. Fasteners requiring replacement or fasteners requiring the use of thread locking compound or sealant are identified in the service procedure. Do not use paints, lubricants, or corrosion inhibitors on fasteners or fastener joint surfaces unless specified. These coatings affect fastener torque and joint clamping force and may damage the fastener. Use the correct tightening sequence and specifications when installing fasteners in order to avoid damage to parts and systems.

  5. Install the stabilizer shaft bracket mounting nuts to the U-bolts.
  6. Tighten
    Tighten the stabilizer shaft bracket mounting nuts to 60 N·m (44 lb ft).


    Object Number: 3273  Size: SH
  7. Install the stabilizer shaft to the link retaining bolt.
  8. Install the stabilizer shaft link retaining nut.
  9. Tighten
    Tighten the stabilizer shaft link retaining nut to 68 N·m (50 lb ft).

  10. Lower the vehicle.