GM Service Manual Online
For 1990-2009 cars only

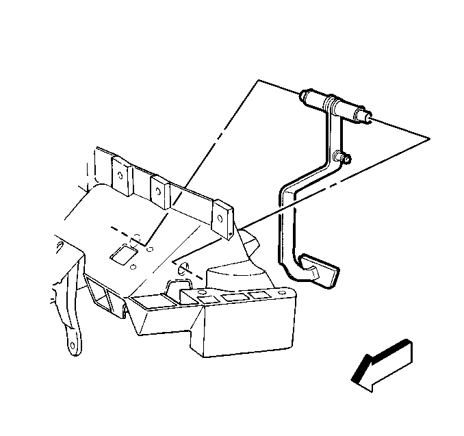
Removal Procedure


    Object Number: 416716  Size: SH
  1. Remove the master cylinder rod from the clutch pedal.

  2. Object Number: 449283  Size: SH
  3. Remove the clutch pedal from the support by depressing the side tabs.

Installation Procedure


    Object Number: 449283  Size: SH
  1. Position the clutch pedal into the support.

  2. Object Number: 416716  Size: SH
  3. Secure the master cylinder rod to the clutch pedal.