GM Service Manual Online
For 1990-2009 cars only

Exhaust Muffler Replacement 2.2L

Removal Procedure

Caution: Always wear protective goggles and gloves when removing exhaust parts as falling rust and sharp edges from worn exhaust components could result in serious personal injury.

  1. Raise and support the vehicle. Refer to Lifting and Jacking the Vehicle in General Information.

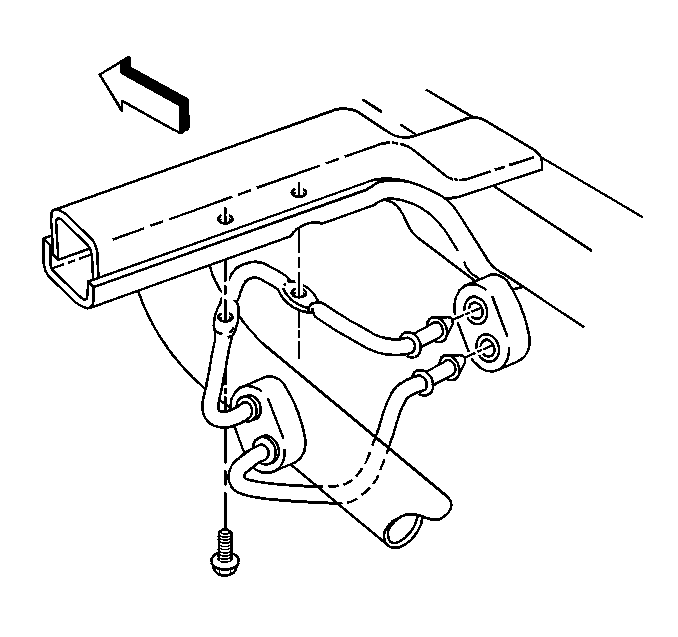
  2. Object Number: 535790  Size: SH
  3. Remove the catalytic converter to muffler flange nuts.

  4. Object Number: 364938  Size: SH
  5. Remove the insulator from the tail pipe hanger.

  6. Object Number: 364939  Size: SH
  7. Remove the insulator from the muffler and the tail pipe hanger.
  8. Remove the muffler and gasket from the vehicle.

Installation Procedure


    Object Number: 364939  Size: SH
  1. Install a new gasket and the muffler to the vehicle.
  2. Install the insulator to the muffler and tail pipe hanger.

  3. Object Number: 364938  Size: SH
  4. Install the insulator to the tail pipe hanger.

  5. Object Number: 535790  Size: SH

    Notice: Use the correct fastener in the correct location. Replacement fasteners must be the correct part number for that application. Fasteners requiring replacement or fasteners requiring the use of thread locking compound or sealant are identified in the service procedure. Do not use paints, lubricants, or corrosion inhibitors on fasteners or fastener joint surfaces unless specified. These coatings affect fastener torque and joint clamping force and may damage the fastener. Use the correct tightening sequence and specifications when installing fasteners in order to avoid damage to parts and systems.

  6. Install the catalytic converter to muffler flange nuts.
  7. Tighten
    Tighten the catalytic converter to muffler flange nuts to 40 N·m (30 lb ft).

  8. Lower the vehicle.

Exhaust Muffler Replacement 4.3L Pickup

Removal Procedure

Caution: Always wear protective goggles and gloves when removing exhaust parts as falling rust and sharp edges from worn exhaust components could result in serious personal injury.

  1. Raise and support the vehicle. Refer to Lifting and Jacking the Vehicle in General Information.

  2. Object Number: 535790  Size: SH
  3. Remove the catalytic converter to muffler flange nuts.

  4. Object Number: 364938  Size: SH
  5. Remove the insulator from the tail pipe hanger.

  6. Object Number: 42959  Size: SH
  7. Remove the insulator from the muffler and the tail pipe hanger.
  8. Remove the muffler and gasket from the vehicle.

Installation Procedure


    Object Number: 42959  Size: SH
  1. Install a new gasket and the muffler to the vehicle.
  2. Install the insulator to the muffler and the tail pipe hanger.

  3. Object Number: 364938  Size: SH
  4. Install the insulator to the tail pipe hanger.

  5. Object Number: 535790  Size: SH

    Notice: Use the correct fastener in the correct location. Replacement fasteners must be the correct part number for that application. Fasteners requiring replacement or fasteners requiring the use of thread locking compound or sealant are identified in the service procedure. Do not use paints, lubricants, or corrosion inhibitors on fasteners or fastener joint surfaces unless specified. These coatings affect fastener torque and joint clamping force and may damage the fastener. Use the correct tightening sequence and specifications when installing fasteners in order to avoid damage to parts and systems.

  6. Install the catalytic converter to muffler flange nuts.
  7. Tighten
    Tighten the catalytic converter to muffler flange nuts to 40 N·m (30 lb ft).

  8. Lower the vehicle.

Exhaust Muffler Replacement 4.3L Utility

Removal Procedure

Caution: Always wear protective goggles and gloves when removing exhaust parts as falling rust and sharp edges from worn exhaust components could result in serious personal injury.

  1. Raise and support the vehicle. Refer to Lifting and Jacking the Vehicle in General Information.

  2. Object Number: 535780  Size: SH
  3. Remove the catalytic converter to muffler flange nuts.

  4. Object Number: 42968  Size: SH
  5. Remove the insulator from the tail pipe hanger.

  6. Object Number: 42957  Size: SH
  7. Remove the insulators from the muffler hanger (4-door utilities).

  8. Object Number: 42960  Size: SH
  9. Remove the insulator from the muffler and the tail pipe hanger.
  10. Remove the muffler and the gasket from the vehicle.

Installation Procedure


    Object Number: 42960  Size: SH
  1. Install a new gasket and the muffler to the vehicle.
  2. Install the insulator to the muffler and tail pipe hanger.

  3. Object Number: 42957  Size: SH
  4. Install the insulators to the muffler hanger (4-door utilities).

  5. Object Number: 42968  Size: SH
  6. Install the insulator to the tail pipe hanger.

  7. Object Number: 535780  Size: SH

    Notice: Use the correct fastener in the correct location. Replacement fasteners must be the correct part number for that application. Fasteners requiring replacement or fasteners requiring the use of thread locking compound or sealant are identified in the service procedure. Do not use paints, lubricants, or corrosion inhibitors on fasteners or fastener joint surfaces unless specified. These coatings affect fastener torque and joint clamping force and may damage the fastener. Use the correct tightening sequence and specifications when installing fasteners in order to avoid damage to parts and systems.

  8. Install to catalytic converter to the muffler flange nuts.
  9. Tighten
    Tighten the catalytic converter to muffler flange nuts to 40 N·m (30 lb ft).

  10. Lower the vehicle.