|
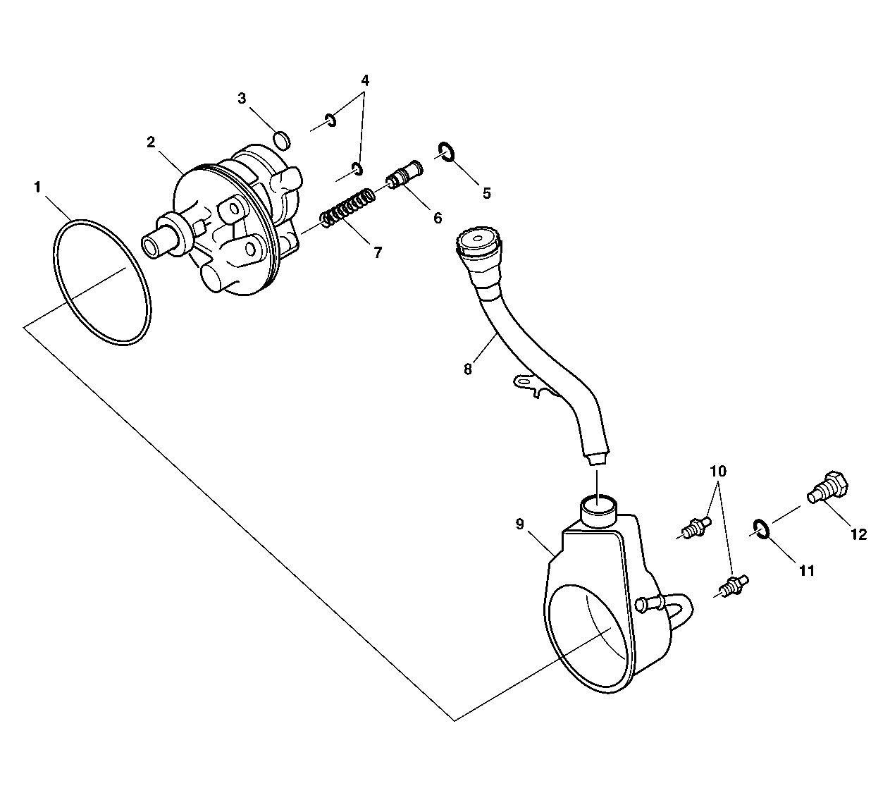
| (1) | Hydraulic Pump Reservoir |
| (2) | Reservoir Capstick Assembly |
| (3) | O-Ring Seal |
| (4) | Flow Control Spring |
| (5) | Control Valve
Assembly |
| (6) | O-Ring Seal |
| (7) | Connector and Fitting Assembly |
| (8) | Hydraulic
Pump Housing Assembly |
| (9) | Reservoir Retaining Clip (RH) |
| (10) | Reservoir Retaining Clip
(LH) |