GM Service Manual Online
For 1990-2009 cars only

Instrument Panel Courtesy Lamp Bulb Replacement Lower

Removal Procedure


    Object Number: 599296  Size: SH
  1. Remove the closeout/insulator panel. Refer to Instrument Panel Insulator Panel Replacement - Right Side or Instrument Panel Insulator Panel Replacement - Left Side in Instrument Panel, Gages and Console.
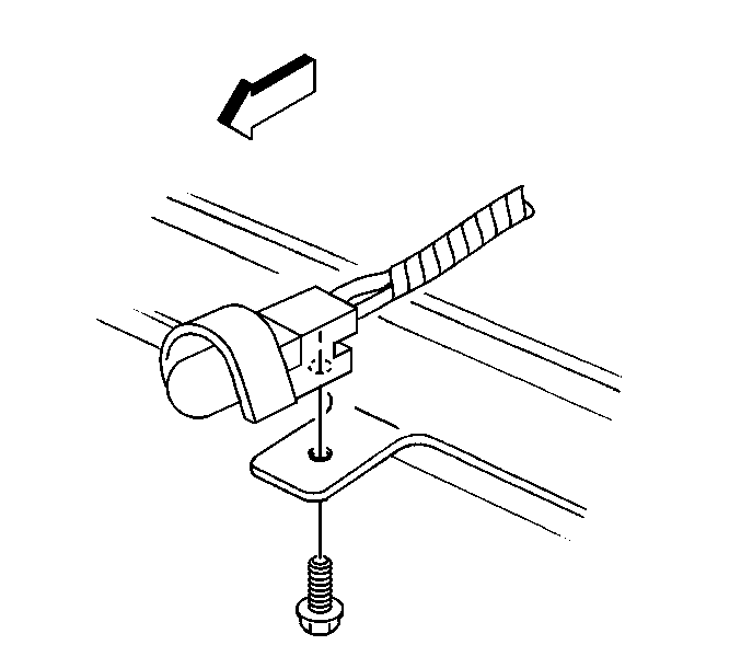
  2. Remove the screw that retains the courtesy lamp socket.
  3. Remove the lamp from the socket.

Installation Procedure


    Object Number: 599296  Size: SH
  1. Install the lamp to the socket.
  2. Install the courtesy lamp socket.
  3. Notice: Use the correct fastener in the correct location. Replacement fasteners must be the correct part number for that application. Fasteners requiring replacement or fasteners requiring the use of thread locking compound or sealant are identified in the service procedure. Do not use paints, lubricants, or corrosion inhibitors on fasteners or fastener joint surfaces unless specified. These coatings affect fastener torque and joint clamping force and may damage the fastener. Use the correct tightening sequence and specifications when installing fasteners in order to avoid damage to parts and systems.

  4. Install the courtesy lamp socket screw.
  5. Tighten
    Tighten the socket retaining screw to 1.4 N·m (12 lb in).

  6. Install the insulator panel. Refer to Instrument Panel Insulator Panel Replacement - Right Side or Instrument Panel Insulator Panel Replacement - Left Side in Instrument Panel, Gages and Console.