GM Service Manual Online
For 1990-2009 cars only
Makes
🢒
Chevrolet
🢒
2001
🢒
Blazer - 2WD
🢒
Body and Accessories
🢒
Wipers/Washer Systems
🢒 Wiper/Washer Component Views
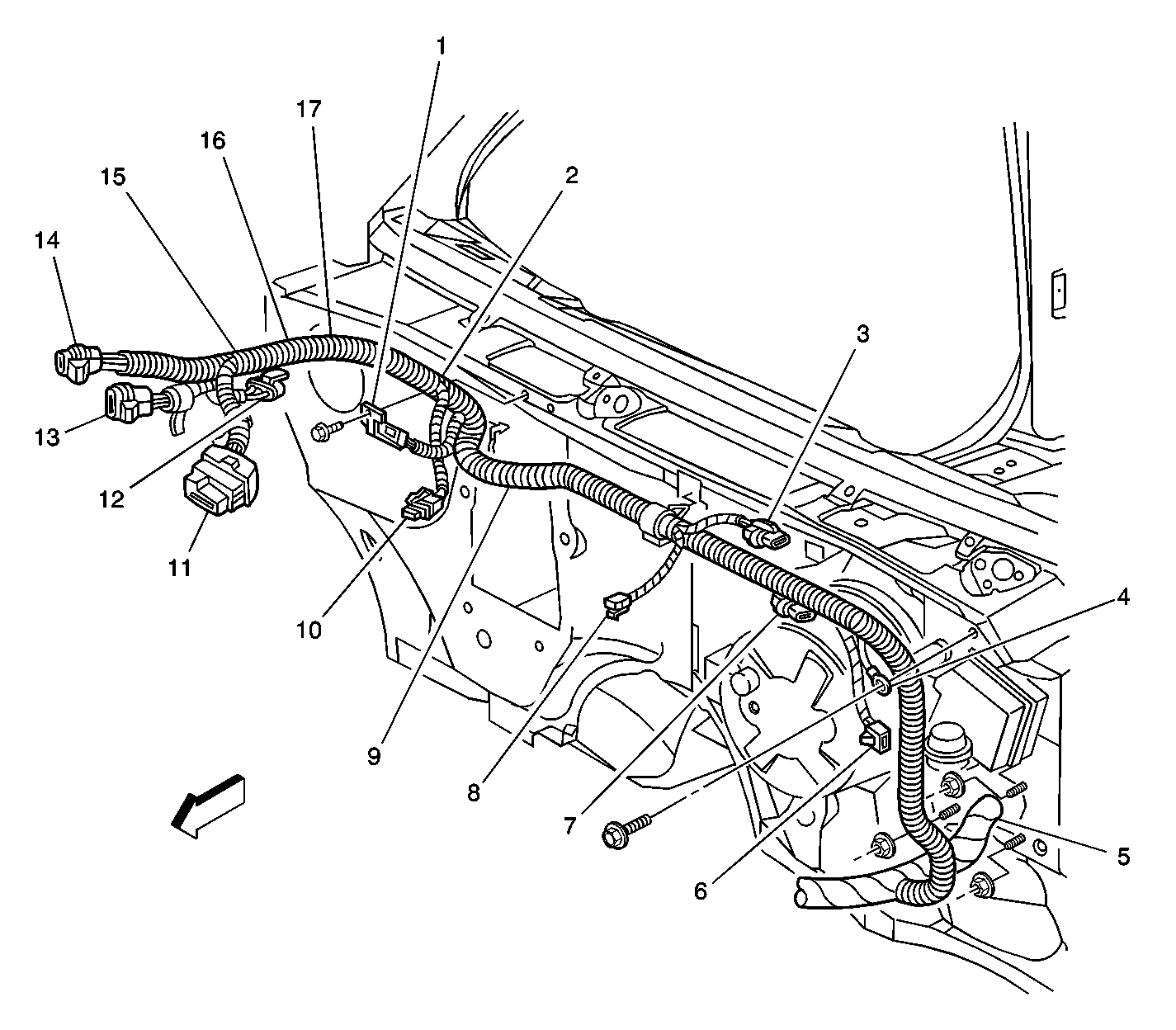
Figure
1:
Body Harness to Cowl
(1)
Blower Motor Relay Connector
(2)
Body Harness
(3)
Windshield Wiper Motor Connector
(4)
G117
(5)
P100
(6)
Cruise Control Module (CCM) Connector
(7)
Underhood Lamp Connector
(8)
Front Axle Vacuum Solenoid Connector
(9)
S138
(10)
Blower Motor Resistor Connector
(11)
Not Used
(12)
Blower Motor Connector (C42/C60), Blower Motor Control Module (C68)
(13)
C101 (2.2 L)
(14)
C101 (4.3 L)
(15)
S121
(16)
S113
(17)
S118
Figure
2:
Body Wiring Harness, Left Underhood
(1)
Electronic Brake Control Module (EBCM)
(2)
Fuse Block - Underhood
(3)
Fender, LF
(4)
Rear Window Washer Fluid Pump
(5)
Windshield Washer Fluid Pump
Figure
3:
Endgate Harness Routing Views
(1)
Window Wiper Motor Controller - Rear and Connector
(2)
Rear Window Wiper Cutout and Liftglass Ajar Jamb Switch
(3)
P900
(4)
Endgate Harness
(5)
Liftglass Release Actuator
(6)
Endgate Lock Cylinder Switch
(7)
Endgate
Figure
4:
Liftgate Window Wiper, LH
(1)
Liftglass Ajar Switch Connector
(2)
Door Lock Actuator - Liftgate Connector
(3)
Liftgate Window Release Actuator Connector
Figure
5:
Liftgate Wiper Washer, RH
(1)
Liftgate
(2)
Window Wiper Motor - Rear Connector
(3)
Rear Window Wiper Cutout and Liftglass Ajar Jamb Switch Connector
(4)
Door Lock Actuator - Liftgate Connector
(5)
Window Washer Nozzle Hose - Rear
(6)
Door Lock Actuator - Liftgate Connector
(7)
Rear Window Wiper Cutout and Liftglass Ajar Jamb Switch Connector
(8)
Bracket
(9)
Liftgate Harness