GM Service Manual Online
For 1990-2009 cars only

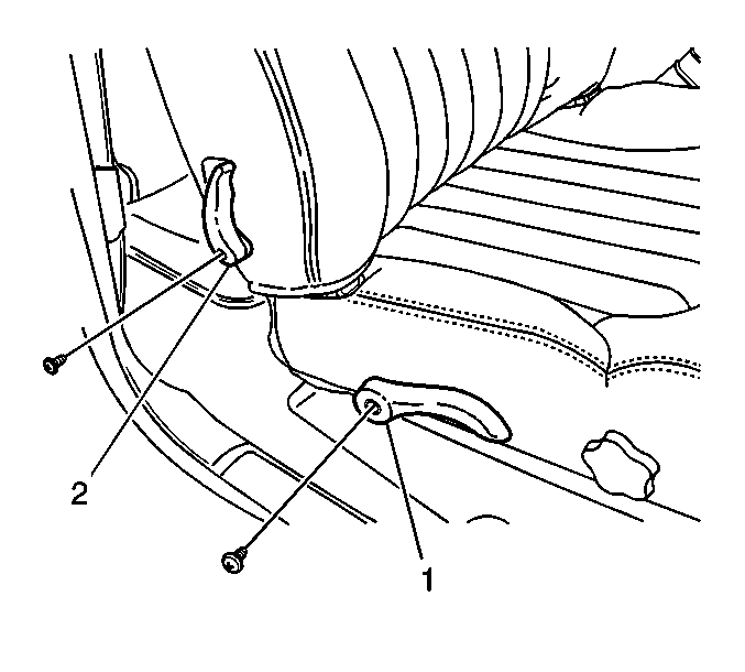
Removal Procedure


    Object Number: 696967  Size: SH
  1. Remove handle retaining screw.
  2. Remove the release handle (2) from the seat back.

Installation Procedure


    Object Number: 696967  Size: SH
  1. Install the release handle (2) to the seat back.
  2. Notice: Use the correct fastener in the correct location. Replacement fasteners must be the correct part number for that application. Fasteners requiring replacement or fasteners requiring the use of thread locking compound or sealant are identified in the service procedure. Do not use paints, lubricants, or corrosion inhibitors on fasteners or fastener joint surfaces unless specified. These coatings affect fastener torque and joint clamping force and may damage the fastener. Use the correct tightening sequence and specifications when installing fasteners in order to avoid damage to parts and systems.

  3. Install the retaining screw to secure the handle.
  4. Tighten
    Tighten the handle retaining screw to 1.5 N·m (14 lb in).