GM Service Manual Online
For 1990-2009 cars only
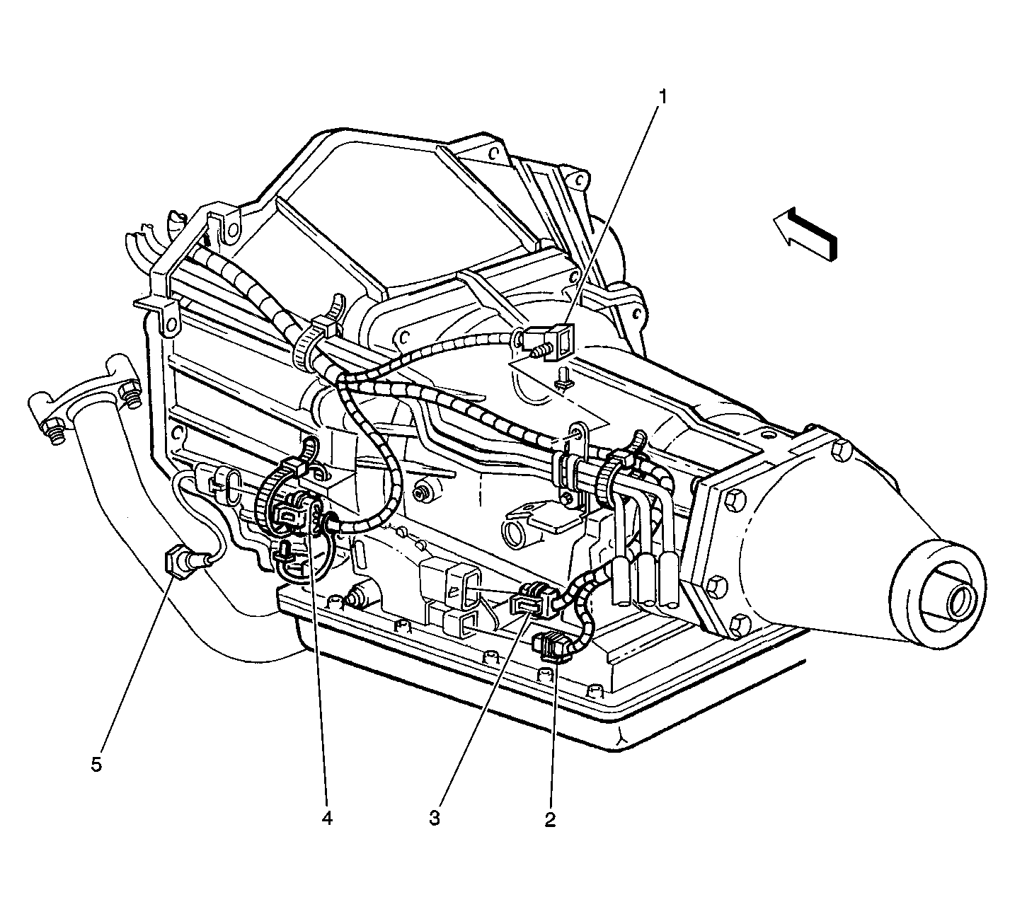
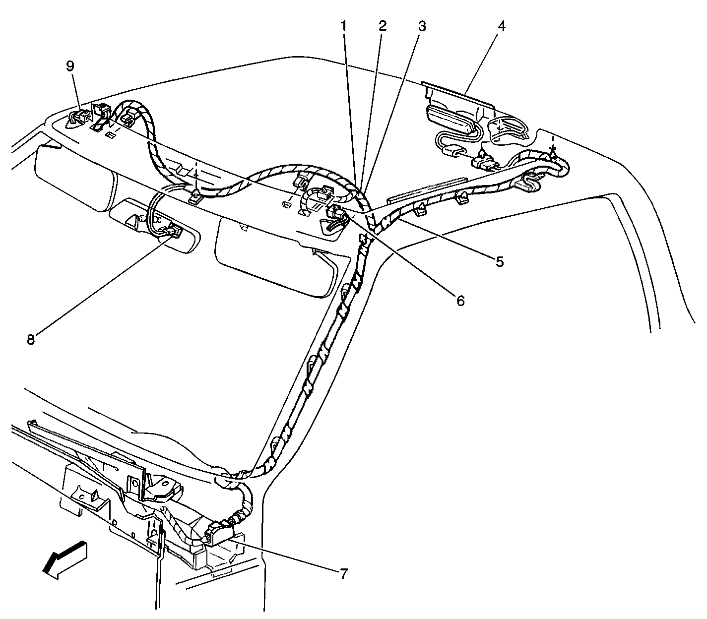
Figure 1:

Forward Lamps Harness


Object Number: 609181  Size: LF
(1)G108
(2)G101
(3)Forward Lamps Harness
(4)Splice Pack SP101
(5)G100 (California Emissions Only)
(6)G112 and G113 (Envoy)
(7)G111 and G109 (Envoy)
(8)Forward Lamps Harness
(9)Radiator Support, LH
(10)Splice Pack SP100
(11)G110
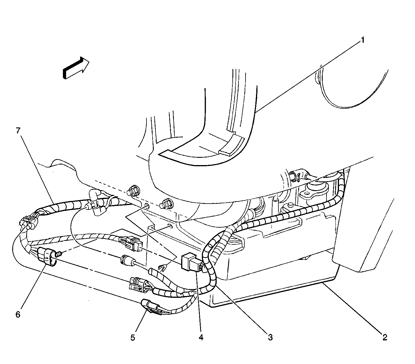
Figure 2:

Battery Fuse and Secondary Air Injection (AIR) Jumper Harness


Object Number: 612447  Size: LF
(1)Radiator Support, RH
(2)Secondary Air Injector (AIR) Jumper Harness
(3)Battery Fuse
(4)Fuse Holder
(5)G100
(6)G112
(7)S153
(8)Battery Positive Cable
Figure 3:

Secondary Air Injection(AIR) Fuse Block


Object Number: 401623  Size: MF
(1)C117
(2)Splice S105
(3)Secondary Air Injection (AIR) Fuse Block
(4)Secondary Air Injection (AIR) Jumper Harness
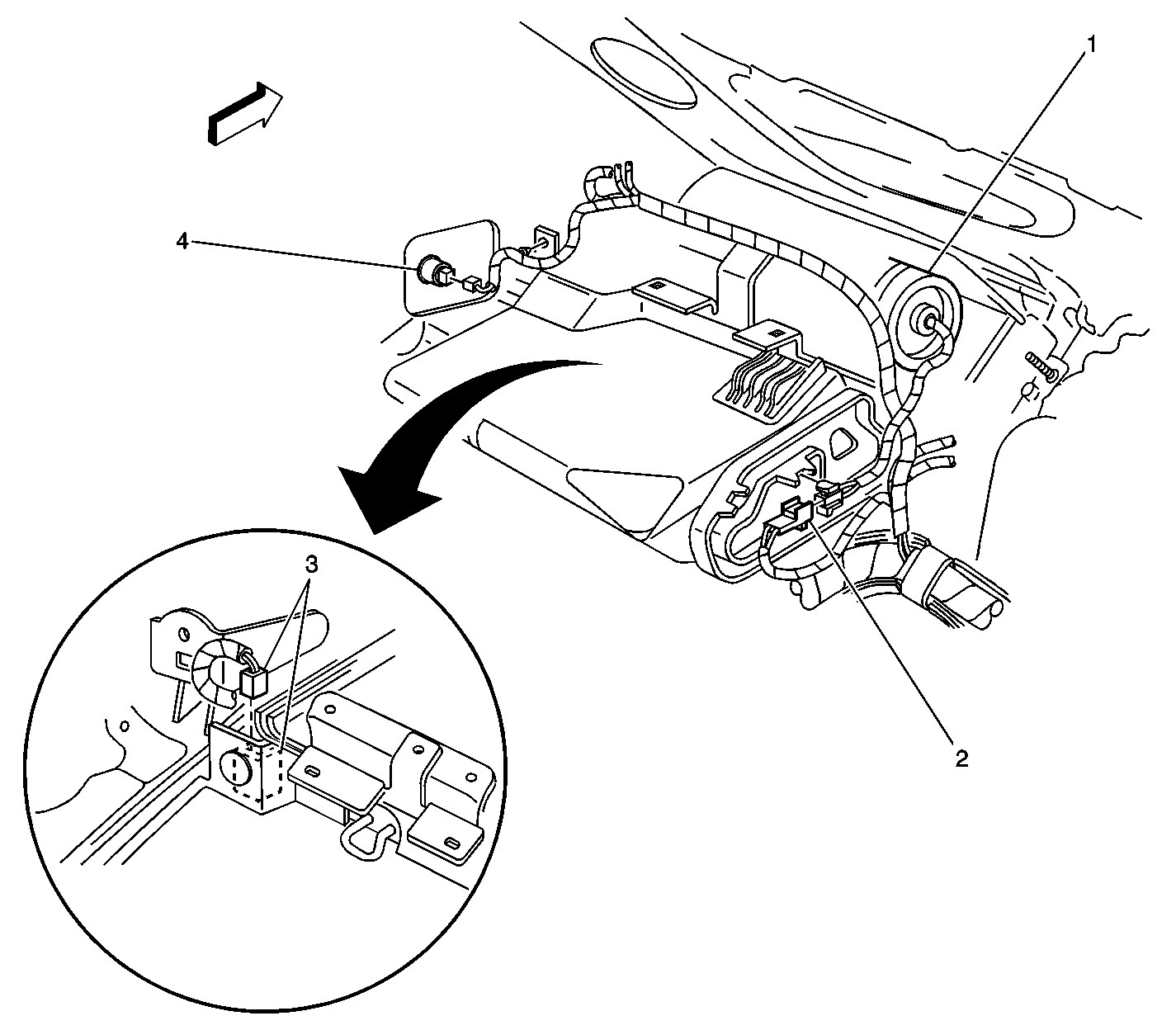
Figure 4:

Engine Compartment Details


Object Number: 354580  Size: MF
(1)Radiator Support, LH
(2)Fender, RF
(3)C117 (2.2 L Engine)
(4)C101
(5)G111
Figure 5:

Inline Connector C106


Object Number: 614433  Size: LF
(1)Fender, LF
(2)C106
(3)Horn - Left
(4)Repeater Lamp - Left (Export Only)
(5)Fuse Block - Underhood Connector C4 (GRN)
Figure 6:

Front Frame Grounds


Object Number: 354759  Size: LF
(1)Wheel Speed Sensor (WSS) - LF
(2)Inflatable Restraint Front End Discriminating Sensor - Left
(3)Inflatable Restraint Front End Discriminating Sensor - Right
(4)G106
(5)G118
(6)Wheel Speed Sensor (WSS) - RF
Figure 7:

A/C Accumulator (4.3L)


Object Number: 614435  Size: LF
(1)A/C Low Pressure Switch
(2)A/C Accumulator
(3)High Side Service Port
(4)C100
(5)Low Side Service Port
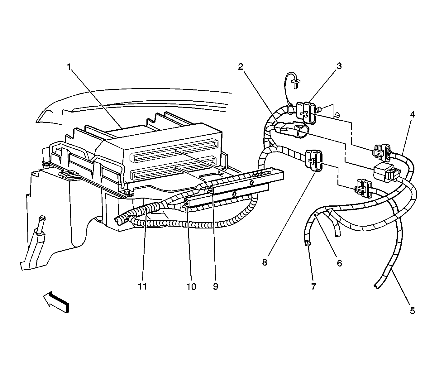
Figure 8:

Powertrain Control Module (PCM)


Object Number: 731893  Size: LF
(1)Powertrain Control Module (PCM)
(2)C102
(3)C101
(4)Body Harness
(5)Secondary Air Injection Pump Harness
(6)S121
(7)S113
(8)C117
(9)Powertrain Control Module (PCM), Connector C1
(10)Powertrain Control Module (PCM), Connector C2
(11)Engine Harness
Figure 9:

Engine, LF (2.2L)


Object Number: 357114  Size: LF
(1)Idle Air Control (IAC) Valve
(2)Throttle Position (TP) Sensor
(3)Exhaust Gas Recirculation (EGR) Valve
(4)Fuse Block - Underhood Connector C2
(5)Engine Coolant Temperature (ECT) Sensor
(6)A/C Compressor Clutch Diode, S103 and S104
(7)Manifold Absolute Pressure (MAP) Sensor
Figure 10:

4.3L Engine Generator and Starter


Object Number: 206654  Size: LF
(1)Exhaust Gas Recirculation Valve
(2)Generator
(3)Crankshaft Position (CKP) Sensor
(4)Starter
(5)Starter Solenoid
(6)Splice S100
(7)Splice S101
(8)Splice S102
(9)Ignition Control Module (ICM)
(10)Ignition Coil
(11)Ignition Coil Assembly
(12)G107
Figure 11:

Engine, LR (2.2L)


Object Number: 206992  Size: LF
(1)Generator
(2)G102 and G103
(3)Engine Oil Pressure Sensor
(4)Evaporative Emissions (EVAP) Canister Purge Solenoid Valve Connector
(5)Ignition Control Module (ICM) Connector C1 (w/o Coil)
(6)Ignition Control Module (ICM) Connector C2 (w/o Coil)
(7)G105
(8)S152
(9)C111
(10)S106
(11)S129
(12)S128
Figure 12:

Engine, LR (4.3L)


Object Number: 614485  Size: LF
(1)A/C Compressor Clutch Diode, S103, and S104
(2)Throttle Position (TP) Sensor
(3)Idle Air Control (IAC) Valve
(4)S102
(5)Distributor
(6)S116
(7)G102 and G103
(8)S152
(9)Knock Sensor (KS)
(10)G105 and G104
(11)Engine Coolant Temperature (ECT) Sensor
(12)Fuse Block - Underhood Connector C2 (BLK)
(13)A/C Compressor High Pressure Switch
(14)A/C Compressor
Figure 13:

Heated Oxygen Sensor (HO2S) Extension Harness (4.3 L)


Object Number: 357121  Size: LF
(1)C100
(2)S151
(3)S150
(4)Heated Oxygen Sensor (HO2S) Bank 1, Sensor 1 Connector
(5)Heated Oxygen Sensor (HO2S) Bank 1, Sensor 3 Connector
Figure 14:

Manual Transmission, LH (4.3L)


Object Number: 357140  Size: LF
(1)Heated Oxygen Sensor (HO2S) Bank 1, Sensor 1 Connector
(2)C104
(3)S140
(4)Vehicle Speed Sensor (VSS) (2WD)
(5)Backup Lamp Switch
(6)Heated Oxygen Sensor (HO2S) Bank 1, Sensor 1
Figure 15:

Automatic Transmission (2.2L)


Object Number: 357137  Size: LF
(1)Vehicle Speed Sensor (VSS)
(2)C175
(3)S140
(4)Heated Oxygen Sensor (HO2S) Bank 1, Sensor 2 Connector
Figure 16:

Transmission Range Switch (w/ A/T) 4.3L Shown, 2.2L Similar


Object Number: 357138  Size: LF
(1)C104
(2)Park/Neutral Position (PNP) and Backup Lamp Switch Connector C2
(3)Park/Neutral Position (PNP) and Backup Lamp Switch Connector C1
(4)Heated Oxygen Sensor (HO2S) Bank 1, Sensor 1 Connector
(5)Heated Oxygen Sensor (HO2S) Bank 1, Sensor 1
Figure 17:

Automatic Transmission, RH (4.3L)


Object Number: 357139  Size: LF
(1)C175
(2)Vehicle Speed Sensor (VSS)
(3)S140
Figure 18:

Transfer Case (NP1) Harness Routing View


Object Number: 580982  Size: LF
(1)Transfer Case Harness
(2)Transfer Case Encoder Motor
(3)Transfer Case (NP1)
Figure 19:

Transfer Case (NP4)


Object Number: 357141  Size: LF
(1)C116
(2)Transfer Case Encoder Motor
(3)Vehicle Speed Sensor (VSS) and Connector
(4)Propshaft Speed Sensor - Rear and Connector
(5)S134
(6)Propshaft Speed Sensor - Front and Connector
Figure 20:

Transfer Case, RH Rear (Bravada)


Object Number: 421497  Size: LF
(1)Propshaft Speed Sensor - Rear and Connector
(2)Active Transfer Case Harness
(3)Transfer Case Encoder Motor and Connector
(4)Transfer Case (NP4)
Figure 21:

Transfer Case (NP8) Harness Routing View


Object Number: 580984  Size: LF
(1)C116, C2 (M50 Only)
(2)Active Transfer Case Harness
(3)Vehicle Speed Sensor (VSS)
(4)Transfer Case Encoder Motor, C2
(5)Transfer Case Encoder Motor, C1
(6)Propshaft Speed Sensor - Rear
(7)Transfer Case (NP8)
(8)Propshaft Speed Sensor - Front
(9)S134
(10)C116, C2 (M30 Only)
Figure 22:

Instrument Panel, LF


Object Number: 612451  Size: LF
(1)IP Bulkhead
(2)C214
(3)C211
(4)C210
(5)C204
(6)Body Control Module (BCM) Connector C1
(7)Body Control Module (BCM) Connector C2
(8)IP Vacuum Harness Connector
(9)Temperature Sensor - Lower (w/C68)
(10)Splice Pack SP202
(11)S202
(12)Relay Block - Body
(13)Stoplamp Switch
(14)C500
(15)C501 (4 Door Utility), C502 (2 Door Export)
(16)Splice Pack SP201
(17)C209
(18)C229 (Envoy Only)
(19)G200 and G202
(20)G201
(21)Clutch Pedal Position (CPP) Switch
Figure 23:

Instrument Panel, RH


Object Number: 357162  Size: MF
(1)Heater/Vent Assembly
(2)C200
(3)C203
(4)Front RH Hinge Pillar
(5)Body Control Module (BCM)
(6)Body Control Module (BCM), Connector C1
(7)Body Control Module (BCM), Connector C2
(8)Body Control Module (BCM), Connector C3
Figure 24:

Instrument Panel, RF


Object Number: 609519  Size: LF
(1)C200
(2)C203
(3)Bulkhead, Right Front
(4)Recirculation Door Motor
(5)Turn Signal/Hazard Flasher Module
(6)C601
(7)Transfer Case Shift Control Module Connectors
(8)Splice Pack SP200
(9)Splice Pack SP204
(10)G203, G204, G205, and G208 (Envoy)
(10)G203,G204, G205 and G208 (Envoy)
(11)G206 (Envoy)
(11)G206 (Envoy)
(12)HVAC Solenoid Assembly Connector (w/ Auto A/C)
(13)Air Temperature Actuator Connector
Figure 25:

IP Wiring Harness


Object Number: 357160  Size: LF
(1)Inflatable Restraint IP Module
(2)Inflatable Restraint IP Module Connector
(3)I/P Compartment Lamp
(4)Door Jamb Switch - Front Passenger
Figure 26:

Instrument Panel, LH


Object Number: 357144  Size: LF
(1)Headlamp Switch Connector
(2)Fog Lamp Switch Connector
(3)Headlamp Switch
(4)Door Jamb Switch - Driver
(5)Fuse Block - I/P Side of the Body Relay Block Harness
(6)S204
(7)C217
(8)Courtesy Lamp - Left Console
(9)Relay Block - Body
(10)S223
(11)Speaker - LF
Figure 27:

IP Wiring Harness Composite View (with Auto A/C)


Object Number: 612497  Size: LF
(1)Inflatable Restraint IP Module Connector
(2)Radio Connector
(3)Sunload Sensor
(4)Transfer Case Shift Control Switch
(5)HVAC Control Module
(6)Instrument Cluster Connector
(7)Instrument Panel (IP)
(8)Rear Wiper/Washer Switch and Endgate/Liftgate Window Release Switch
(9)Courtesy Lamp, LH IP
(10)S240
(11)Body Control Module (BCM) Connector C3
(12)C205 (Envoy Only)
(13)S290
(14)C224
(15)S275
(16)S283
(17)S286
(18)S276 (Envoy Only)
(19)S208
(20)Splice Pack SP203
(21)S272
(22)S274
(23)S273
(24)S288
(25)S223
(26)Courtesy Lamp, RH IP
(27)C200
(28)C203
(29)Door Jamb Switch - RF
(30)IP Compartment Lamp
(31)Headlamp Ambient Light Sensor
(32)Speaker - RF
Figure 28:

IP Wiring Harness Composite View - w/o Auto A/C


Object Number: 357143  Size: LF
(1)S217
(2)S215
(3)Inflatable Restraint IP Module Switch Connector
(4)Radio Connector
(5)Transfer Case Shift Control Switch Connector
(6)S275
(7)S273
(8)Instrument Cluster Connector
(9)Instrument Panel (IP)
(10)Inflatable Restraint IP Module Switch Connector (Pickup) or Rear Window Wiper/Washer and Endgate/Liftgate Window Release Switch Connector (Utility)
(11)Courtesy Lamp - Left Console
(12)S240
(13)Body Control Module (BCM) Connector C3
(14)C224
(15)Splice Pack SP203
(16)S205
(17)S283
(18)S282
(19)S272
(20)S274
(21)S208
(22)C223
(23)Courtesy Lamp - Right Console
(24)C200
(25)C203
(26)Door Jamb Switch - RF
(27)IP Compartment Lamp Connector
(28)Speaker - RF
Figure 29:

Steering Column Components


Object Number: 612525  Size: LF
(1)Shift Lever Assembly
(2)Upper Shroud
(3)Inflatable Restraint Steering Wheel Module Coil
(4)C214
(5)Multifuction Switch
(6)G207
(7)Park Lock Solenoid Connector
(8)A/T Shift lock Control Solenoid
(9)C211
(10)Transmission Shift Lever
(11)Passlockā„¢ Sensor Connector
(12)Ignition Switch and Ignition Key Alarm Switch
Figure 30:

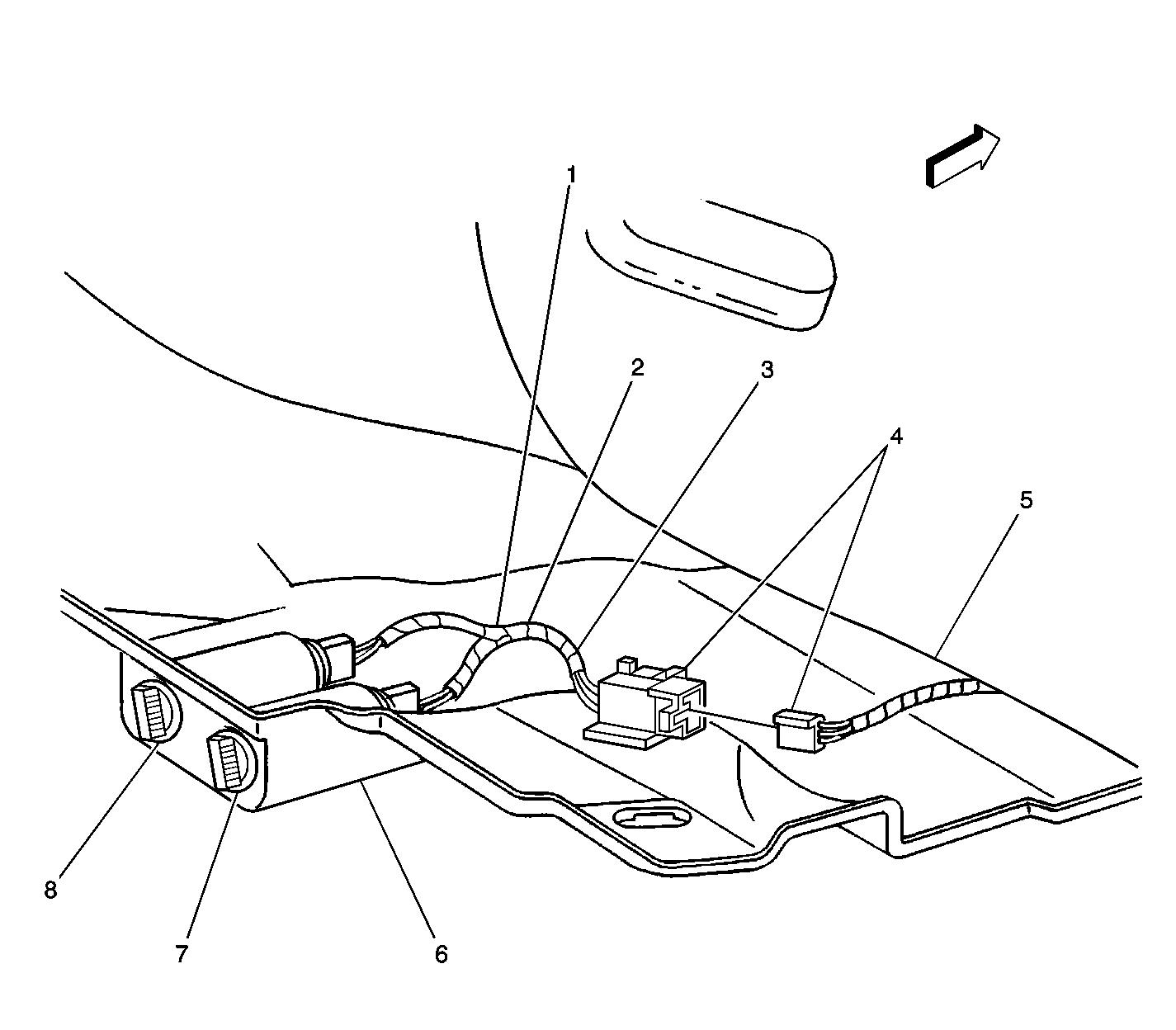
Accessory Power Tray


Object Number: 618545  Size: LF
(1)S268
(2)S269
(3)Accessory Power Outlet Harness
(4)C223
(5)IP Insulator
(6)Accessory Power Tray
(7)Accessory/Auxiliary Power Outlet - Right
(8)Accessory/Auxiliary Power Outlet - Left
Figure 31:

Dome Lamp Harness


Object Number: 612552  Size: LF
(1)S302
(2)S332
(3)Dome Lamp Harness
(4)Dome and Center High Mounted Stop Lamp (CHMSL)
(5)S300
(6)Vanity Mirror Lamp - Left
(7)C209
(8)Inside Rear View Mirror
(9)Vanity Mirror Lamp - Right
Figure 32:

Sunroof (Utility)


Object Number: 357169  Size: LF
(1)Driver Information Center (DIC), Connector C2
(2)Sunroof Motor and Drive
(3)Sunroof Module, Connector C2
(4)Sunroof Module, Connector C1
(5)S332
(6)C300
(7)Sunroof Module
(8)S390
(9)Driver Information Center (DIC), Connector C1
(10)Driver Information Center (DIC)
Figure 33:

Dome Lamp Harness w/o Driver Information Center (DIC) (Utility)


Object Number: 612559  Size: LF
(1)Dome Lamp
(2)S332
(3)S300
(4)S302
(5)Dome Lamp Harness
(6)C209
(7)Vanity Mirror Lamp - Left
(8)Inside Rear View Mirror
(9)Vanity Mirror Lamp - Right
Figure 34:

Driver Information Center (DIC) (w/ Overhead Console)


Object Number: 612578  Size: LF
(1)Driver Information Center (DIC), Connector C1
(2)Driver Information Center (DIC)
(3)C301
(4)S310
(5)S302
(6)Air Temperature Sensor Assembly - Inside (w/ Auto A/C)
(7)S332
(8)S390
Figure 35:

Floor Panel, Utility


Object Number: 612592  Size: LF
(1)S308
(2)S306
(3)S309
(4)S304
(5)S312
(6)C317
(7)Inflatable Restraint Sensing and Diagnostic Module (SDM) Connector
(8)Inflatable Restraint Sensing and Diagnostic Module (SDM)
(9)C315
(10)S307
(11)S305
Figure 36:

Floor Shifter Harness Connections


Object Number: 831148  Size: MF
(1)Automatic Transmission Control Module Connector
(2)Floor Shifter
(3)Automatic Transmission Shift Lever Position Indicator
(4)S335
Figure 37:

Body Wiring to Left Front Seat


Object Number: 357190  Size: MF
(1)C317
(2)Seat
Figure 38:

Front Passenger Door Shown, Driver Similar


Object Number: 416725  Size: LF
(1)Door Lock Cylinder Switch Connector - Front Passenger
(2)Door Handle Switch Connector - Right
(3)Door Lock Actuator Connector - Front Passenger
(4)Door Lock Actuator - Front Passenger
(5)Window Motor and Connector - Front Passenger
(6)Splice S502-LH
(7)Splice S601-RH, S501-LH
(8)Speaker Connector - RF Door
(9)C601-RH, C500-LH
(10)C501-LH
(11)P600-RH, P500-LH
(12)Outside Rearview Mirror Connector - Passenger
Figure 39:

Outside Rear View Mirror


Object Number: 357149  Size: LF
(1)P501 (LH) or P601 (RH)
(2)Outside Rear View Mirror, LH (RH Opposite)
(3)Outside Rear View Mirror Connector
Figure 40:

Rear Door Wiring Harness (RH Shown, LH Similar)


Object Number: 357305  Size: LF
(1)Door
(2)Door Lock Actuator - RR
(3)Window Switch - RR
(4)Speaker - RR
(5)Window Motor - RR
(6)C306 (RH) or C304 (LH)
(7)C307 (RH) or C305 (LH)
(8)P800 (RH) or P700 (LH)
(9)Window Switch - RR
Figure 41:

Rear Door Details - 2 & 4 Door Utility


Object Number: 614497  Size: LF
(1)Door Opening Frame (4-Door)
(2)S307 (RH) or S306 (LH) (4-Door)
(3)Door Jamb Switch - RR
(4)Body Side Panel, RH (2-Door)
(5)Speaker - RR (2-Door)
(6)S305 (RH) or S308 (LH) (4-Door)
(7)C306
(8)C307
Figure 42:

Body Wiring Views


Object Number: 612610  Size: LF
(1)C471
(2)G420
(3)Vacuum Hoses
(4)Automatic Level Control (ALC) Air Compressor
(5)P400
(6)Vehicle Communications Unit Connector
Figure 43:

Body Wiring to Body Side Trim Panel


Object Number: 357314  Size: MF
(1)Automatic Level Control (ALC) Solenoid Valve
(2)C471
(3)Body Side Trim
(4)S470
(5)Automatic Level Control (ALC) Timer Relay
(6)Automatic Level Control (ALC) Inflator Air Switch
(7)Accessory Power Outlet - Rear
Figure 44:

Automatic Level Control (ALC) Harness View


Object Number: 572118  Size: MF
(1)Automatic Level Control (ALC) Harness
(2)S471
(3)S473
(4)S474
(5)Automatic Level Control (ALC) Sensor Connector
(6)S472
Figure 45:

Automatic Level Control (ALC) Air Compressor


Object Number: 610286  Size: LF
(1)Park/Turn Signal Lamp - RR
(2)Automatic Level Control (ALC) Air Compressor
(3)Body Harness
(4)Automatic Level Control (ALC) Air Compressor Connector
(5)C472
(6)C470
(7)Automatic Level Control (ALC) Harness
Figure 46:

Body Opening Frame, Rear


Object Number: 614500  Size: LF
(1)Center High Mounted Stop Lamp (CHMSL) Resistor, S404 and S405
(2)C403
(3)S476 (Envoy)
(4)G450
(5)S427
(6)G420
(7)C402
(8)S475 (Envoy)
Figure 47:

Rear Roof (Utility)


Object Number: 614505  Size: LF
(1)Center High Mounted Stop Lamp (CHMSL) (w/ Endgate)
(2)Cargo Lamp (w/Endgate)
(3)Center High Mounted Stop Lamp (CHMSL) (w/ Liftgate)
(4)Cargo Lamp (w/ Liftgate)
(5)Center High Mounted Stop Lamp (CHMSL) Connector
(6)P404 (w/ Endgate)
Figure 48:

Rear Lamps Connection (Utility LH Side Shown, RH Side Similar)


Object Number: 357368  Size: LF
(1)C403 (LH) and C402 (RH)
(2)S417 (LH) and S418 (RH)
(3)S415 (LH) and S416 (RH)
(4)S419 (LH) and S420 (RH)
(5)P402 (LH) and P403 (RH)
(6)Park/Turn Signal Lamps - LR (RR Similar) Upper and Lower
(7)Backup Lamp - Left (Right Similar)
Figure 49:

Body Harness to Rear Window Defogger


Object Number: 610361  Size: LF
(1)C432 LH (Shown), C433 RH (Opposite)
(2)Body Harness
(3)Rear Window Defogger Extension Harness
(4)Endgate
(5)LR Quarter, Above Liftglass
Figure 50:

Rear Lamps (Pickup)


Object Number: 357373  Size: LF
(1)Marker Lamp - RR
(2)Park/Turn Signal Lamp - RR
(3)Backup Lamp - Right
(4)Splice Pack SP400
(5)Backup Lamp - Left
(6)Marker Lamp - LR
(7)Park/Turn Signal Lamp - LR
Figure 51:

Endgate Connectors


Object Number: 357349  Size: LF
(1)Body Floor
(2)C411, C412 and C413
(3)Endgate
(4)Window Washer Tube Check Valve, Rear
Figure 52:

Rear Framerail-Pickup


Object Number: 357336  Size: LF
(1)Framerail, LR
(2)C401
(3)Framerail, RR
(4)G422
(5)Splice Pack SP401
(6)G402
(7)G475
(8)Splice Pack SP402
Figure 53:

Chassis Harness Routing (S422)


Object Number: 1706008  Size: LF
(1)Frame (Shown upside down)
(2)Chassis Harness
(3)S422
Figure 54:

Rear Frame (4-Door Utility)


Object Number: 357334  Size: LF
(1)Trailer Wiring Provision
(2)Splice Pack SP423
(3)Evaporative Emissions (EVAP) Canister Vent Solenoid
(4)C430
(5)Fuel Filler Neck Ground Strap
(6)G402
Figure 55:

Liftgate LH (Utility)


Object Number: 357352  Size: LF
(1)C426 LH (C428 RH)
(2)C427 LH (C429 RH)
(3)P901
(4)C432 LH (C433 RH)
(5)Liftgate Switch Connector
(6)Liftgate Lock Actuator Connector
(7)Liftgate Window Release Actuator Connector
(8)Liftgate Window Release Actuator
Figure 56:

Liftgate Wiper Washer, RH


Object Number: 603587  Size: LF
(1)Liftgate
(2)Window Wiper Motor - Rear Connector
(3)Rear Window Wiper Cutout and Liftglass Ajar Jamb Switch Connector
(4)Door Lock Actuator - Liftgate Connector
(5)Window Washer Nozzle Hose - Rear
(6)Door Lock Actuator - Liftgate Connector
(7)Rear Window Wiper Cutout and Liftglass Ajar Jamb Switch Connector
(8)Bracket
(9)Liftgate Harness
Figure 57:

LH Front Fender Area


Object Number: 203298  Size: LF
(1)Electronic Brake Control Module (EBCM) (310) Connector C1
(2)Electronic Brake Control Module (EBCM) (310) Connector C3
(3)Connector C109 (Body Harness to 4WAL Harness)
(4)Connector C106 (Utility Body Harness to Forward Lamps Harness)
(5)Windshield Washer Fluid Pump - Rear (Utility)
(6)Ground G110
(7)Windshield Washer Fluid Pump - Front
(8)Fuse Block - Underhood Connector C1
(9)Connector C114 (Body Harness to Front Axle Indicator Switch, w/ Electric Shift 4WD)
(10)Brake Pressure Differential Switch
(11)Connector C108 (Body Harness to 4WD Extension Harness)
Figure 58:

License Lamp Wiring (Sportside Pickup)


Object Number: 357377  Size: LF
(1)License Plate - Center
(2)C430
Figure 59:

License Lamps (Export)


Object Number: 406635  Size: LF
(1)Connector C430
(2)License Lamp Mounting Bracket
(3)License Lamp - Right
(4)License Lamp - Center
(5)License Lamp - Left
(6)S425
(7)S426
(8)License Lamp Wiring Harness