GM Service Manual Online
For 1990-2009 cars only
Figure 1:

Accessory Power Tray


Object Number: 618545  Size: LF
(1)S268
(2)S269
(3)Accessory Power Outlet Harness
(4)C223
(5)IP Insulator
(6)Accessory Power Tray
(7)Accessory/Auxiliary Power Outlet - Right
(8)Accessory/Auxiliary Power Outlet - Left
Figure 2:

Battery Fuse and Secondary Air Injection (AIR) Jumper Harness


Object Number: 612447  Size: LF
(1)Radiator Support, RH
(2)Secondary Air Injector (AIR) Jumper Harness
(3)Battery Fuse
(4)Fuse Holder
(5)G100
(6)G112
(7)S153
(8)Battery Positive Cable
Figure 3:

Battery Fuse Cable to Fuse Block - Underhood


Object Number: 354779  Size: LF
(1)Fuse Block - Underhood
(2)Battery Fuse Stud Cover
(3)Battery Fuse Cable
Figure 4:

Battery Negative Cable and Ground (2.2 L Engine)


Object Number: 354782  Size: MF
(1)G102
(2)G103
(3)G107
Figure 5:

Body Wiring to Body Side Trim Panel


Object Number: 357314  Size: MF
(1)Automatic Level Control (ALC) Solenoid Valve
(2)C471
(3)Body Side Trim
(4)S470
(5)Automatic Level Control (ALC) Timer Relay
(6)Automatic Level Control (ALC) Inflator Air Switch
(7)Accessory Power Outlet - Rear
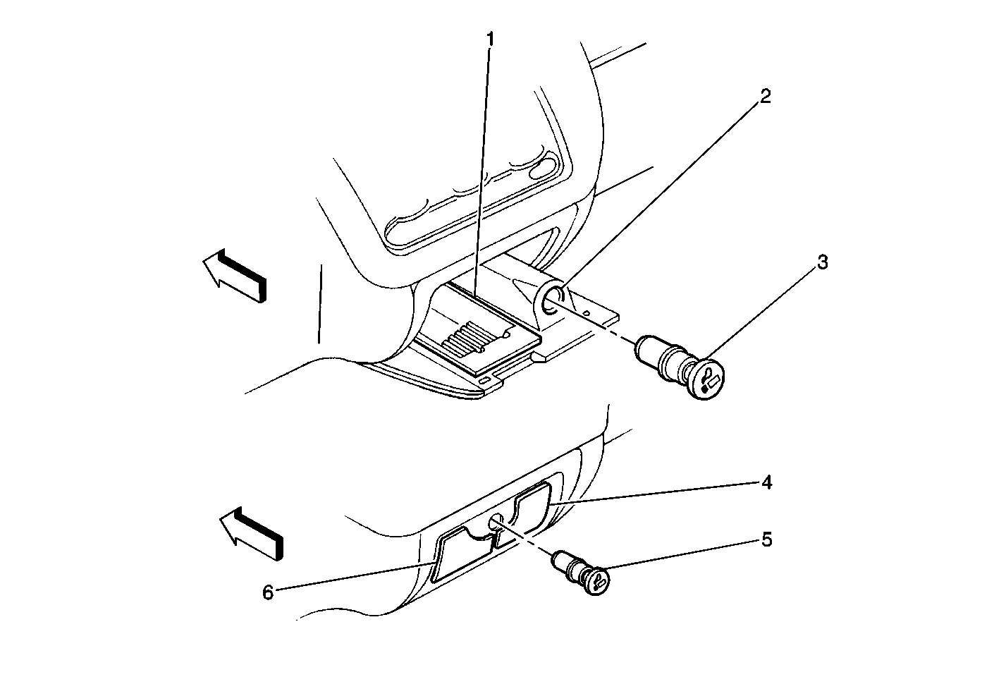
Figure 6:

Cigar Lighter


Object Number: 357158  Size: MF
(1)Ashtray
(2)Cigar Lighter Receptacle
(3)Cigar Lighter
(4)Accessory Power Outlet - Right (Envoy)
(5)Cigar Lighter (Envoy)
(6)Accessory Power Outlet - Left (Envoy)
Figure 7:

Relay Block - Body Relays, Except Envoy


Object Number: 668212  Size: LF
(1)Park Lamp Relay
(2)Courtesy Lamp Relay
(3)Retained Accessory Power (RAP) Relay
(4)Power Seats Circuit Breaker
(5)Power Windows Circuit Breaker
(6)Inadvertent Power Relay
(7)Door Lock Relay
(8)Headlamp Ground Relay
(9)Door Unlock Relay - Driver
(10)Door Unlock Relay
Figure 8:

Relay Block - Body, Envoy Only


Object Number: 668222  Size: LF
(1)Park Lamp Relay
(2)Courtesy Lamp Relay
(3)Retained Accessory Power (RAP) Relay
(4)Power Seats Circuit Breaker
(5)Power Windows Circuit Breaker
(6)Inadvertent Power Relay
(7)Door Lock Relay
(8)Headlamp High Beam Relay
(9)Door Unlock Relay - Driver
(10)Door Unlock Relay
Figure 9:

Fuse Block - I/P - Label


Object Number: 547722  Size: MF
Figure 10:

Fuse Block - Underhood Connectors


Object Number: 354788  Size: LF
(1)Connector C2 (BLK)
(2)Connector C1 (LT GRY)
(3)Connector C5 (BLK)
(4)Connector C6 (LT GRY)
(5)Connector C3 (RED)
(6)Connector C4 (LT GRN)