GM Service Manual Online
For 1990-2009 cars only
Table 1: C100 (Engine Harness to Heated Oxygen Sensor Harness 4.3 L Engine, 6 Cavities)
Table 2: C101 (Engine Harness to Body Harness 2.2 L Engine, 16 Cavities)
Table 3: C101 (Engine Harness to Body Harness 4.3 L Engine, 16 Cavities)
Table 4: C102 (Engine Harness to Body Harness 4.3 L, 2 Cavities)
Table 5: C104 (Chassis to 2.2 L Engine Harness, 6 Cavities)
Table 6: C104 (Chassis to 4.3 L Engine Harness, 6 Cavities)
Table 7: C106 (Forward Lamp Harness to Body Harness) (Pickup and Utility w/o Overhead Console)
Table 8: C106 (Forward Lamp Harness to Body Harness) (Utility w/ Overhead Console, Except Envoy)
Table 9: C106 (Forward Lamp Harness to Body Harness) (Envoy)
Table 10: C106 (Forward Lamp Harness to Body Harness) (Export)
Table 11: C108 (Electric Shift Transfer Case Extension Harness to Body Harness, NP1)
Table 12: C108 (Active Transfer Case Extension Harness to Body Harness, NP4 (Bravada Only))
Table 13: C108 (Active Transfer Case Extension Harness to Body Harness, NP8)
Table 14: C109 (Body Harness to the 4WAL/SIR Harness (2 Cavities)
Table 15: C109 (Body Harness to the 4WAL/SIR Harness (6 Cavities)
Table 16: C111 (Engine Harness to Fuel Injector Harness, 2.2 L Engine)
Table 17: C114 (w/4WD Body Harness to Front Axle Switch Extension Harness)
Table 18: C116 C1
Table 19: C116 C2 (Engine Harness To Active Transfer Case Harness)
Table 20: C117 (Engine Harness to AIR Harness, w/ California Emissions)
Table 21: C119 (4WAL/SIR Harness To AIR Jumper Harness)
Table 22: C200 (IP Harness to Body Harness)
Table 23: C201 (Steering Column Harness to Redundant Steering Wheel Control Harness)
Table 24: C203 (IP Harness to Body Harness)
Table 25: C204 (Floor Shifter Harness to Body Harness) (Utility)
Table 26: C205 (IP Harness to Console Harness, Envoy Only)
Table 27: C207
Table 28: C209 (Dome Harness to Body Harness)
Table 29: C210 (Body Harness to Redundant Steering Wheel Controls Harness)
Table 30: C211 (Body Harness to Steering Column Harness)
Table 31: C214 (Body Harness to Steering Column Harness)
Table 32: C217 (Body Harness to IP Harness)
Table 33: C223 (IP Harness to Auxiliary Power Tray) (Extended Cab)
Table 34: C224 (Body Harness to Ashtray Insert) (Except Envoy)
Table 35: C224 (Body Harness to Ashtray Insert) (Envoy)
Table 36: C229 (Body Harness to Dome Harness) (Utility)
Table 37: C300 (Dome Lamp Harness to Sunroof Harness)
Table 38: C301 (Dome Harness to Overhead Console) (Bravada and Envoy)
Table 39: C301 (Dome Harness to Overhead Console) (Except Bravada and Envoy)
Table 40: C302 (Power Seat Harness, LH to Power Recliner Harness, LH) (Utility w/ Power Seats, Non-Memory)
Table 41: C302 (Power Seat Harness, LH to Power Recliner Harness, LH) (Utility w/ Power Seats, Memory)
Table 42: C303 (Power Seat Harness, RH to Power Recliner Harness, RH) (Utility w/ Power Seats, Non-Memory)
Table 43: C303 (Power Seat Harness, RH to Power Recliner Harness, RH) (Utility w/ Power Seats, Memory)
Table 44: C304 (Body Harness to LR Door Harness) (4-Door Utility)
Table 45: C305 (Body Harness to LR Door Harness) (4-Door Utility)
Table 46: C306 (Body Harness to RR Door Harness) (4-Door Utility)
Table 47: C307 (Body Harness to RR Door Harness) (4-Door Utility)
Table 48: C315 (Body Harness to Passenger Seat Assembly Pigtail Connector) (4-Door Utility with Power Seats)
Table 49: C317 (Utility Body Harness to Driver's Seat Assembly Pigtail Connector)
Table 50: C317 (Pickup Body Harness to Driver's Seat Assembly Pigtail Connector)
Table 51: C401 (Chassis Harness to Tail Lamp Harness) (Pickup)
Table 52: C402 (Body Harness to RH Tail Lamp Harness) (Domestic)
Table 53: C402 (Body Harness to RH Tail Lamp Harness) (Export)
Table 54: C403 (Body Harness to LH Tail Lamp Harness) (Domestic)
Table 55: C403 (Body Harness to LH Tail Lamp Harness) (Export)
Table 56: C411 (Body Harness to Endgate Harness) (Utility)
Table 57: C412 (Body Harness to Endgate Harness) (Utility)
Table 58: C413 (Body Harness to Endgate Harness)
Table 59: C426 (Body Harness to Liftglass Harness) (Utility)
Table 60: C428 (Body Harness to Liftgate Harness)
Table 61: C430 (Chassis Harness to License Lamp Harness) (Utility)
Table 62: C470 (Body Harness to Load Leveling Harness) (Envoy)
Table 63: C471 (Body Harness to Rear Quarter Harness) (Envoy Only)
Table 64: C472 (Body Harness to Auto Level Control Harness) (Envoy Only)
Table 65: C473 (Inline to Vehicle Communications Unit) (Envoy)
Table 66: C474 (Body Harness to Vehicle Interface Unit) (Envoy)
Table 67: C500 (Body Harness to LF Door Harness) (w/o Power Locks/Windows)
Table 68: C500 (Body Harness to LF Door Harness) (w/ Power Locks/Windows)
Table 69: C501 (Body Harness to LH Front Door Harness, 4-Door Only)
Table 70: C502 (Body Harness to LF Door Harness) (2-Door Export)
Table 71: C601 (Body Harness to Door Harness, RH Front) (w/o Power Locks/Windows)
Table 72: C601 (Body Harness to Door Harness, RH Front) (w/ Power Locks/Windows)

C100 (Engine Harness to Heated Oxygen Sensor Harness 4.3 L Engine, 6 Cavities)


Object Number: 283872  Size: CF

Connector Part Information

    • 12052848
    • 6-Way F Metri-Pack 150 Series (BLK)

Connector Part Information

    • 12124107
    • 6-Way M Metri-Pack 150 Series (BLK)

Pin

Wire Color

Circuit No.

Function

Pin

Wire Color

Circuit No.

Function

A

PPL

1666

H02S High Signal

A

PPL

1666

H02S High Signal

B

TAN

1667

H02S Low Signal

B

TAN

1667

H02S Low Signal

C

PPL/WHT

1668

H02S High Signal

C

PPL/WHT

1668

H02S High Signal

D

TAN/WHT

1669

H02S Low Signal

D

TAN/WHT

1669

H02S Low Signal

E

PNK

539

Ignition 1 Voltage

E

PNK

539

Ignition 1 Voltage

F

BLK

350

Ground

F

BLK

350

Ground

C101 (Engine Harness to Body Harness 2.2 L Engine, 16 Cavities)


Object Number: 366120  Size: CF

Connector Part Information

    • 15326084
    • 16-Way F Metri-Pack 150,280 Series Sealed (BLK)

Connector Part Information

    • 15326085
    • 16-Way M Metri-Pack 150,280 Series Sealed (BLK)

Pin

Wire Color

Circuit No.

Function

Pin

Wire Color

Circuit No.

Function

A

WHT

121

Engine Speed Signal

A

WHT

121

Engine Speed Signal

B

--

--

Not Used (w/o A/C)

B

--

--

Not Used (w/o A/C)

B

LT BLU

203

A/C Request Signal

B

LT BLU

203

A/C Request Signal

C

TAN/WHT

331

Oil Pressure Sensor Signal

C

TAN/WHT

331

Oil Pressure Sensor Signal

D

LT GRN/BLK

584

A/T Shift Lock Control Switch Supply Voltage

D

LT GRN/BLK

584

A/T Shift Lock Control Switch Supply Voltage

E

PPL

420

TCC Brake Switch Signal

E

PPL

420

TCC Brake Switch Signal

F

YEL/BLK

1827

Vehicle Speed Signal

F

YEL/BLK

1827

Vehicle Speed Signal

G

PNK

1020

Off/Run/Crank Voltage

G

PNK

1020

Off/Run/Crank Voltage

H

YEL

710

Class 2 Serial Data

H

YEL

710

Class 2 Serial Data

J

--

--

Not Used (Man Trans)

J

BRN/WHT

379

Not Used (Man Trans)

J

PPL

420

TCC Brake Switch Signal (Auto Trans)

J

BRN/WHT

379

TCC Brake Switch Signal (Auto Trans)

K

--

--

Not Used (Man Trans)

K

BRN/WHT

379

Not Used (Man Trans)

K

BRN/WHT

379

CPP Switch Signal (Auto Trans)

K

BRN/WHT

379

CPP Switch Signal (Auto Trans)

L

BRN/WHT

419

MIL Control

L

BRN/WHT

419

MIL Control

M

DK GRN/WHT

817

Vehicle Speed Signal

M

DK GRN/WHT

817

Vehicle Speed Signal

N

DK GRN

389

Vehicle Speed Signal

N

DK GRN

389

Vehicle Speed Signal

P

--

--

Not Used (Man Trans)

P

--

--

Not Used (Man Trans)

P

LT BLU/BLK

396

Cruise Control Engaged Signal (Auto Trans)

P

LT BLU/BLK

396

Cruise Control Engaged Signal (Auto Trans)

R

DK GRN

1049

PCM Class 2 Serial Data

R

DK GRN

1049

PCM Class 2 Serial Data

S

--

--

Not Used

S

--

--

Not Used

C101 (Engine Harness to Body Harness 4.3 L Engine, 16 Cavities)


Object Number: 366120  Size: CF

Connector Part Information

    • 15326084
    • 16-Way F Global Technology, 150,280 Series, Sealed (BLK)

Connector Part Information

    • 15326085
    • 16-Way M Global Technology, 150,280 Series, Sealed (BLK)

Pin

Wire Color

Circuit No.

Function

Pin

Wire Color

Circuit No.

Function

A

WHT

121

Engine Speed Signal

A

WHT

121

Engine Speed Signal

B

LT BLU

203

A/C Request Signal (w/A/C)

B

LT BLU

203

A/C Request Signal (w/A/C)

C

TAN/WHT

331

Oil Pressure Sensor Signal

C

TAN/WHT

331

Oil Pressure Sensor Signal

D

LT GRN/BLK

584

A/T Shift Lock Control Switch Supply Voltage

D

LT GRN/BLK

584

A/T Shift Lock Control Switch Supply Voltage

E

PPL

420

TCC Brake Switch Signal

E

PPL

420

TCC Brake Switch Signal

F

YEL/BLK

1827

Vehicle Speed Signal

F

YEL/BLK

1827

Vehicle Speed Signal

G

PNK

1020

Off/Run/Crank Voltage

G

PNK

1020

Off/Run/Crank Voltage

H

WHT

710

Class 2 Serial Data

H

WHT

710

Class 2 Serial Data

J

PPL

420

TCC Brake Switch Signal

J

BRN/WHT

379

TCC Brake Switch Signal

K

BRN/WHT

379

CPP Switch Signal

K

BRN/WHT

379

CPP Switch Signal

L

BRN/WHT

419

MIL Control

L

BRN/WHT

419

MIL Control

M

DK GRN/WHT

817

Vehicle Speed Signal

M

DK GRN/WHT

817

Vehicle Speed Signal

N

BRN/WHT

379

CPP Switch Signal

N

BRN/WHT

379

CPP Switch Signal

P

LT BLU

396

Cruise Control Engaged Signal

P

LT BLU

396

Cruise Control Engaged Signal

R

DK GRN

1049

PCM Class 2 Serial Data

R

DK GRN

1049

PCM Class 2 Serial Data

S

--

--

Not Used

S

--

--

Not Used

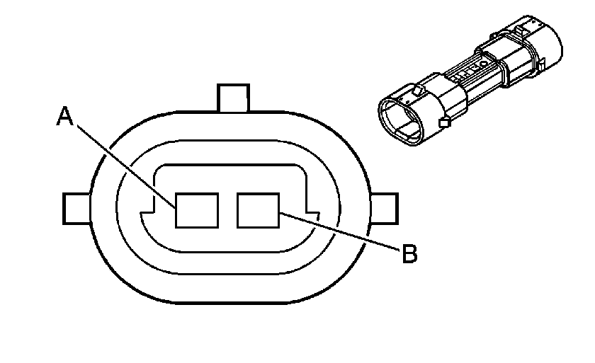
C102 (Engine Harness to Body Harness 4.3 L, 2 Cavities)


Object Number: 510603  Size: CF

Connector Part Information

    • 15326801
    • 2-Way F GT 150 Series, Sealed (BLK)

Connector Part Information

    • 15326806
    • 2-Way M GT 150 Series, Sealed (BLK)

Pin

Wire Color

Circuit No.

Function

Pin

Wire Color

Circuit No.

Function

A

GRY/BLK

1694

4WD Low Signal

A

GRY/BLK

1694

4WD Low Signal

B

BLK/WHT

1695

Axle Switch Signal

B

BLK/WHT

1695

Axle Switch Signal

C104 (Chassis to 2.2 L Engine Harness, 6 Cavities)


Object Number: 62447  Size: CF

Connector Part Information

    • 12052848
    • 6-Way F Metri-Pack 150 Series, Sealed, Self Locking (BLK)

Connector Part Information

    • 12124107
    • 6-Way M Metri-Pack 150 Series, Sealed, Self Locking (BLK)

Pin

Wire Color

Circuit No.

Function

Pin

Wire Color

Circuit No.

Function

A

WHT

1310

EVAP Canister Vent Solenoid Control

A

WHT

1310

EVAP Canister Vent Solenoid Control

B

DK GRN

890

Fuel Tank Pressure Sensor Signal

B

DK GRN

890

Fuel Tank Pressure Sensor Signal

C

GRY

705

5 Volt Reference

C

GRY

705

5 Volt Reference

D

ORN/BLK

510

Low Reference

D

ORN/BLK

510

Low Reference

E

PPL

1589

Fuel Level Sensor Signal

E

PPL

1589

Fuel Level Sensor Signal

F

--

--

Not Used

F

--

--

Not Used

C104 (Chassis to 4.3 L Engine Harness, 6 Cavities)


Object Number: 62447  Size: CF

Connector Part Information

    • 12052848
    • 6-Way F Metri-Pack 150 Series, Sealed, Self Locking (BLK)

Connector Part Information

    • 12124107
    • 6-Way M Metri-Pack 150 Series, Sealed, Self Locking (BLK)

Pin

Wire Color

Circuit No.

Function

Pin

Wire Color

Circuit No.

Function

A

WHT

1310

EVAP Canister Vent Solenoid Control

A

WHT

1310

EVAP Canister Vent Solenoid Control

B

DK GRN

890

Fuel Tank Pressure Sensor Signal

B

DK GRN

890

Fuel Tank Pressure Sensor Signal

C

GRY

474

5 Volt Reference

C

GRY

474

5 Volt Reference

D

BLK/WHT

470

Low Reference

D

BLK

470

Low Reference

E

PPL

1589

Fuel Level Sensor Signal

E

PPL

1589

Fuel Level Sensor Signal

F

--

--

Not Used

F

--

--

Not Used

C106 (Forward Lamp Harness to Body Harness) (Pickup and Utility w/o Overhead Console)


Object Number: 283872  Size: CF

Connector Part Information

    • 12052848
    • 6-Way F Metri-Pack 150 Series, Sealed (BLK)

Connector Part Information

    • 12124107
    • 6-Way M Metri-Pack 150 Series, Sealed (BLK)

Pin

Wire Color

Circuit No.

Function

Pin

Wire Color

Circuit No.

Function

A-D

--

--

Not Used

A-D

--

--

Not Used

E

BLK/WHT

1851

Ground

E

BLK/WHT

1851

Ground

F

--

--

Not Used

F

--

--

Not Used

C106 (Forward Lamp Harness to Body Harness) (Utility w/ Overhead Console, Except Envoy)


Object Number: 283872  Size: CF

Connector Part Information

    • 12052848
    • 6-Way F Metri-Pack 150 Series, Sealed (BLK)

Connector Part Information

    • 12124107
    • 6-Way M Metri-Pack 150 Series, Sealed (BLK)

Pin

Wire Color

Circuit No.

Function

Pin

Wire Color

Circuit No.

Function

A

LT GRN/BLK

735

Outside Air Temperature Sensor Signal

A

LT GRN/BLK

735

Outside Air Temperature Sensor Signal

B

BLK/WHT

451

Ground

B

BLK/WHT

451

Ground

C

DK GRN/WHT

636

Outside Air Temperature Sensor Signal

C

DK GRN/WHT

636

Outside Air Temperature Sensor Signal

D

BLK

552

Low Reference

D

BLK

552

Low Reference

E

BLK/WHT

1851

Ground

E

BLK/WHT

1851

Ground

F

--

--

Not Used

F

--

--

Not Used

C106 (Forward Lamp Harness to Body Harness) (Envoy)


Object Number: 73194  Size: CF

Connector Part Information

    • 12059472
    • 7-Way F Metri-Pack 150, 480 Series, Sealed (BLK)

Connector Part Information

    • 12066260
    • 7-Way M Metri-Pack 150, 480 Series, Sealed (BLK)

Pin

Wire Color

Circuit No.

Function

Pin

Wire Color

Circuit No.

Function

A

LT GRN/BLK

735

Outside Air Temperature Sensor Signal

A

LT GRN/BLK

735

Outside Air Temperature Sensor Signal

B

BLK/WHT

451

Ground

B

BLK/WHT

451

Ground

C

DK GRN/WHT

636

Outside Air Temperature Sensor Signal

C

DK GRN/WHT

636

Outside Air Temperature Sensor Signal

D

BLK

552

Low Reference

D

BLK

552

Low Reference

E

LT BLU

1346

Headlamp Supply Voltage

E

LT BLU

1346

Headlamp Supply Voltage

F

BLK/WHT

1851

Ground

F

BLK/WHT

1851

Ground

G

--

--

Not Used

G

--

--

Not Used

C106 (Forward Lamp Harness to Body Harness) (Export)


Object Number: 229958  Size: CF

Connector Part Information

    • 12047937
    • 8-Way F Metri-Pack 150 Series, Sealed (BLK)

Connector Part Information

    • 12186108
    • 8-Way M Metri-Pack 150 Series, Sealed (BLK)

Pin

Wire Color

Circuit No.

Function

Pin

Wire Color

Circuit No.

Function

A

LT GRN/BLK

735

Outside Air Temperature Sensor Signal

A

LT GRN/BLK

735

Outside Air Temperature Sensor Signal

B

BLK/WHT

451

Ground

B

BLK/WHT

451

Ground

C

DK GRN/WHT

636

Outside Air Temperature Sensor Signal

C

DK GRN/WHT

636

Outside Air Temperature Sensor Signal

D

BLK

552

Low Reference

D

BLK

552

Low Reference

E

DK GRN

189

Headlamp Leveling Motor Supply Voltage

E

DK GRN

189

Headlamp Leveling Motor Supply Voltage

F

BLK

1050

Ground

F

BLK

1050

Ground

G

BLK/WHT

1851

Ground

G

BLK/WHT

1851

Ground

H

--

--

Not Used

H

--

--

Not Used

C108 (Electric Shift Transfer Case Extension Harness to Body Harness, NP1)


Object Number: 95815  Size: CF

Connector Part Information

    • 12059472
    • 7-Way F Metri-Pack 150, 480 Series Sealed (BLK)

Connector Part Information

    • 12052200
    • 7-Way M Metri-Pack 150, 480 Series Sealed (BLK)

Pin

Wire Color

Circuit No.

Function

Pin

Wire Color

Circuit No.

Function

A

BRN/WHT

1555

Channel P Encoder - Signal

A

BRN/WHT

1555

Channel P Encoder - Signal

B

BLK/WHT

1554

Encoder Signal Ground

B

BLK/WHT

1554

Encoder Signal Ground

C

DK BLU/WHT

1557

Channel A Encoder - Signal

C

DK BLU/WHT

1557

Channel A Encoder - Signal

D

YEL/BLK

1558

Channel B Encoder - Signal

D

YEL/BLK

1558

Channel B Encoder - Signal

E

BLK

1552

Motor Control A

E

BLK

1552

Motor Control A

F

RED/WHT

1556

Channel C Encoder - Signal

F

RED/WHT

1556

Channel C Encoder - Signal

G

RED

1553

Motor Control B

G

RED

1553

Motor Control B

C108 (Active Transfer Case Extension Harness to Body Harness, NP4 (Bravada Only))


Object Number: 95815  Size: CF

Connector Part Information

    • 12059472
    • 7-Way F Metri-Pack 150,480 Series Sealed (BLK)

Connector Part Information

    • 12052200
    • 7-Way M Metri-Pack 150,480 Series Sealed (BLK)

Pin

Wire Color

Circuit No.

Function

Pin

Wire Color

Circuit No.

Function

A

BLK

850

Ground

A

BLK

850

Ground

B

YEL

400

Signal High - Front

B

YEL

400

Signal High - Front

C

PPL

401

Signal Low - Front

C

PPL

401

Signal Low - Front

D

LT BLU

2221

Signal High - Rear

D

LT BLU

2221

Signal High - Rear

E

BLK

1552

Motor Control A

F

BLK

1552

Motor Control A

F

DK GRN

2222

Signal High - Rear

F

DK GRN

2222

Signal High - Rear

G

RED

1553

Motor Control B

G

RED

1553

Motor Control B

C108 (Active Transfer Case Extension Harness to Body Harness, NP8)


Object Number: 366120  Size: CF

Connector Part Information

    • 15326084
    • 16-Way F Global Technology 150,280 Series (BLK)

Connector Part Information

    • 15326085
    • 16-Way M global Technology 150,280 Series (BLK)

Pin

Wire Color

Circuit No.

Function

Pin

Wire Color

Circuit No.

Function

A

BLK

1552

Motor Control A

A

BLK

1552

Motor Control A

B

YEL

400

Signal High - Front

B

YEL

400

Signal High - Front

C

PPL

401

Signal Low - Front

C

PPL

401

Signal Low - Front

D

LT GRN/BLK

431

8 Volt Reference

D

LT GRN/BLK

431

8 Volt Reference

E

BLK/WHT

1554

Encoder Signal Ground

E

BLK/WHT

1554

Encoder Signal Ground

F

BRN/WHT

1555

Channel P Encoder - Signal

F

BRN/WHT

1555

Channel P Encoder - Signal

G

RED/WHT

1556

Channel C Encoder - Signal

G

RED/WHT

1556

Channel C Encoder - Signal

H

ORN

1640

Battery Positive Voltage

H

ORN

1640

Battery Positive Voltage

J

RED

1553

Motor Control B

J

RED

1553

Motor Control B

K

LT BLU

2221

Signal High - Rear

K

LT BLU

2221

Signal High - Rear

L

DK GRN

2222

Signal Low - Rear

L

DK GRN

2222

Signal Low - Rear

M

DK BLU/WHT

1557

Channel A Encoder - Signal

M

DK BLU/WHT

1557

Channel A Encoder - Signal

N

YEL/BLK

1558

Channel B Encoder - Signal

N

YEL/BLK

1558

Channel B Encoder - Signal

P

BLK

850

Ground

P

BLK

850

Ground

R

--

--

Not Used

R

--

--

Not Used

S

TAN

1569

Lock Solenoid Control

S

TAN

1569

Lock Solenoid Control

C109 (Body Harness to the 4WAL/SIR Harness (2 Cavities)


Object Number: 362722  Size: CF

Connector Part Information

    • 12160310
    • 2-Way F Metri-Pack 280 Series, Sealed (YEL)

Connector Part Information

    • 12084180
    • 2-Way Metri-Pack 280 Series, Sealed (YEL)

Pin

Wire Color

Circuit No.

Function

Pin

Wire Color

Circuit No.

Function

A

YEL

1834

Forward Discriminating Sensor Signal

A

YEL

1834

Forward Discriminating Sensor Signal

B

BLK/WHT

1851

Ground

B

BLK/WHT

1851

Ground

C109 (Body Harness to the 4WAL/SIR Harness (6 Cavities)


Object Number: 283872  Size: CF

Connector Part Information

    • 12052848
    • 6-Way F Metri-Pack 280 Series, Sealed (BLK)

Connector Part Information

    • 12124107
    • 6-Way M Metri-Pack 280 Series, Sealed (BLK)

Pin

Wire Color

Circuit No.

Function

Pin

Wire Color

Circuit No.

Function

A

YEL

2160

SIR Forward Sensor Signal

A

YEL

2160

SIR Forward Sensor Signal

B

BLK/WHT

2151

Ground

B

BLK/WHT

2151

Ground

C

LT BLU

830

Left Front Wheel Speed Sensor Signal

C

LT BLU

830

Left Front Wheel Speed Sensor Signal

D

DK GRN

872

Right Front Wheel Speed Sensor Signal

D

DK GRN

872

Right Front Wheel Speed Sensor Signal

E

YEL

873

Left Front Wheel Speed Sensor Low Reference

E

YEL

873

Left Front Wheel Speed Sensor Low Reference

F

TAN

833

Right Front Wheel Speed Sensor Low Reference

F

TAN

833

Right Front Wheel Speed Sensor Low Reference

C111 (Engine Harness to Fuel Injector Harness, 2.2 L Engine)


Object Number: 280747  Size: CF

Connector Part Information

    • 12146045
    • 5-Way F Metri-Pack 150 Series, Sealed (NAT)

Connector Part Information

    • 12103974
    • 5-Way M Metri-Pack 150 Series, Sealed (NAT)

Pin

Wire Color

Circuit No.

Function

Pin

Wire Color

Circuit No.

Function

A

PNK

439

Ignition 1 Voltage

A

GRY

120

Fuel Pump Supply Voltage

B

BLK

1744

IAC Coil A High Control

B

BLK

1744

IAC Coil A High Control

C

LT GRN/BLK

1745

Fuel Injector 2 Control

C

LT GRN/BLK

1745

Fuel Injector 2 Control

D

PNK/BLK

1746

Fuel Injector 3 Control

D

PNK/BLK

1746

Fuel Injector 3 Control

E

LT BLU/BLK

844

Fuel Injector 4 Control

E

LT BLU/BLK

844

Fuel Injector 4 Control

C114 (w/4WD Body Harness to Front Axle Switch Extension Harness)


Object Number: 302000  Size: CF

Connector Part Information

    • 12052641
    • 2-Way F Metri-Pack 150 Series, Sealed, (BLK)

Connector Part Information

    • 12162000
    • 2-Way Metri-Pack 150 Series, Sealed, (BLK)

Pin

Wire Color

Circuit No.

Function

Pin

Wire Color

Circuit No.

Function

A

BRN

241

Ignition 3 Voltage

A

BRN

241

Ignition 3 Voltage

B

BLK/WHT

1695

Axle Switch Signal

B

BLK/WHT

1695

Axle Switch Signal

C116 C1


Object Number: 232831  Size: CH

Object Number: 598698  Size: CH

Connector Part Information

    • 12162194
    • 2 Way F Metri-Pack 150 Series Sealed, Pull-to-Seat (BLK)

Connector Part Information

    • 12160435
    • 2 Way M Metri-Pack 150 Series, Insert Molded (BLK)

Pin

Wire Color

Circuit No.

Function

Pin

Wire Color

Circuit No.

Function

A

LT GRN/BLK

822

VSS High Signal

A

LT GRN/BLK

822

VSS High Signal

B

PPL/WHT

821

VSS Low Signal

B

PPL/WHT

821

VSS Low Signal

C116 C2 (Engine Harness To Active Transfer Case Harness)


Object Number: 232831  Size: CH

Object Number: 598698  Size: CH

Connector Part Information

    • 12162194
    • 2 Way F Metri-Pack 150.2 Series Sealed, Pull-to-Seat (BLK)

Connector Part Information

    • 12160435
    • 2 Way M Metri-Pack 150 Series, Insert Molded (BLK)

Pin

Wire Color

Circuit No.

Function

Pin

Wire Color

Circuit No.

Function

A

PPL/WHT

821

VSS High Signal

A

PPL/WHT

821

VSS High Signal

B

LT GRN/BLK

822

VSS Low Signal

B

LT GRN/BLK

822

VSS Low Signal

C117 (Engine Harness to AIR Harness, w/ California Emissions)


Object Number: 302000  Size: CF

Connector Part Information

    • 12052641
    • 2-Way F Metri-Pack 150 Series, Sealed (BLK)

Connector Part Information

    • 12162000
    • 2-Way M Metri-Pack 150 Series, Sealed (BLK)

Pin

Wire Color

Circuit No.

Function

Pin

Wire Color

Circuit No.

Function

A

PNK

639

Ignition 1 Voltage

A

PNK

639

Ignition 1 Voltage

B

BRN

436

AIR Pump Relay Control

B

BRN

436

AIR Pump Relay Control

C119 (4WAL/SIR Harness To AIR Jumper Harness)


Object Number: 283873  Size: CF

Connector Part Information

    • 12077988
    • 2-Way F Metri-Pack 280 Series, Sealed (YEL)

Connector Part Information

    • 12084180
    • 2-Way M Metri-Pack 280 Series, Sealed (YEL)

Pin

Wire Color

Circuit No.

Function

Pin

Wire Color

Circuit No.

Function

A

YEL

1834

Forward Discriminating Sensor Signal

A

YEL

1834

Forward Discriminating Sensor Signal

B

BLK/WHT

1851

Ground

B

BLK/WHT

1851

Ground

C200 (IP Harness to Body Harness)


Object Number: 362727  Size: CF

Connector Part Information

    • 12186991
    • 2-Way F Metri-Pack 280 Series, (YEL)

Connector Part Information

    • 12186989
    • 2-Way M Metri-Pack 280 Series, (YEL)

Pin

Wire Color

Circuit No.

Function

Pin

Wire Color

Circuit No.

Function

A

WHT/BLK

1403

IP Module - High Control

A

WHT/BLK

1403

IP Module - High Control

B

DK GRN/WHT

1404

IP Module - Low Control

B

DK GRN/WHT

1404

IP Module - Low Control

C201 (Steering Column Harness to Redundant Steering Wheel Control Harness)


Object Number: 40395  Size: CF

Connector Part Information

    • 12092162
    • 4-Way F Metri-Pack 150 Series, (BLK)

Connector Part Information

    • 15326050
    • 4-Way M Metri-Pack 150 Series, (BLK)

Pin

Wire Color

Circuit No.

Function

Pin

Wire Color

Circuit No.

Function

A

YEL

43

Accessory Voltage

A

YEL

43

Accessory Voltage

B

GRY

949

Instrument Panel Lamp Feed

B

GRY

949

Instrument Panel Lamp Feed

C

LT GRN

1011

Remote Radio Control Signal

C

LT GRN

1011

Remote Radio Control Signal

D

BLK

152

Ground

D

BLK

152

Ground

C203 (IP Harness to Body Harness)


Object Number: 362729  Size: CF

Connector Part Information

    • 15318195
    • 116-Way F Metri-Pack 150,280 Series (BLK)

Connector Part Information

    • 12162463
    • 116-Way M Metri-Pack 150,280 Series (BLK)

Pin

Wire Color

Circuit No.

Function

Pin

Wire Color

Circuit No.

Function

A1

LT BLU

115

Right Rear Speaker Output (-)

A1

LT BLU

115

Right Rear Speaker Output (-)

A2

DK BLU

46

Right Rear Speaker Output (+)

A2

DK BLU

46

Right Rear Speaker Output (+)

A3

YEL

116

Left Rear Speaker Output (-)

A3

YEL

116

Left Rear Speaker Output (-)

A4

BRN

199

Left Rear Speaker Output (+)

A4

BRN

199

Left Rear Speaker Output (+)

A5

GRY

118

Left Front Speaker Output (-)

A5

GRY

118

Left Front Speaker Output (-)

A6

TAN

201

Left Front Speaker Output (+)

A6

TAN

201

Left Front Speaker Output (+)

A7

BARE

2011

Left Front Audio Drain Wire (w/ Uplevel Audio Only)

A7

BARE

2011

Left Front Audio Drain Wire (w/ Uplevel Audio Only)

A7

--

--

Not Used (w/ Baselevel Audio)

A7

--

--

Not Used (w/ Baselevel Audio)

A8

--

--

Not Used

A8

--

--

Not Used

A9

--

--

Not Used (Pickup)

A9

--

--

Not Used (Pickup)

A9

DK GRN

1301

RAP Fuse Supply Voltage (Utility)

A9

DK GRN

1301

RAP Fuse Supply Voltage (Utility)

A10

BRN

1244

Instrument Panel Lamp Supply Voltage

A10

BRN

1244

Instrument Panel Lamp Supply Voltage

A11

DK GRN

801

RAP Fuse Supply Voltage

A11

DK GRN

801

RAP Fuse Supply Voltage

A12

DK BLU

1796

Remote Radio Control Signal

A12

DK BLU

1796

Remote Radio Control Signal

A13

--

--

Not Used (Except Envoy)

A13

--

--

Not Used (Except Envoy)

A13

WHT

352

Headlamp Relay Coil Supply Voltage (Envoy)

A13

WHT

352

Headlamp Relay Coil Supply Voltage (Envoy)

B1

BRN

41

Ignition 3 Voltage

B1

BRN

41

Ignition 3 Voltage

B2

--

--

Not Used (Except Envoy)

B2

--

--

Not Used (Except Envoy)

B2

DK GRN

835

Entertainment and Comfort Serial Data (Envoy)

B2

DK GRN

835

Entertainment and Comfort Serial Data (Envoy)

B3

--

--

Not Used (w/o Power Locks)

B3

--

--

Not Used (w/o Power Locks)

B3

LT GRN

262

Driver Door Key Switch Signal (w/ Power Locks)

B3

LT GRN

262

Driver Door Key Switch Signal (w/ Power Locks)

B4

--

--

Not Used

B4

--

--

Not Used

B5

--

--

Not Used (Except Envoy)

B5

--

--

Not Used (Except Envoy)

B5

WHT

103

Headlamp Switch Headlamps On Signal (Envoy)

B5

WHT

103

Headlamp Switch Headlamps On Signal (Envoy)

B6

WHT

193

Rear Defogger Relay Control (w/ A/C)

B6

WHT

193

Rear Defogger Relay Control (w/ A/C)

B7

WHT

1390

Off/Run/Crank Voltage

B7

WHT

1390

Off/Run/Crank Voltage

B8

ORN

1740

Battery Positive Voltage (w/ A/C)

B8

ORN

1740

Battery Positive Voltage (w/ A/C)

B9

ORN

640

Battery Positive Voltage

B9

ORN

640

Battery Positive Voltage

B10

ORN

240

Battery Positive Voltage

B10

ORN

240

Battery Positive Voltage

B11

ORN

40

Battery Positive Voltage

B11

ORN

40

Battery Positive Voltage

B12

--

--

Not Used (w/o Fog Lamps)

B12

--

--

Not Used (w/o Fog Lamps)

B12

PPL

34

Front Fog Lamps Supply Voltage (w/Fog Lamps)

B12

PPL

34

Front Fog Lamps Supply Voltage (w/Fog Lamps

B13

--

--

Not Used (Except Envoy)

B13

--

--

Not Used (Except Envoy)

B13

LT BLU

553

Tow/Haul Switch Signal (Envoy)

B13

LT BLU

553

Tow/Haul Switch Signal (Envoy)

C1

--

--

Not Used (Except Envoy)

C1

--

--

Not Used (Except Envoy)

C1

ORN

340

Battery Positive Voltage (Envoy)

C1

ORN

340

Battery Positive Voltage (Envoy)

C2

--

--

Not Used (w/o Rear Wiper)

C2

--

--

Not Used (w/o Rear Wiper)

C2

GRY

391

Rear Window Wiper Switch Signal

C2

GRY

391

Rear Window Wiper Switch Signal

C3

--

--

Not Used

C3

--

--

Not Used

C4

ORN

52

High Blower Motor Control (w/ Man A/C)

C4

ORN

52

High Blower Motor Control (w/ Man A/C)

C4

--

--

Not Used (w/ Auto A/C)

C4

--

--

Not Used (w/ Auto A/C)

C5

TAN

63

Medium 1 Blower Motor Control (w/ Man A/C)

C5

TAN

63

Medium 1 Blower Motor Control (w/ Man A/C)

C5

--

--

Not Used (w/ Auto A/C)

C5

--

--

Not Used (w/ Auto A/C)

C6

BRN

64

High Blower Motor Relay Control (w/ Man A/C)

C6

BRN

64

High Blower Motor Relay Control (w/ Man A/C)

C6

--

--

Not Used (w/ Auto A/C)

C6

--

--

Not Used (w/ Auto A/C)

C7

LT BLU

72

Medium 2 Blower Motor Control (w/ Man A/C)

C7

LT BLU

72

Medium 2 Blower Motor Control (w/ Man A/C)

C7

--

--

Not Used (w/ Auto A/C)

C7

--

--

Not Used (w/ Auto A/C)

C8

LT BLU

203

A/C Request Signal

C8

LT BLU

203

A/C Request Signal

C9

--

--

Not Used (w/o Auto A/C)

C9

--

--

Not Used (w/o Auto A/C)

C9

LT BLU

706

Recirculation Mode Valve Solenoid Control (w/ Auto A/C)

C9

LT BLU

706

Recirculation Mode Valve Solenoid Control (w/ Auto A/C)

C10

--

--

Not Used (w/o Auto A/C)

C10

--

--

Not Used (w/o Auto A/C)

C10

PPL

361

Defrost Mode Valve Solenoid Control (w/ Auto A/C)

C10

PPL

361

Defrost Mode Valve Solenoid Control (w/ Auto A/C)

C11

--

--

Not Used (w/o Auto A/C)

C11

--

--

Not Used (w/o Auto A/C)

C11

RED

362

Upper Mode Valve Solenoid Control (w/ Auto A/C)

C11

RED

362

Upper Mode Valve Solenoid Control (w/ Auto A/C)

C12

--

--

Not Used (w/o Auto A/C)

C12

--

--

Not Used (w/o Auto A/C)

C12

TAN

363

Upper Mode Valve Solenoid Control (w/ Auto A/C)

C12

TAN

363

Upper Mode Valve Solenoid Control (w/ Auto A/C)

C13

--

--

Not Used (w/o Auto A/C)

C13

--

--

Not Used (w/o Auto A/C)

C13

LT GRN/BLK

366

Lower Mode Valve Solenoid Control (w/ Auto A/C)

C13

LT GRN/BLK

366

Lower Mode Valve Solenoid Control (w/ Auto A/C)

D1

--

--

Not Used

D1

--

--

Not Used

D2

--

--

Not Used (w/o Auto A/C)

D2

--

--

Not Used (w/o Auto A/C)

D2

WHT

1038

HVAC Class 2 Serial Data (w/ Auto A/C)

D2

WHT

1038

HVAC Class 2 Serial Data (w/ Auto A/C)

D3

--

--

Not Used (w/o Auto A/C)

D3

--

--

Not Used (w/o Auto A/C)

D3

BLK

552

Low Reference (w/ Auto A/C)

D3

BLK

552

Low Reference (w/ Auto A/C)

D4

--

--

Not Used (w/o Auto A/C)

D4

--

--

Not Used (w/o Auto A/C)

D4

LT GRN

405

Air Temperature Sensor Signal - Lower (w/ Auto A/C)

D4

LT GRN

405

Air Temperature Sensor Signal - Lower (w/ Auto A/C)

D5

LT BLU

733

Air Temperature Door Control (w/Manual A/C)

Air Temperature Door Position Signal (w/Auto A/C)

D5

LT BLU

733

Air Temperature Door Control (w/Manual A/C)

Air Temperature Door Position Signal (w/Auto A/C)

D6

--

--

Not Used (w/o Auto A/C)

D6

--

--

Not Used (w/o Auto A/C)

D6

DK GRN

734

Inside Air Temperature Sensor Signal

D6

DK GRN

734

Inside Air Temperature Sensor Signal

D7

--

--

Not Used (w/o Auto A/C)

D7

--

--

Not Used (w/o Auto A/C)

D7

DK GRN/WHT

636

Outside Air Temperature Sensor Signal (w/ Auto A/C)

D7

DK GRN/WHT

636

Outside Air Temperature Sensor Signal (w/ Auto A/C)

D8

--

--

Not Used (w/o Auto A/C)

D8

--

--

Not Used (w/o Auto A/C)

D8

PPL/WHT

760

Blower Motor Speed Control - Auxiliary (w/ Auto A/C)

D8

PPL/WHT

760

Blower Motor Speed Control - Auxiliary (w/ Auto A/C)

D9

--

--

Not Used (w/o Auto A/C)

D9

--

--

Not Used (w/o Auto A/C)

D9

YEL

1791

Low Reference (w/ Auto A/C)

D9

YEL

1791

Low Reference (w/ Auto A/C)

D10

--

--

Not Used (w/o Auto A/C)

D10

--

--

Not Used (w/o Auto A/C)

D10

DK BLU

1199

Air Temperature Door Control (w/ Auto A/C)

D10

DK BLU

1199

Air Temperature Door Control (w/ Auto A/C)

D11

--

--

Not Used (w/o Auto A/C)

D11

--

--

Not Used (w/o Auto A/C)

D11

LT BLU/BLK

1688

5 Volt Reference (w/ Auto A/C)

D11

LT BLU/BLK

1688

5 Volt Reference (w/ Auto A/C)

D12-13

--

--

Not Used

D12-13

--

--

Not Used

E1

--

--

Not Used (w/o Rear Wiper)

E1

--

--

Not Used (w/o Rear Wiper)

E1

DK GRN

392

Rear Window Washer Pump Control

E1

DK GRN

392

Rear Window Washer Pump Control

E2

BLK

1050

Ground

E2

BLK

1050

Ground

E11

DK GRN

389

Vehicle Speed Signal

E11

DK GRN

389

Vehicle Speed Signal

E12

WHT

352

Headlamp Relay Coil Supply Voltage (Except Envoy)

E12

WHT

352

Headlamp Relay Coil Supply Voltage (Except Envoy)

E12

ORN

1040

Battery Positive Voltage (Envoy)

E12

ORN

1040

Battery Positive Voltage (Envoy)

F1

PNK

3

Ignition 1 Voltage

F1

PNK

3

Ignition 1 Voltage

F2

YEL

143

Accessory Voltage

F2

YEL

143

Accessory Voltage

F11

--

--

Not Used (w/o Power Locks/Windows)

F11

--

--

Not Used (w/o Power Locks/Windows)

F11

BRN

2409

Interior Park Lamps Supply Voltage (w/ Power Locks/Windows)

F11

BRN

2409

Interior Park Lamps Supply Voltage (w/ Power Locks/Windows)

F12

BLK

1050

Ground

F12

BLK

1050

Ground

G1

PPL/WHT

1382

LED Dimming Signal

G1

PPL/WHT

1382

LED Dimming Signal

G1

PPL/WHT

1382

LED Dimming Signal (Except Pickup)

G1

PPL/WHT

1382

LED Dimming Signal (Except Pickup)

G2

--

--

Not Used (Pickup)

G2

--

--

Not Used (Pickup)

G2

GRY

1220

Instrument Panel Lamps Fuse Supply Votlage (Except Pickup)

G2

GRY

1220

Instrument Panel Lamps Fuse Supply Votlage (Except Pickup)

G11

--

--

Not Used (w/o Power Locks)

G11

--

--

Not Used (w/o Power Locks)

G11

ORN

54

Door Jamb Switch Signal - Passenger (w/ Power Locks

G11

ORN

54

Door Jamb Switch Signal - Passenger (w/ Power Locks)

G12

WHT

156

Courtesy Lamp Output

G12

WHT

156

Courtesy Lamp Output

H1

--

--

Not Used (Except Envoy)

H1

--

--

Not Used (Except Envoy)

H1

WHT

156

Courtesy Lamp Switch Signal (Envoy)

H1

WHT

156

Courtesy Lamp Switch Signal (Envoy)

H2

--

--

Not Used (w/o 4WD, or Bravada)

H2

--

--

Not Used (w/o 4WD, or Bravada)

H2

LT GRN/BLK

431

8 Volt Reference (w/ S4WD)

H2

LT GRN/BLK

431

8 Volt Reference (w/ S4WD)

H3

--

--

Not Used (w/o 4WD, or Bravada)

H3

--

--

Not Used (w/o 4WD, or Bravada)

H3

PNK

1561

AWD Indicator Control (w/ S4WD)

H3

PNK

1561

AWD Indicator Control (w/ S4WD)

H4

--

--

Not Used (w/o 4WD, or Bravada)

H4

--

--

Not Used (w/o 4WD, or Bravada)

H4

LT BLU

1693

Switch Signal (w/ S4WD)

H4

LT BLU

1693

Switch Signal (w/ S4WD)

H5

--

--

Not Used (w/o 4WD, or Bravada)

H5

--

--

Not Used (w/o 4WD, or Bravada)

H5

LT GRN/BLK

1563

2 'Hi' Indicator Control (w/ S4WD)

H5

LT GRN/BLK

1563

2 'Hi' Indicator Control (w/ S4WD)

H6

--

--

Not Used (w/o 4WD, or Bravada)

H6

--

--

Not Used (w/o 4WD, or Bravada)

H6

BRN

1560

Neutral Indicator Control (w/ S4WD)

H6

BRN

1560

Neutral Indicator Control (w/ S4WD)

H7

--

--

Not Used (w/o 4WD, or Bravada)

H7

--

--

Not Used (w/o 4WD, or Bravada)

H7

PPL/WHT

1565

4 'Lo' Indicator Control (w/ S4WD)

H7

PPL/WHT

1565

4 'Lo' Indicator Control (w/ S4WD)

H8

--

--

Not Used (w/o 4WD, or Bravada)

H8

--

--

Not Used (w/o 4WD, or Bravada)

H8

TAN/BLK

1566

4 'Hi' Indicator Control (w/ S4WD)

H8

TAN/BLK

1566

4 'Hi' Indicator Control (w/ S4WD)

H9

BRN

2409

Interior Park Lamps Supply Voltage

H9

BRN

2409

Interior Park Lamps Supply Voltage

H10-12

--

--

Not Used

H10-12

--

--

Not Used

H13

BLK/WHT

451

Ground

H13

BLK/WHT

451

Ground

J1

PNK

39

Ignition 1 Voltage

J1

PNK

39

Ignition 1 Voltage

J2

PNK

139

Ignition 1 Voltage

J2

PNK

139

Ignition 1 Voltage

J3

YEL

1139

Ignition 1 Voltage

J3

YEL

1139

Ignition 1 Voltage

J4-5

--

--

Not Used

J4-5

--

--

Not Used

J6

LT BLU/WHT

1414

Left Front Turn Signal Switch Signal

J6

LT BLU/WHT

1414

Left Front Turn Signal Switch Signal

J7

DK BLU/WHT

1415

Right Front Turn Signal Switch Signal

J7

DK BLU/WHT

1415

Right Front Turn Signal Switch Signal

J8

--

--

Not Used

J8

--

--

Not Used

J9

BRN

1356

Flash to Pass Switch Signal

J9

BRN

1356

Flash to Pass Switch Signal

J10-13

--

--

Not Used

J10-13

--

--

Not Used

K1

BRN

341

Ignition 3 Voltage

K1

BRN

341

Ignition 3 Voltage

K2

--

--

Not Used (w/ 2.2 L)

K2

--

--

Not Used (w/ 2.2 L)

K2

BRN

241

Ignition 3 Voltage (w/ 4.3 L)

K2

BRN

241

Ignition 3 Voltage (w/ 4.3 L)

K3

BRN

441

Ignition 3 Voltage

K3

BRN

441

Ignition 3 Voltage

K4

PNK

1020

Off/Run/Crank Voltage

K4

PNK

1020

Off/Run/Crank Voltage

K5

--

--

Not Used

K5

--

--

Not Used

K6

ORN

1732

Courtesy Lamps Supply Voltage

K6

ORN

1732

Courtesy Lamps Supply Voltage

K7

DK GRN

117

Right Front Speaker Output (-)

K7

DK GRN

117

Right Front Speaker Output (-)

K8

LT GRN

200

Right Front Speaker Output (+)

K8

LT GRN

200

Right Front Speaker Output (+)

K9

--

--

Not Used (w/ Base Level Audio)

K9

--

--

Not Used (w/ Base Level Audio)

K9

Bare

2012

Right Front Audio Drain Wire (w/ Uplevel Audio)

K9

Bare

2012

Right Front Audio Drain Wire (w/ Uplevel Audio)

K10

--

--

Not Used

K10

--

--

Not Used

K11

LT BLU

74

Park Lamp Switch Signal

K11

LT BLU

74

Park Lamp Switch Signal

K12

PNK

353

IP Module Suppression Indicator Control

K12

PNK

353

IP Module Suppression Indicator Control

K12

--

--

Not Used (Utility)

K12

--

--

Not Used (Utility)

K13

TAN/BLK

371

IP Module Disable Switch Signal (Pickup)

K13

TAN/BLK

371

IP Module Disable Switch Signal (Pickup)

K13

--

--

Not Used (Utility)

K13

--

--

Not Used (Utility)

L1

--

--

Not Used

L1

--

--

Not Used

L2

BRN/WHT

419

MIL Control

L2

BRN/WHT

419

MIL Control

L3

--

--

Not Used

L3

--

--

Not Used

L4

ORN/BLK

1786

Transmission Park/Neutral Signal

L4

ORN/BLK

1786

Transmission Park/Neutral Signal

L5

TAN/WHT

331

Oil Pressure Sensor Signal

L5

TAN/WHT

331

Oil Pressure Sensor Signal

L6

WHT

121

Engine Speed Signal

L6

WHT

121

Engine Speed Signal

L7

GRY

1036

IPC Class 2 Serial Data

L7

GRY

1036

IPC Class 2 Serial Data

L8

--

--

Not Used

L8

--

--

Not Used

L9

PPL/WHT

1035

Starter Relay Coil Supply Voltage (Liftgate, Except Envoy)

L9

PPL/WHT

1035

Starter Relay Coil Supply Voltage (Liftgate, Except Envoy)

L9

--

--

Not Used (Except Liftgate)

L9

--

--

Not Used (Except Liftgate)

L10-13

--

--

Not Used

L10-13

--

--

Not Used

C204 (Floor Shifter Harness to Body Harness) (Utility)


Object Number: 420825  Size: CF

Connector Part Information

    • 12065873
    • 7-Way F Micro-Pack 100 Series (BLK)

Connector Part Information

    • 12065874
    • 7-Way M Micro-Pack 100 Series (BLK)

Pin

Wire Color

Circuit No.

Function

Pin

Wire Color

Circuit No.

Function

1

BLK

1850

Ground

1

BLK

1850

Ground

2

LT GRN/BLK

584

A/T Shift Lock Control Switch Supply Voltage

2

LT GRN/BLK

584

A/T Shift Lock Control Switch Supply Voltage

3

YEL

1996

Remote Shift Select Signal

3

YEL

1996

Remote Shift Select Signal

4

GRY

1220

Instrument Panel Lamps Fuse Supply Voltage

4

GRY

1220

Instrument Panel Lamps Fuse Supply Voltage

5

DK GRN/WHT

1135

A/T Shift Lock Control Solenoid Supply Voltage

5

DK GRN/WHT

1135

A/T Shift Lock Control Solenoid Supply Voltage

6

PNK

1020

Off/Run/Crank Voltage

6

PNK

1020

Off/Run/Crank Voltage

7

LT BLU

553

Tow/Haul Switch Signal

7

LT BLU

553

Tow/Haul Switch Signal

C205 (IP Harness to Console Harness, Envoy Only)


Object Number: 423113  Size: CF

Connector Part Information

    • 15304837
    • 40-Way F Global Technologies 150/280 Series Mixed (BLK)

Connector Part Information

    • 15326176
    • 40-Way M Global Technologies 150/280 Series Mixed (BLK)

Pin

Wire Color

Circuit No.

Function

Pin

Wire Color

Circuit No.

Function

A1

DK GRN

145

Antenna Relay Coil Supply Voltage

A1

DK GRN

145

Antenna Relay Coil Supply Voltage

A2

BARE

1573

Front Audio Drain Wire (-)

A2

BARE

1573

Front Audio Drain Wire (-)

A3

ORN

1340

Battery Positive Voltage

A3

ORN

1340

Battery Positive Voltage

A4

ORN

1040

Battery Positive Voltage

A4

ORN

1040

Battery Positive Voltage

A5

GRY

118

Left Front Speaker Output (-)

A5

GRY

118

Left Front Speaker Output (-)

A6

TAN

201

Left Front Speaker Output (+)

A6

TAN

201

Left Front Speaker Output (+)

A7

BARE

2011

Left Front Audio Drain Wire

A7

BARE

2011

Left Front Audio Drain Wire

A8

DK GRN

1301

RAP Fuse Supply Voltage

A8

DK GRN

1301

RAP Fuse Supply Voltage

B1

TAN

511

Left Front Low Level Audio Signal (+)

B1

TAN

511

Left Front Low Level Audio Signal (+)

B2

BRN

599

Left Rear Low Level Audio Signal (+)

B2

BRN

599

Left Rear Low Level Audio Signal (+)

B3

ORN/BLK

1546

Front Low Level Audio Signal (+)

B3

ORN/BLK

1546

Front Low Level Audio Signal (+)

B4

BLK

1856

Left Front Tweeter Speaker Output (+)

B4

BLK

1856

Left Front Tweeter Speaker Output (+)

B5

YEL

1956

Left Front Tweeter Speaker Output (-)

B5

YEL

1956

Left Front Tweeter Speaker Output (-)

B6

BRN

199

Left Rear Speaker Output (+)

B6

BRN

199

Left Rear Speaker Output (+)

B7

YEL

116

Left Rear Speaker Output (-)

B7

YEL

116

Left Rear Speaker Output (-)

B8

LT BLU

1405

Remote Playback Device Audio Common Signal

B8

LT BLU

1405

Remote Playback Device Audio Common Signal

B9

BLK

1050

Ground

B9

BLK

1050

Ground

B10

DK GRN

835

Entertainment and Comfort Serial Data

B10

DK GRN

835

Entertainment and Comfort Serial Data

B11

ORN

340

Battery Positive Voltage

B11

ORN

340

Battery Positive Voltage

B12

--

--

Not Used

B12

--

--

Not Used

C1

LT GRN

512

Right Front Low Level Audio Signal (+)

C1

LT GRN

512

Right Front Low Level Audio Signal (+)

C2

DK BLU

546

Right Rear Low Level Audio Signal (+)

C2

DK BLU

546

Right Rear Low Level Audio Signal (+)

C3

DK GRN/WHT

1547

Rear Low Level Audio Signal (-)

C3

DK GRN/WHT

1547

Rear Low Level Audio Signal (-)

C4

LT GRN

1852

Right Front Tweeter Speaker Output (+)

C4

LT GRN

1852

Right Front Tweeter Speaker Output (+)

C5

PPL

1952

Right Front Tweeter Speaker Output (-)

C5

PPL

1952

Right Front Tweeter Speaker Output (-)

C6

DK BLU

46

Right Rear Speaker Output (+)

C6

DK BLU

46

Right Rear Speaker Output (+)

C7

LT BLU

115

Right Rear Speaker Output (-)

C7

LT BLU

115

Right Rear Speaker Output (-)

C8

BARE

2011

Left Front Audio Drain Wire

C8

BARE

514

Left Front Audio Drain Wire

C9

DK GRN/ WHT

368

Remote Radio Right Audio Signal

C9

DK GRN/ WHT

368

Remote Radio Right Audio Signal

C10

BRN/WHT

367

Remote Radio Left Audio Signal

C10

BRN/WHT

367

Remote Radio Left Audio Signal

C11

BLK/WHT

372

Remote Radio Audio Output (-)

C11

BLK/WHT

372

Remote Radio Audio Output (-)

C12

LT BLU

553

Tow/Haul Switch Signal

C12

LT BLU

553

Tow/Haul Switch Signal

D1

PNK

314

Radio On Signal

D1

PNK

314

Radio On Signal

D2

BARE

1574

Rear Audio Drain Wire (-)

D2

BARE

1574

Rear Audio Drain Wire (-)

D3

BRN

2409

Interior Park Lamps Supply Voltage

D3

BRN

2409

Interior Park Lamps Supply Voltage

D4

BLK

1050

Ground

D4

BLK

1050

Ground

D5

DK GRN

117

Right Front Speaker Output (-)

D5

DK GRN

117

Right Front Speaker Output (-)

D6

LT GRN

200

Right Front Speaker Output (+)

D6

LT GRN

200

Right Front Speaker Output (+)

D7

BARE

2012

Right Front Audio Drain Wire

D7

BARE

2012

Right Front Audio Drain Wire

D8

LT GRN

1011

Remote Radio Control Signal

D8

LT GRN

1011

Remote Radio Control Signal

C207


Object Number: 62467  Size: CH

Object Number: 570392  Size: CH

Connector Part Information

    • 12066130
    • 9 Way F Micro-Pack 100 Series (NAT)

Connector Part Information

    • 12047813
    • 9 Way M Micro-Pack 100 Series, (NAT)

Pin

Wire Color

Circuit No.

Function

Pin

Wire Color

Circuit No.

Function

7-8

--

--

Not Used

7-8

--

--

Not Used

9

BARE

814

Drain Wire

9

BARE

2011

LF Audio Drain Wire

10

DK GRN/WHT

368

Remote Radio Right Audio Signal

10

DK GRN/WHT

368

Remote Radio Right Audio Signal

11

BRN/WHT

367

Remote Radio Left Audio Signal

11

BRN/WHT

367

Remote Radio Left Audio Signal

12

BLK/WHT

372

Remote Radio Audio Output (-)

12

BLK/ORN

372

Remote Radio Audio Output (-)

13

--

--

Not Used

13

--

--

Not Used

14

DK GRN

835

Entertainment and Comfort Serial Data

14

DK GRN

835

Entertainment and Comfort Serial Data

15

--

--

Not Used

15

--

--

Not Used

C209 (Dome Harness to Body Harness)


Object Number: 362732  Size: CF

Connector Part Information

    • 15305133
    • 16-Way F Global Technology 150, 280 Series (BLK)

Connector Part Information

    • 15305132
    • 16-Way M Global Technology 150, 280 Series (BLK)

Pin

Wire Color

Circuit No.

Function

Pin

Wire Color

Circuit No.

Function

A

--

--

Not Used (Pickup)

A

--

--

Not Used (Pickup)

A

DK GRN

1001

RAP Fuse Supply Voltage (Utility)

A

DK GRN

1001

RAP Fuse Supply Voltage (Utility)

B

--

--

Not Used (Pickup)

B

--

--

Not Used (Pickup)

B

LT GRN

1324

Backup Lamps Supply Voltage (Utility)

B

LT GRN

1324

Backup Lamps Supply Voltage (Utility)

C

BLK

1850

Ground (Pickup)

C

BLK

1850

Ground (Pickup)

C

YEL

1127

Trip Computer/Nav Class 2 Serial Data (Utility)

C

YEL

1127

Trip Computer/Nav Class 2 Serial Data (Utility)

D

--

--

Not Used (Pickup)

D

--

--

Not Used (Pickup)

D

DK GRN

734

Inside Air Temperature Sensor Signal (Utility w/ Auto A/C)

D

DK GRN

734

Inside Air Temperature Sensor Signal (Utility w/ Auto A/C)

E

LT BLU

1320

CHMSL Supply Voltage (Pickup)

E

LT BLU

1320

Fuse Output - CHMSL (Pickup)

E

GRY

1220

Instrument Panel Lamps Fuse Supply Voltage (Utility)

E

GRY

1220

Instrument Panel Lamps Fuse Supply Voltage (Utility)

F

LT BLU

115

Right Rear Speaker Output (-) (Ext Cab Pickup)

F

LT BLU

115

Right Rear Speaker Output (-) (Ext Cab Pickup)

F

BLK/WHT

451

Ground (Utility)

F

BLK/WHT

451

Ground (Utility)

G

DK BLU

46

Right Rear Speaker Output (+) (Ext Cab Pickup)

G

DK BLU

46

Right Rear Speaker Output (+) (Ext Cab Pickup)

G

LT GRN/BLK

735

Outside Air Temperature Sensor Signal (Utility)

G

LT GRN/BLK

735

Outside Air Temperature Sensor Signal (Utility)

H

YEL

116

Speaker Return - Left Rear (Ext Cab Pickup)

H

YEL

116

Speaker Return - Left Rear (Ext Cab Pickup)

H

BLK

1850

Ground (Utility)

H

BLK

1850

Ground (Utility)

J

BRN

199

Left Rear Speaker Output (-) (Ext Cab Pickup)

J

BRN

199

Left Rear Speaker Output (-) (Ext Cab Pickup)

J

BLK

552

Sensor Return (Utility w/ Auto A/C)

J

BLK

552

Sensor Return (Utility w/ Auto A/C)

K

ORN

1732

Courtesy Lamps Supply Voltage

K

ORN

1732

Courtesy Lamps Supply Voltage

L

WHT

156

Courtesy Lamp Switch Signal

L

WHT

156

Courtesy Lamp Switch Signal

M

--

--

Not Used (Pickup)

M

--

--

Not Used (Pickup)

M

PPL/WHT

1382

Led Dimming Signal (Utility)

M

PPL/WHT

1382

Led Dimming Signal (Utility)

N

--

--

Not Used (Pickup)

N

--

--

Not Used (Pickup)

N

DK GRN/ WHT

817

Vehicle Speed Signal

N

DK GRN/ WHT

817

Vehicle Speed Signal

P

--

--

Not Used (Pickup)

P

--

--

Not Used (Pickup)

P

DK GRN

1301

RAP Fuse Supply Voltage (Utility)

P

DK GRN

1301

RAP Fuse Supply Voltage (Utility)

R

ORN

40

Battery Positive Voltage

R

ORN

40

Battery Positive Voltage

S

--

--

Not Used (Pickup)

S

--

--

Not Used (Pickup)

S

BRN

341

Ignition 3 Voltage (Utility)

S

BRN

341

Ignition 3 Voltage (Utility)

C210 (Body Harness to Redundant Steering Wheel Controls Harness)


Object Number: 40395  Size: CF

Connector Part Information

    • 12092162
    • 4-Way F Metri-Pack 150 Series (BLK)

Connector Part Information

    • 15326050
    • 4-Way M Metri-Pack 150 Series (BLK)

Pin

Wire Color

Circuit No.

Function

Pin

Wire Color

Circuit No.

Function

A

YEL

801

RAP Fuse Supply Voltage

A

DK GRN

801

RAP Fuse Supply Voltage

B

GRY

1244

Instrument Panel Lamp Supply Voltage

B

BRN

1244

Instrument Panel Lamp Supply Voltage

C

LT GRN

1796

Remote Radio Control Signal

C

DK BLU

1796

Remote Radio Control Signal

D

BLK/WHT

1850

Ground

D

BLK

1850

Ground

C211 (Body Harness to Steering Column Harness)


Object Number: 588847  Size: CF

Connector Part Information

    • 12047842
    • 17-Way F Metri-Pack 150 Series (BLK)
    • 12084183
    • 18-Way F Metri-Pack 280, 630 Series (BLK)
    • 12047840
    • 13-Way F Metri-Pack 280 Series (GRY)

Connector Part Information

    • 12077822
    • 48-Way M Metri-Pack 150, 280, 630 Series (BLK)

Pin

Wire Color

Circuit No.

Function

Pin

Wire Color

Circuit No.

Function

A1

WHT

17

Stop Lamp Switch Signal

A1

WHT

17

Stop Lamp Switch Signal

A2

PNK

139

Ignition 1 Voltage

A2

PNK

139

Ignition 1 Voltage

A3

LT BLU

1508

Turn/Hazard Module Supply Voltage

A3

LT BLU

1508

Turn/Hazard Module Supply Voltage

A4

ORN

140

Battery Positive Voltage

A4

ORN

140

Battery Positive Voltage

A5

PPL

1697

Turn/Hazard Module Signal

A5

PPL

1697

Turn/Hazard Module Signal

A6

DK BLU

1415

Right Front Turn Signal Switch Signal

A6

DK BLU/WHT

1415

Right Front Turn Signal Switch Signal

A7

LT BLU

1414

Left Front Turn Signal Switch Signal

A7

LT BLU/WHT

1414

Left Front Turn Signal Switch Signal

A8

WHT

1356

Flash to Pass Switch Signal

A8

BRN

1356

Flash to Pass Switch Signal

A9

DK GRN/WHT

1786

Transmission Park/Neutral Signal

A9

ORN/BLK

1786

Transmission Park/Neutral Signal

A10

LT BLU

895

Left Rear Stop Lamp Supply Voltage (Pickup)

A10

YEL/BLK

895

Left Rear Stop Lamp Supply Voltage (Pickup)

A11

BLK

28

Horn Relay Control

A11

BLK

28

Horn Relay Control

A12

GRY

397

Cruise Control On Switch Signal (w/ Cruise)

A12

GRY

397

Cruise Control On Switch Signal (w/ Cruise)

A13

BRN

41

Ignition 3 Voltage

A13

BRN

41

Ignition 3 Voltage

A14

DK BLU

84

Cruise Control Set/Coast Switch Signal (w/ Cruise)

A14

DK BLU

84

Cruise Control Set/Coast Switch Signal (w/ Cruise)

A15

GRY/BLK

87

Cruise Control Resume/Accel Switch Signal (w/ Cruise)

A15

GRY/BLK

87

Cruise Control Resume/Accel Switch Signal (w/ Cruise)

A16

BLK

1850

Ground

A16

BLK

1850

Ground

A17

DK GRN/WHT

1135

A/T Shift Lock Control Solenoid Supply Voltage (Pickup)

A17

DK GRN/WHT

1135

A/T Shift Lock Control Solenoid Supply Voltage (Pickup)

A17

DK GRN/WHT

1996

Remote Shift Select Signal (Utility)

A17

YEL

1996

Remote Shift Select Signal (Utility)

B1

RED

242

Battery Positive Voltage

B1

RED

242

Battery Positive Voltage

B2

--

--

Not Used

B2

--

--

Not Used

B3

LT GRN

80

Key-in-Ignition Switch Signal

B3

LT GRN

80

Key-in-Ignition Switch Signal

B4

TAN

159

Drivers Door Switch Signal

B4

BLK

1850

Drivers Door Switch Signal

B5-B6

--

--

Not Used

B5-B6

--

--

Not Used

C1

WHT

1390

Off/Run/Crank Voltage

C1

WHT

1390

Off/Run/Crank Voltage

C2

RED/WHT

812

12 Volt Reference

C2

RED/WHT

812

12 Volt Reference

C3

--

--

Not Used

C3

--

--

Not Used

C4

ORN/BLK

1057

Low Reference

C4

ORN/BLK

1057

Low Reference

C5

PNK

3

Ignition 1 Voltage

C5

PNK

3

Ignition 1 Voltage

C6

ORN

300

Ignition 3 Voltage

C6

ORN

300

Ignition 3 Voltage

D1

YEL

5

Crank Voltage

D1

YEL

5

Crank Voltage

D2

RED/WHT

342

Battery Positive Voltage

D2

RED

342

Battery Positive Voltage

D3

YEL

1836

Security System Sensor Signal

D3

YEL

1836

Security System Sensor Signal

D4

--

--

Not Used

D4

--

--

Not Used

D5

RED

740

Battery Positive Voltage

D5

ORN

740

Battery Positive Voltage

D6

BRN

4

Accessory Voltage

D6

BRN

4

Accessory Voltage

E1

GRY

1696

Turn/Hazard Module 2 Supply Voltage

E1

GRY

1696

Turn/Hazard Module 2 Supply Voltage

E2

BLK

1850

Ground

E2

BLK

1850

Ground

E3

PPL

92

Windshield Wiper Motor High Speed

E3

PPL

92

Windshield Wiper Motor High Speed

E4

YEL

143

Accessory Voltage

E4

YEL

143

Accessory Voltage

E5

GRY

112

Windshield Wiper Switch Low/Pulse Signal

E5

GRY

112

Windshield Wiper Switch Low/Pulse Signal

E6

DK GRN

1419

Right Rear Turn Signal Switch Signal

E6

DK GRN/ WHT

1419

Right Rear Turn Signal Switch Signal

E7

YEL

1418

Left Rear Turn Signal Switch Signal

E7

YEL/BLK

1418

Left Rear Turn Signal Switch Signal

E8

DK GRN

113

Windshield Wiper Switch On Signal

E8

DK GRN

113

Windshield Wiper Switch On Signal

E9

RED

228

Windshield Washer Pump Control

E9

RED

228

Windshield Washer Pump Control

E10

ORN

1140

Battery Positive Voltage

E10

ORN

1140

Battery Positive Voltage

E11

PPL

524

Headlamp Dimmer Switch Output - High Beam

E11

PPL

524

Headlamp Dimmer Switch Output - High Beam (Except Envoy)

E11

LT GRN

1996

Remote Shift Select Signal (Envoy Only)

E11

BLK/WHT

1996

Remote Shift Select Signal (Envoy Only)

E12

TAN

525

Headlamp Dimmer Switch High Beam Signal

E12

YEL

525

Headlamp Dimmer Switch High Beam Signal

E13

YEL/RED

10

Headlamp Switch Signal (Except Envoy)

E13

YEL

10

Headlamp Switch Signal (Except Envoy)

E13

BLK

1850

Headlamp Switch Signal (Envoy)

E13

YEL

10

Headlamp Switch Signal (Envoy)

C214 (Body Harness to Steering Column Harness)


Object Number: 40382  Size: CF

Connector Part Information

    • 12186989
    • 2-Way F Metri-Pack 280 Series (YEL)

Connector Part Information

    • 15358601
    • 2-Way M Metri-Pack 280 Series (YEL)

Pin

Wire Color

Circuit No.

Function

Pin

Wire Color

Circuit No.

Function

A

WHT

347

Steering Wheel Module High Control

A

WHT

347

Steering Wheel Module High Control

B

DK GRN

348

Steering Wheel Module Low Control

B

DK GRN

348

Steering Wheel Module Low Control

C217 (Body Harness to IP Harness)


Object Number: 73196  Size: CF

Connector Part Information

    • 12015664
    • 4-Way F Metri-Pack 630 Series (BLK)

Connector Part Information

    • 15317729
    • 4-Way M Metri-Pack 630 Series (BLK)

Pin

Wire Color

Circuit No.

Function

Pin

Wire Color

Circuit No.

Function

A

BRN

4

Accessory Voltage

A

BRN

4

Accessory Voltage

B

DK BLU

75

RAP Relay Switch Supply Voltage

B

DK BLU

75

RAP Relay Switch Supply Voltage

C

ORN

300

Ignition 3 Voltage

C

ORN

300

Ignition 3 Voltage

D

RED

642

Battery Positive Voltage

D

RED

642

Battery Positive Voltage

C223 (IP Harness to Auxiliary Power Tray) (Extended Cab)


Object Number: 73244  Size: CF

Connector Part Information

    • 12015199
    • 2-Way F Metri-Pack 280 Series (NAT)

Connector Part Information

    • 12015271
    • 2-Way M Metri-Pack 280 Series (NAT)

Pin

Wire Color

Circuit No.

Function

Pin

Wire Color

Circuit No.

Function

A

ORN

1040

Battery Positive Voltage

A

ORN

1040

Battery Positive Voltage

B

BLK

1050

Ground

B

BLK

1050

Ground

C224 (Body Harness to Ashtray Insert) (Except Envoy)


Object Number: 40395  Size: CF

Connector Part Information

    • 12092162
    • 4-Way F Metri-Pack 150 Series (BLK)

Connector Part Information

    • 12162477
    • 4-Way M Metri-Pack 150 Series (BLK)

Pin

Wire Color

Circuit No.

Function

Pin

Wire Color

Circuit No.

Function

A

ORN

640

Battery Positive Voltage

A

ORN

640

Battery Positive Voltage

B

BLK

1050

Ground

B

BLK

1050

Ground

C

BRN

2409

Interior Park Lamps Supply Voltage

C

BRN

2409

Interior Park Lamps Supply Voltage

D

BLK

1050

Ground

D

BLK

1050

Ground

C224 (Body Harness to Ashtray Insert) (Envoy)


Object Number: 95855  Size: CF

Connector Part Information

    • 12129136
    • 4-Way F Metri-Pack 280 Series, Flex-lock (BLK)

Connector Part Information

    • 12129135
    • 4-Way M Metri-Pack 280 Series, Flex-lock (BLK)

Pin

Wire Color

Circuit No.

Function

Pin

Wire Color

Circuit No.

Function

A

BLK

1050

Ground

A

BLK

1050

Ground

B

BLK

1050

Ground

B

BLK

1050

Ground

C

ORN

640

Battery Positive Voltage

C

ORN

640

Battery Positive Voltage

D

ORN

1040

Battery Positive Voltage

D

ORN

1040

Battery Positive Voltage

C229 (Body Harness to Dome Harness) (Utility)


Object Number: 40395  Size: CF

Connector Part Information

    • 12092162
    • 4-Way F Metri-Pack 150 Series (BLK)

Connector Part Information

    • 15326050
    • 4-Way M Metri-Pack 150 Series (BLK)

Pin

Wire Color

Circuit No.

Function

Pin

Wire Color

Circuit No.

Function

A

GRY

1690

Automatic Day/Night Mirror Signal

A

GRY

1690

Automatic Day/Night Mirror Signal

B

PNK

1691

Automatic Day/Night Mirror Low Reference

B

PNK

1691

Automatic Day/Night Mirror Low Reference

C

BARE

813

Drain Wire (Envoy Only)

C

BARE

813

Drain Wire (Envoy Only)

D

GRY

655

Cellular Telephone Microphone Signal (Envoy Only)

D

GRY

655

Cellular Telephone Microphone Signal (Envoy Only)

C300 (Dome Lamp Harness to Sunroof Harness)


Object Number: 38267  Size: CF

Connector Part Information

    • 12129081
    • 2-Way F Metri-Pack 280 Series, Flexlock (BLK)

Connector Part Information

    • 12129155
    • 2-Way M Metri-Pack 280 Series, Self Lock (BLK)

Pin

Wire Color

Circuit No.

Function

Pin

Wire Color

Circuit No.

Function

A

DK GRN

1001

RAP Fuse Supply Voltage

A

YEL

1001

RAP Fuse Supply Voltage

B

BLK

1850

Ground

B

BLK

1850

Ground

C301 (Dome Harness to Overhead Console) (Bravada and Envoy)


Object Number: 62460  Size: CF

Connector Part Information

    • 12064762
    • 6-Way F Metri-Pack 150 Series (GRY)

Connector Part Information

    • 12064763
    • 6-Way M Metri-Pack 150 Series (GRY)

Pin

Wire Color

Circuit No.

Function

Pin

Wire Color

Circuit No.

Function

A

WHT

156

Courtesy Lamp Switch Signal

A

WHT

156

Courtesy Lamp Switch Signal

B

ORN

1732

Courtesy Lamps Supply Voltage

B

GRY

1732

Courtesy Lamps Supply Voltage

C

ORN

40

Battery Positive Voltage

C

ORN

40

Battery Positive Voltage

D

BLK

1850

Ground

D

BLK

1850

Ground

E

PPL/WHT

1382

LED Dimming Signal

E

YEL

1382

LED Dimming Signal

F

--

--

Not Used

F

--

--

Not Used

C301 (Dome Harness to Overhead Console) (Except Bravada and Envoy)


Object Number: 40392  Size: CF

Connector Part Information

    • 12047785
    • 4-Way F Metri-Pack 150 Series (BLK)

Connector Part Information

    • 12047786
    • 4-Way M Metri-Pack 150 Series (BLK)

Pin

Wire Color

Circuit No.

Function

Pin

Wire Color

Circuit No.

Function

A

WHT

156

Courtesy Lamp Switch Signal

A

WHT

156

Courtesy Lamp Switch Signal

B

ORN

1732

Courtesy Lamps Supply Voltage

B

ORN

1732

Courtesy Lamps Supply Voltage

C

--

--

Not Used (w/o Trip Computer)

C

--

--

Not Used (w/o Trip Computer)

C

ORN

40

Battery Positive Voltage (w/o Sunroof)

C

ORN

40

Battery Positive Voltage (w/o Sunroof)

D

BLK

1850

Ground

D

BLK

1850

Ground

C302 (Power Seat Harness, LH to Power Recliner Harness, LH) (Utility w/ Power Seats, Non-Memory)


Object Number: 38267  Size: CF

Connector Part Information

    • 12129081
    • 2-Way F Metri-Pack 280 Series (BLK)

Connector Part Information

    • 12129155
    • 2-Way M Metri-Pack 280 Series (BLK)

Pin

Wire Color

Circuit No.

Function

Pin

Wire Color

Circuit No.

Function

A

LT BLU

277

Driver Seat Recline Motor Rearward Control

A

LT BLU

277

Driver Seat Recline Motor Rearward Control

B

LT GRN

276

Driver Seat Recline Motor Forward Control

B

LT GRN

276

Driver Seat Recline Motor Forward Control

C302 (Power Seat Harness, LH to Power Recliner Harness, LH) (Utility w/ Power Seats, Memory)


Object Number: 95855  Size: CF

Connector Part Information

    • 12129136
    • 4-Way F Metri-Pack 280 Series (BLK)

Connector Part Information

    • 12129135
    • 4-Way M Metri-Pack 280 Series (BLK)

Pin

Wire Color

Circuit No.

Function

Pin

Wire Color

Circuit No.

Function

A

LT BLU

277

Driver Seat Recline Motor Rearward Control

A

LT BLU

277

Driver Seat Recline Motor Rearward Control

B

LT GRN

276

Driver Seat Recline Motor Forward Control

B

LT GRN

276

Driver Seat Recline Motor Forward Control

C

WHT/BLK

570

Driver Seat Recline Motor Position Sensor Signal

C

WHT/BLK

570

Driver Seat Recline Motor Position Sensor Signal

D

BLK

570A

Driver Seat Recline Motor Position Sensor Signal

D

BLK

570A

Driver Seat Recline Motor Position Sensor Signal

C303 (Power Seat Harness, RH to Power Recliner Harness, RH) (Utility w/ Power Seats, Non-Memory)


Object Number: 38267  Size: CF

Connector Part Information

    • 12129081
    • 2-Way F Metri-Pack 280 Series (BLK)

Connector Part Information

    • 12129155
    • 2-Way M Metri-Pack 280 Series (BLK)

Pin

Wire Color

Circuit No.

Function

Pin

Wire Color

Circuit No.

Function

A

LT BLU

77

Passenger Seat Recline Motor Rearward

A

LT BLU

77

Passenger Seat Recline Motor Rearward

B

LT GRN

76

Passenger Seat Recline Motor Forward

B

LT GRN

76

Passenger Seat Recline Motor Forward

C303 (Power Seat Harness, RH to Power Recliner Harness, RH) (Utility w/ Power Seats, Memory)


Object Number: 95855  Size: CF

Connector Part Information

    • 12129136
    • 4-Way F Metri-Pack 280 Series (BLK)

Connector Part Information

    • 12129135
    • 4-Way M Metri-Pack 280 Series (BLK)

Pin

Wire Color

Circuit No.

Function

Pin

Wire Color

Circuit No.

Function

A

LT BLU

77

Passenger Seat Recline Motor Rearward

A

LT BLU

77

Passenger Seat Recline Motor Rearward

B

LT GRN

76

Passenger Seat Recline Motor Forward

B

LT GRN

76

Passenger Seat Recline Motor Forward

C

WHT/BLK

570

Driver Seat Recline Motor Position Sensor Signal

C

WHT/BLK

570

Driver Seat Recline Motor Position Sensor Signal

D

BLK

570

Driver Seat Recline Motor Position Sensor Signal

D

BLK

570A

Driver Seat Recline Motor Position Sensor Signal

C304 (Body Harness to LR Door Harness) (4-Door Utility)


Object Number: 39738  Size: CF

Connector Part Information

    • 12034482
    • 6-Way F Metri-Pack 280 Series (GRY)

Connector Part Information

    • 12034481
    • 6-Way F Metri-Pack 280 Series (GRY)

Pin

Wire Color

Circuit No.

Function

Pin

Wire Color

Circuit No.

Function

A

DK GRN

168

Power Window Master Switch Left Rear Up Signal

A

DK GRN

168

Power Window Master Switch Left Rear Up Signal

B

DK BLU

1307

Power Window Master Switch Lockout Signal

B

DK BLU

1307

Power Window Master Switch Lockout Signal

C

TAN

294

Door Lock Actuator Unlock Control

C

TAN

294

Door Lock Actuator Unlock Control

D

--

--

Not Used

D

--

--

Not Used

E

PPL

169

Power Window Master Switch Left Rear Down Signal

E

PPL

169

Power Window Master Switch Left Rear Down Signal

F

GRY

295

Door Lock Actuator Lock Control

F

GRY

295

Door Lock Actuator Lock Control

C305 (Body Harness to LR Door Harness) (4-Door Utility)


Object Number: 35424  Size: CF

Connector Part Information

    • 12059247
    • 2-Way F Metri-Pack 150 Series (MD GRY)

Connector Part Information

    • 12059248
    • 2-Way M Metri-Pack 150 Series (MD GRY)

Pin

Wire Color

Circuit No.

Function

Pin

Wire Color

Circuit No.

Function

A

YEL

116

Left Rear Speaker Output (-)

A

YEL

116

Left Rear Speaker Output (-)

B

BRN

199

Left Rear Speaker Output (+)

B

BRN

199

Left Rear Speaker Output (+)

C306 (Body Harness to RR Door Harness) (4-Door Utility)


Object Number: 39738  Size: CF

Connector Part Information

    • 12034482
    • 6-Way F Metri-Pack 280 Series (GRY)

Connector Part Information

    • 12034481
    • 6-Way F Metri-Pack 280 Series (GRY)

Pin

Wire Color

Circuit No.

Function

Pin

Wire Color

Circuit No.

Function

A

LT GRN

170

Power Window Master Switch Right Rear Up Signal

A

DK GRN

170

Power Window Master Switch Right Rear Up Signal

B

DK BLU

1307

Power Window Master Switch Lockout Signal

B

DK BLU

1307

Power Window Master Switch Lockout Signal

C

TAN

294

Door Lock Actuator Unlock Control

C

TAN

294

Door Lock Actuator Unlock Control

D

--

--

Not Used

D

--

--

Not Used

E

PPL

171

Power Window Master Switch Right Rear Down Signal

E

PPL

171

Power Window Master Switch Right Rear Down Signal

F

GRY

295

Door Lock Actuator Lock Control

F

GRY

295

Door Lock Actuator Lock Control

C307 (Body Harness to RR Door Harness) (4-Door Utility)


Object Number: 35424  Size: CF

Connector Part Information

    • 12059247
    • 2-Way F Metri-Pack 150 Series (MD GRY)

Connector Part Information

    • 12059248
    • 2-Way M Metri-Pack 150 Series (MD GRY)

Pin

Wire Color

Circuit No.

Function

Pin

Wire Color

Circuit No.

Function

A

LT BLU

115

Right Rear Speaker Output (-)

A

YEL

115

Right Rear Speaker Output (-)

B

DK BLU

46

Right Rear Speaker Output (+)

B

BRN

46

Right Rear Speaker Output (+)

C315 (Body Harness to Passenger Seat Assembly Pigtail Connector) (4-Door Utility with Power Seats)


Object Number: 62455  Size: CF

Connector Part Information

    • 12064752
    • 6-Way F Metri-Pack 280 Series (BLK)

Connector Part Information

    • 12064754
    • 6-Way M Metri-Pack 280 Series (BLK)

Pin

Wire Color

Circuit No.

Function

Pin

Wire Color

Circuit No.

Function

A

BRN

41

Ignition 3 Voltage

A

BRN

41

Ignition 3 Voltage

B

BLK

1350

Ground

B

BLK

1350

Ground

C

ORN

1440

Battery Positive Voltage

C

ORN

1440

Battery Positive Voltage

D

ORN/BLK

2240

Battery Positive Voltage

D

ORN

2240

Battery Positive Voltage

E-F

--

--

Not Used

E-F

--

--

Not Used

C317 (Utility Body Harness to Driver's Seat Assembly Pigtail Connector)


Object Number: 62455  Size: CF

Connector Part Information

    • 12064752
    • 6-Way F Metri-Pack 280 Series (BLK)

Connector Part Information

    • 12064754
    • 6-Way M Metri-Pack 280 Series (BLK)

Pin

Wire Color

Circuit No.

Function

Pin

Wire Color

Circuit No.

Function

A

BRN

41

Ignition 3 Voltage

A

BRN

41

Ignition 3 Voltage

B

BLK

1850

Ground

B

BLK

1850

Ground

C

ORN

1440

Battery Positive Voltage

C

ORN

1440

Battery Positive Voltage

D

ORN/BLK

2240

Battery Positive Voltage

D

ORN

2240

Battery Positive Voltage

E

BLK/WHT

238

Seat Belt Switch - Left

E

BLK/WHT

238

Seat Belt Switch - Left

F

BRN/WHT

1048

SCM (Seat) Class 2 Serial Data

F

BRN/WHT

1048

SCM (Seat) Class 2 Serial Data

C317 (Pickup Body Harness to Driver's Seat Assembly Pigtail Connector)


Object Number: 62455  Size: CF

Connector Part Information

    • 12064752
    • 6-Way F Metri-Pack 280 Series (BLK)

Connector Part Information

    • 12064754
    • 6-Way M Metri-Pack 280 Series (BLK)

Pin

Wire Color

Circuit No.

Function

Pin

Wire Color

Circuit No.

Function

A

--

--

Not Used

A

--

--

Not Used

B

BLK

1850

Ground (Pickup)

B

BLK

1850

Ground (Pickup)

B

BLK

1350

Ground (Utility)

B

BLK

1350

Ground (Utility)

C-D

--

--

Not Used

C-D

--

--

Not Used

E

BLK/WHT

238

Seat Belt Switch - Left

E

BLK/WHT

238

Seat Belt Switch - Left

F

--

--

Not Used

F

--

--

Not Used

C401 (Chassis Harness to Tail Lamp Harness) (Pickup)


Object Number: 362733  Size: CF

Connector Part Information

    • 12146045
    • 5-Way F Metri-Pack, Sealed 150 Series (NAT)

Connector Part Information

    • 12103974
    • 5-Way M Metri-Pack, Sealed 150 Series (NAT)

Pin

Wire Color

Circuit No.

Function

Pin

Wire Color

Circuit No.

Function

A

BRN

2509

Left Rear Park Lamps Supply Voltage

A

BRN

2509

Left Rear Park Lamps Supply Voltage

B

LT GRN

1324

Backup Lamp Supply Voltage

B

LT GRN

1324

Backup Lamp Supply Voltage

C

DK GRN

619

Right Rear Turn Signal Lamp Supply Voltage

C

DK GRN

619

Right Rear Turn Signal Lamp Supply Voltage

D

YEL

618

Left Rear Turn Signal Lamp Supply Voltage

D

YEL

618

Left Rear Turn Signal Lamp Supply Voltage

E

BRN/WHT

2609

Right Rear Park Lamps Supply Voltage

E

BRN/WHT

2609

Right Rear Park Lamps Supply Voltage

C402 (Body Harness to RH Tail Lamp Harness) (Domestic)


Object Number: 95855  Size: CF

Connector Part Information

    • 12129136
    • 4-Way F Metri-Pack 280 Series (BLK)

Connector Part Information

    • 12124557
    • 4-Way M Metri-Pack 280 Series (BLK)

Pin

Wire Color

Circuit No.

Function

Pin

Wire Color

Circuit No.

Function

A

LT GRN

1324

Backup Lamp Supply Voltage

A

LT GRN

1324

Backup Lamp Supply Voltage

B

BRN

2609

Right Rear Park Lamps Supply Voltage

B

BRN/WHT

2609

Right Rear Park Lamps Supply Voltage

C

YEL

618

Left Rear Turn Signal Lamp Supply Voltage

C

DK GRN

619

Left Rear Turn Signal Lamp Supply Voltage

D

BLK

1350

Ground

D

BLK

1350

Ground

C402 (Body Harness to RH Tail Lamp Harness) (Export)


Object Number: 62455  Size: CF

Connector Part Information

    • 12064752
    • 6-Way F Metri-Pack 280 Series (BLK)

Connector Part Information

    • 12162364
    • 6-Way M Metri-Pack 280 Series (BLK)

Pin

Wire Color

Circuit No.

Function

Pin

Wire Color

Circuit No.

Function

A

LT GRN

1324

Backup Lamp Supply Voltage

A

LT GRN

1324

Backup Lamp Supply Voltage

B

BRN

2609

Right Rear Park Lamps Supply Voltage

B

BRN/WHT

2609

Right Rear Park Lamps Supply Voltage

C

YEL

618

Left Rear Turn Signal Lamp Supply Voltage

C

DK GRN

619

Left Rear Turn Signal Lamp Supply Voltage

D

BLK

1350

Ground

D

BLK

1350

Ground

E

LT BLU

1320

CHMSL Supply Voltage

E

LT BLU

1320

CHMSL Supply Voltage

F

PPL

34

Front Fog Lamps Supply Voltage

F

PPL

34

Front Fog Lamps Supply Voltage

C403 (Body Harness to LH Tail Lamp Harness) (Domestic)


Object Number: 95855  Size: CF

Connector Part Information

    • 12129136
    • 4-Way F Metri-Pack 280 Series (BLK)

Connector Part Information

    • 12124557
    • 4-Way M Metri-Pack 280 Series (BLK)

Pin

Wire Color

Circuit No.

Function

Pin

Wire Color

Circuit No.

Function

A

LT GRN

1324

Backup Lamp Supply Voltage

A

LT GRN

1324

Backup Lamp Supply Voltage

B

BRN

2509

Left Rear Park Lamps Supply Voltage

B

BRN

2509

Left Rear Park Lamps Supply Voltage

C

YEL

618

Left Rear Turn Signal Lamp Supply Voltage

C

YEL

618

Left Rear Turn Signal Lamp Supply Voltage

D

BLK

1350

Ground

D

BLK

1350

Ground

C403 (Body Harness to LH Tail Lamp Harness) (Export)


Object Number: 62455  Size: CF

Connector Part Information

    • 12064752
    • 6-Way F Metri-Pack 280 Series (BLK)

Connector Part Information

    • 12162364
    • 6-Way M Metri-Pack 280 Series (BLK)

Pin

Wire Color

Circuit No.

Function

Pin

Wire Color

Circuit No.

Function

A

LT GRN

1324

Backup Lamp Supply Voltage

A

LT GRN

1324

Backup Lamp Supply Voltage

B

BRN

2509

Left Rear Park Lamps Supply Voltage

B

BRN

2509

Left Rear Park Lamps Supply Voltage

C

YEL

618

Left Rear Turn Signal Lamp Supply Voltage

C

YEL

618

Left Rear Turn Signal Lamp Supply Voltage

D

BLK

1350

Ground

D

BLK

1350

Ground

E

LT BLU

1320

CHMSL Supply Voltage

E

LT BLU

1320

CHMSL Supply Voltage

F

PPL

34

Front Fog Lamps Supply Voltage

F

PPL

34

Front Fog Lamps Supply Voltage

C411 (Body Harness to Endgate Harness) (Utility)


Object Number: 302000  Size: CF

Connector Part Information

    • 12052641
    • 2-Way F Metri-Pack 150 Series, Sealed (BLK)

Connector Part Information

    • 12162000
    • 2-Way M Metri-Pack 150 Series, Sealed (BLK)

Pin

Wire Color

Circuit No.

Function

Pin

Wire Color

Circuit No.

Function

A

PNK/BLK

1303

RAP Fuse Supply Voltage

A

PNK/BLK

1303

RAP Fuse Supply Voltage

B

BLK

1350

Ground

B

BLK

1350

Ground

C412 (Body Harness to Endgate Harness) (Utility)


Object Number: 246476  Size: CF

Connector Part Information

    • 12129565
    • 4-Way F Metri-Pack 280 Series, Sealed (GRY)

Connector Part Information

    • 12129600
    • 4-Way M Metri-Pack 280 Series, Sealed (GRY)

Pin

Wire Color

Circuit No.

Function

Pin

Wire Color

Circuit No.

Function

A

ORN

1240

Battery Positive Voltage

A

ORN

1240

Battery Positive Votlage

B

BLK

1350

Ground

B

BLK

1350

Ground

C

GRY

391

Rear Window Wiper Switch Signal

C

GRY

391

Rear Window Wiper Switch Signal

D

DK GRN

392

Rear Window Washer Pump Control

D

DK GRN

392

Rear Window Washer Pump Control

C413 (Body Harness to Endgate Harness)


Object Number: 62447  Size: CF

Connector Part Information

    • 12052848
    • 6-Way F Metri-Pack 150 Series, Sealed (BLK)

Connector Part Information

    • 12124107
    • 6-Way M Metri-Pack 150 Series, Sealed (BLK)

Pin

Wire Color

Circuit No.

Function

Pin

Wire Color

Circuit No.

Function

A

BLK/WHT

56

Trunk Release Motor Supply Voltage

A

BLK/WHT

56

Trunk Release Motor Supply Voltage

B

BLK

1350

Ground

B

BLK

1350

Ground

C

WHT

194

Door Unlock Control

C

WHT

194

Door Unlock Control

D

LT BLU

195

Door Lock Control

D

LT BLU

195

Door Lock Control

E

WHT/BLK

1221

Lift Gate Release Switch Signal

E

WHT/BLK

1221

Lift Gate Release Switch Signal

F

ORN

840

Battery Positive Voltage

F

ORN

840

Battery Positive Voltage

C426 (Body Harness to Liftglass Harness) (Utility)


Object Number: 73135  Size: CF

Connector Part Information

    • 12047886
    • 8-Way F Metri-Pack 150 Series (BLK)

Connector Part Information

    • 12045688
    • 8-Way M Metri-Pack 150 Series (BLK)

Pin

Wire Color

Circuit No.

Function

Pin

Wire Color

Circuit No.

Function

A

WHT

194

Door Unlock Control

A

WHT

194

Door Unlock Control

B

LT BLU

195

Door Lock Control

B

LT BLU

195

Door Lock Control

C

BLK/WHT

56

Trunk Release Motor Supply Votlage

C

BLK/WHT

56

Trunk Release Motor Supply Voltage

D

BLK

1350

Ground

D

BLK

1350

Ground

E

ORN

840

Battery Positive Voltage

E

ORN

840

Battery Positive Voltage

F

WHT/BLK

1221

Lift Gate Release Switch Signal

F

WHT

1221

Lift Gate Release Switch Signal

G

TAN

294

Door Lock Actuator Unlock Control

G

TAN

294

Door Lock Actuator Unlock Control

H

GRY

295

Door Lock Actuator Lock Control

H

GRY

295

Door Lock Actuator Lock Control

C428 (Body Harness to Liftgate Harness)


Object Number: 73135  Size: CF

Connector Part Information

    • 12047886
    • 8-Way F Metri-Pack 150 Series (BLK)

Connector Part Information

    • 12045688
    • 6-Way M Metri-Pack 150 Series (BLK)

Pin

Wire Color

Circuit No.

Function

Pin

Wire Color

Circuit No.

Function

A

ORN

1240

Battery Positive Voltage

A

ORN

1240

Battery Positive Voltage

B

BLK

1350

Ground

B

BLK

1350

Ground

C

BLK

391

Ground

C

BLK

391

Ground

D

BLK

392

Ground

D

BLK

392

Ground

E

DK GRN

392

Rear Window Washer Pump Control

E

DK GRN

392

Rear Window Washer Pump Control

F

PNK/BLK

1303

RAP Fuse Supply Voltage

F

PNK

1303

RAP Fuse Supply Voltage

G

--

--

Not Used

G

--

--

Not Used

H

GRY

391

Rear Window Wiper Switch Signal

H

GRY

391

Rear Window Wiper Switch Signal

C430 (Chassis Harness to License Lamp Harness) (Utility)


Object Number: 362720  Size: CF

Connector Part Information

    • 12160482
    • 4-Way F Metri-Pack 150 Series, Sealed (BLK)

Connector Part Information

    • 12160825
    • 4-Way M Metri-Pack 150 Series (BLK)

Pin

Wire Color

Circuit No.

Function

Pin

Wire Color

Circuit No.

Function

A

BRN

2109

Trailer Park Lamps Supply Voltage

A

BRN

2109

Trailer Park Lamps Supply Voltage

B

BRN

2109

Trailer Park Lamps Supply Voltage

B

BRN

2109

Trailer Park Lamps Supply Voltage

C

BLK

1650

Ground

C

BLK

1650

Ground

D

BLK

1650

Ground

D

BLK

1650

Ground

C470 (Body Harness to Load Leveling Harness) (Envoy)


Object Number: 421361  Size: CF

Connector Part Information

    • 12015793
    • 3-Way F Weather-Pack (BLK)

Connector Part Information

    • 12020425
    • 3-Way M Weather-Pack (BLK)

Pin

Wire Color

Circuit No.

Function

Pin

Wire Color

Circuit No.

Function

A

LT BLU

1298

Electronic Level Control Inflation Timer Relay Output - N.C. Contact

A

LT BLU

1298

Electronic Level Control Inflation Timer Relay Output - N.C. Contact

B

BLK

1350

Ground

B

BLK

1350

Ground

C

ORN

1840

Battery Positive Voltage

C

ORN

1840

Battery Positive Voltage

C471 (Body Harness to Rear Quarter Harness) (Envoy Only)


Object Number: 62455  Size: CF

Connector Part Information

    • 12064752
    • 6-Way F Metri-Pack 150 Series (GRY)

Connector Part Information

    • 12064754
    • 6-Way M Metri-Pack 280 Series (BLK)

Pin

Wire Color

Circuit No.

Function

Pin

Wire Color

Circuit No.

Function

A

BLK

1350

Ground

A

BLK

1350

Ground

B

YEL

321

Automatic Level Control Relay Coil Supply Voltage

B

YEL

321

Automatic Level Control Relay Coil Supply Voltage

C

ORN

1840

Battery Positive Voltage

C

ORN

1840

Battery Positive Voltage

D

LT BLU

1298

Electronic Level Control Inflation Timer Relay Output - N.C. Contact

D

LT BLU

1298

Electronic Level Control Inflation Timer Relay Output - N.C. Contact

E

ORN

1040

Battery Positive Voltage

E

ORN

1040

Battery Positive Voltage

F

--

--

Not Used

F

--

--

Not Used

C472 (Body Harness to Auto Level Control Harness) (Envoy Only)


Object Number: 40381  Size: CF

Connector Part Information

    • 12052644
    • 2-Way F Metri-Pack 150 Series

Connector Part Information

    • 12162343
    • 2-Way M Metri-Pack 150 Series (GRY)

Pin

Wire Color

Circuit No.

Function

Pin

Wire Color

Circuit No.

Function

A

YEL

321

Automatic Level Control Relay Coil Supply Voltage

A

YEL

321

Automatic Level Control Relay Coil Supply Voltage

B

PNK

639

Ignition 1 Voltage

B

PNK

639

Ignition 1 Voltage

C473 (Inline to Vehicle Communications Unit) (Envoy)


Object Number: 62458  Size: CF

Connector Part Information

    • 12064760
    • 4-Way F Metri-Pack 150 Series (BLK)

Connector Part Information

    • 12054761
    • 4-Way M Metri-Pack 150 Series (BLK)

Pin

Wire Color

Circuit No.

Function

Pin

Wire Color

Circuit No.

Function

A

BARE

813

Drain Wire

A

BARE

813

Drain Wire

B

GRY

655

Cellular Telephone Microphone Signal

B

GRY

655

Cellular Telephone Microphone Signal

C

PNK

1159

External Speaker Output (+)

C

PNK

1159

External Speaker Output (+)

D

GRY

1160

External Speaker Output (-)

D

GRY

1160

External Speaker Output (-)

C474 (Body Harness to Vehicle Interface Unit) (Envoy)


Object Number: 405385  Size: CF

Connector Part Information

    • 12146243
    • 24-Way F Micro-Pack 100 Series (DK GRY)

Connector Part Information

    • 15317671
    • 24-Way M Micro-Pack 100 Series (DK GRY)

Pin

Wire Color

Circuit No.

Function

Pin

Wire Color

Circuit No.

Function

A1

DK GRN

1301

RAP Fuse Supply Voltage

A1

DK GRN

1301

RAP Fuse Supply Voltage

A2

ORN

340

Battery Positive Voltage

A2

ORN

340

Battery Positive Voltage

A3

BLK

1850

Ground

A3

BLK

1850

Ground

A4-A5

--

--

Not Used

A4-A5

--

--

Not Used

A6

DK GRN

835

Entertainment and Comfort Serial Data

A6

DK GRN

835

Entertainment and Comfort Serial Data

A7

TAN

800

UART Serial Data [Primary]

A7

TAN

800

UART Serial Data [Primary]

A8-A9

--

--

Not Used

A8-A9

--

--

Not Used

A10

BARE

814

Drain Wire

A10

BARE

814

Drain Wire

A11

LT BLU

1153

Audio Handset Mouthpiece Signal

A11

LT BLU

1153

Audio Handset Mouthpiece Signal

A12

PNK

1155

Audio Handset Low Reference

A12

PNK

1155

Audio Handset Low Reference

B1-B4

--

--

Not Used

B1-B4

--

--

Not Used

B5

BRN

1941

Ignition 3 Voltage

B5

BRN

1941

Ignition 3 Voltage

B6

RED

1266

8.5 Volt Reference

B6

RED

1266

8.5 Volt Reference

B7

LT GRN/BLK

1098

Class 2 Serial Data

B7

LT GRN/BLK

1098

Class 2 Serial Data

B8

PPL

1156

Handset Keypad Data Signal

B8

PPL

1156

Handset Keypad Data Signal

B9

GRY/BLK

1798

Ground

B9

GRY/BLK

1798

Ground

B10

YEL

1157

Handset Display Data Signal

B10

YEL

1157

Handset Display Data Signal

B11

TAN

1158

Handset Fax Data Signal

B11

TAN

1158

Handset Fax Data Signal

B12

DK BLU

1154

Audio Handset Earpiece Signal

B12

DK BLU

1154

Audio Handset Earpiece Signal

C500 (Body Harness to LF Door Harness) (w/o Power Locks/Windows)


Object Number: 40392  Size: CF

Connector Part Information

    • 12047785
    • 4-Way F Metri-Pack 150 Series (BLK)

Connector Part Information

    • 12066498
    • 4-Way M Metri-Pack 150 Series (BLK)

Pin

Wire Color

Circuit No.

Function

Pin

Wire Color

Circuit No.

Function

A

ORN

54

Door Jamb Switch Signal - Driver

A

ORN

54

Door Jamb Switch Signal - Driver

B

BLK

1850

Ground

B

BLK

1850

Ground

C

GRY

118

Left Front Speaker Output (-)

C

GRY

118

Left Front Speaker Output (-)

D

TAN

201

Left Front Speaker Output (+)

D

TAN

201

Left Front Speaker Output (+)

C500 (Body Harness to LF Door Harness) (w/ Power Locks/Windows)


Object Number: 362735  Size: CF

Connector Part Information

    • 15317325
    • 22-Way F Global Technology 150, 280 Series (GRY)

Connector Part Information

    • 15317322
    • 22-Way M Global Technology 150, 280 Series (GRY)

Pin

Wire Color

Circuit No.

Function

Pin

Wire Color

Circuit No.

Function

A1

GRY

1690

Automatic Day/Night Mirror Signal

A1

GRY

1690

Automatic Day/Night Mirror Signal

A2

PNK

1691

Automatic Day/Night Mirror Low Reference

A2

PNK

1691

Automatic Day/Night Mirror Low Reference

A3

YEL

1496

Mirror Motor Right/Up Control

A3

YEL

1496

Mirror Motor Right/Up Control

A4

BLK

1850

Ground

A4

BLK

1850

Ground

A5

DK GRN

1001

RAP Fuse Supply Voltage

A5

DK GRN

1001

RAP Fuse Supply Voltage

A6

LT BLU

166

Power Window Master Switch Right Front Up Signal

A6

LT BLU

166

Power Window Master Switch Right Front Up Signal

A7

TAN

167

Power Window Master Switch Right Front Down Signal

A7

TAN

167

Power Window Master Switch Right Front Down Signal

A8

DK GRN

168

Power Window Master Switch Left Rear Up Signal

A8

DK GRN

168

Power Window Master Switch Left Rear Up Signal

A8

ORN

2267

Mirror Heating Element Supply Voltage

A8

ORN

2267

Mirror Heating Element Supply Voltage

A9

ORN

54

Door Jamb Switch Signal - Driver

A9

ORN

54

Door Jamb Switch Signal - Driver

A10

LT GRN

262

Driver Door Key Switch Signal

A10

LT GRN

262

Driver Door Key Switch Signal

A11

PPL/WHT

889

Right Mirror Motor Down Control

A11

PPL/WHT

889

Right Mirror Motor Down Control

B1

GRY

118

Left Front Speaker Output (-)

B1

YEL

116

Left Front Speaker Output (-)

B2

TAN

201

Left Front Speaker Output (+)

B2

BRN

199

Left Front Speaker Output (+)

B3

RED/WHT

881

Right Mirror Motor Right Control

B3

RED/WHT

881

Right Mirror Motor Right Control

B4

PPL

169

Power Window Master Switch Left Rear Down Signal

B4

PPL

169

Power Window Master Switch Left Rear Down Signal

B4

ORN

840

Battery Positive Voltage

B4

ORN

840

Battery Positive Voltage

B5

TAN

694

Driver Door Lock Actuator Unlock Control (2-Door)

B5

TAN

694

Driver Door Lock Actuator Unlock Control (2-Door)

B5

LT GRN

170

Power Window Master Switch Right Rear Up Signal (4-Door)

B5

LT GRN

170

Power Window Master Switch Right Rear Up Signal (4-Door)

B6

PPL

171

Power Window Master Switch Right Rear Down Signal (Pickup, Utility w/ Liftgate)

B6

PPL

171

Power Window Master Switch Right Rear Down Signal (Pickup, Utility w/ Liftgate)

B6

WHT/BLK

1221

Lift Gate Release Switch Signal (Utility w/o Liftgate)

B6

WHT/BLK

1221

Lift Gate Release Switch Signal (Utility w/o Liftgate)

B7

GRY

295

Door Lock Actuator Lock Control (Except 4-Door Utility)

B7

GRY

295

Door Lock Actuator Lock Control (Except 4-Door Utility)

B7

DK BLU

1307

Power Window Master Switch Lockout Signal (4-Door Utility)

B7

DK BLU

1307

Power Window Master Switch Lockout Signal (4-Door Utility)

B8

DK GRN

1301

RAP Fuse Supply Voltage

B8

DK GRN

1301

RAP Fuse Supply Voltage

B9

WHT

194

Door Unlock Control

B9

WHT

194

Door Unlock Control

B10

LT BLU

195

Door Lock Control

B10

LT BLU

195

Door Lock Control

B11

BRN

2409

Interior Park Lamps Supply Voltage

B11

BRN

2409

Interior Park Lamps Supply Voltage

C501 (Body Harness to LH Front Door Harness, 4-Door Only)


Object Number: 280750  Size: CF

Connector Part Information

    • 12129431
    • 16-Way F Metri-Pack 280 Series, ACT (BLK)

Connector Part Information

    • 12129427
    • 16-Way M Metri-Pack 280 Series, ACT (BLK)

Pin

Wire Color

Circuit No.

Function

Pin

Wire Color

Circuit No.

Function

A

ORN

840

Battery Positive Voltage

A

ORN

840

Battery Positive Voltage

B

WHT

194

Door Unlock Control

B

WHT

194

Door Unlock Control

C

LT BLU

195

Door Lock Control

C

LT BLU

195

Door Lock Control

D

GRY

295

Door Lock Actuator Lock Control

D

GRY

295

Door Lock Actuator Lock Control

E

RED/WHT

881

Right Mirror Motor Right Control

E

RED/WHT

881

Right Mirror Motor Right Control

F

PPL/WHT

889

Right Mirror Motor Down Control

F

PPL/WHT

889

Right Mirror Motor Down Control

G

YEL

1496

Mirror Motor Right/Up Control

G

YEL

1496

Mirror Motor Right/Up Control

H

YEL

190

Power Folding Mirror Motor - Extend (Envoy Only)

H

YEL

190

Power Folding Mirror Motor - Extend (Envoy Only)

J

TAN

694

Driver Door Lock Actuator Unlock Control

J

TAN

694

Driver Door Lock Actuator Unlock Control

K

LT BLU

191

Left Folding Mirror Motor Retract Control (Envoy Only)

K

LT BLU

191

Left Folding Mirror Motor Retract Control (Envoy Only)

L

WHT/BLK

1221

Lift Gate Release Switch Signal

L

WHT/BLK

1221

Lift Gate Release Switch Signal

M

BRN

2409

Interior Park Lamps Supply Voltage

M

BRN

2409

Interior Park Lamps Supply Voltage

N

BLK/WHT

56

Trunk Release Motor Supply Voltage

N

BLK/WHT

56

Trunk Release Motor Supply Voltage

P

ORN

2267

Mirror Heating Element Supply Voltage

P

ORN

2267

Mirror Heating Element Supply Voltage

R-S

--

--

Not Used

R-S

--

--

Not Used

C502 (Body Harness to LF Door Harness) (2-Door Export)


Object Number: 73249  Size: CF

Connector Part Information

    • 12129489
    • 3-Way F Metri-Pack 280 Series Flexlock (BLK)

Connector Part Information

    • 12129490
    • 3-Way M Metri-Pack 280 Series Flexlock (BLK)

Pin

Wire Color

Circuit No.

Function

Pin

Wire Color

Circuit No.

Function

A

YEL

190

Left Folding Mirror Motor Extend Control

A

YEL

190

Left Folding Mirror Motor Extend Control

B

LT BLU

191

Left Folding Mirror Motor Retract Control

B

LT BLU

191

Left Folding Mirror Motor Retract Control

C

DK GRN

1301

RAP Fuse Supply Voltage

C

DK GRN

1301

RAP Fuse Supply Voltage

C601 (Body Harness to Door Harness, RH Front) (w/o Power Locks/Windows)


Object Number: 40392  Size: CF

Connector Part Information

    • 12047785
    • 4-Way F Metri-Pack 150 Series (BLK)

Connector Part Information

    • 12066498
    • 4-Way M Metri-Pack 150 Series (BLK)

Pin

Wire Color

Circuit No.

Function

Pin

Wire Color

Circuit No.

Function

A

ORN

54

Door Jamb Switch Signal - Passenger

A

ORN

54

Door Jamb Switch Signal - Passenger

B

BLK

1050

Ground

B

BLK

1050

Ground

C

GRY

117

Right Front Speaker Output (+)

C

GRY

117

Right Front Speaker Output (+)

D

TAN

200

Right Front Speaker Output (-)

D

TAN

200

Right Front Speaker Output (-)

C601 (Body Harness to Door Harness, RH Front) (w/ Power Locks/Windows)


Object Number: 362735  Size: CF

Connector Part Information

    • 15317325
    • 22-Way F Global Technology 150, 280 Series (GRY)

Connector Part Information

    • 15317322
    • 22-Way M Global Technology 150, 280 Series (GRY)

Pin

Wire Color

Circuit No.

Function

Pin

Wire Color

Circuit No.

Function

A1

YEL

1496

Mirror Motor Right/Up Control

A1

YEL

1496

Mirror Motor Right/Up Control

A2

TAN

294

Door Lock Actuator Unlock Control

A2

TAN

294

Door Lock Actuator Unlock Control

A3

BRN

2409

Interior Park Lamps Supply Voltage

A3

BRN

2409

Interior Park Lamps Supply Voltage

A4

BLK

1050

Ground

A4

BLK

1050

Ground

A5

ORN

2267

Mirror Heating Element Supply Voltage

A5

ORN

2267

Mirror Heating Element Supply Voltage

A6

LT BLU

166

Power Window Master Switch Right Front Up Signal

A6

LT BLU

166

Power Window Master Switch Right Front Up Signal

A7

TAN

167

Power Window Master Switch Right Front Down Signal

A7

TAN

167

Power Window Master Switch Right Front Down Signal

A8

LT GRN

262

Driver Door Key Switch Signal (w/ Keyless Entry)

A8

LT GRN

262

Driver Door Key Switch Signal (w/ Keyless Entry)

A9

ORN

54

Door Jamb Switch Signal - Passenger (Except Pickup w/o Keyless)

A9

ORN

54

Door Jamb Switch Signal - Passenger (Except Pickup w/o Keyless)

A10

RED/WHT

881

Right Mirror Motor Right Control

A10

RED/WHT

881

Right Mirror Motor Right Control

A11

PPL/WHT

889

Right Mirror Motor Down Control

A11

PPL/WHT

889

Right Mirror Motor Down Control

B1

DK GRN

115

Right Rear Speaker Output (-) (Except Envoy)

B1

LT BLU

115

Right Rear Speaker Output (-) (Except Envoy)

B1

DK GRN

117

Right Front Speaker Output (-) (Envoy)

B1

LT BLU

117

Right Front Speaker Output (-) (Envoy)

B2

LT GRN

46

Right Rear Speaker Output (+) (Except Envoy)

B2

DK BLU

46

Right Rear Speaker Output (+) (Except Envoy)

B2

LT GRN

200

Right Front Speaker Output (+) (Envoy)

B2

DK BLU

200

Right Front Speaker Output (+) (Envoy)

B3

ORN

840

Battery Positive Voltage

B3

ORN

840

Battery Positive Voltage

B4-B5

--

--

Not Used (Pickup)

B4-B5

--

--

Not Used (Pickup)

B4

YEL

190

Left Folding Mirror Motor Extend Control (Utility)

B4

YEL

190

Left Folding Mirror Motor Extend Control (Utility)

B5

LT BLU

199

Left Rear Speaker Output (+) (Utility)

B5

LT BLU

199

Left Rear Speaker Output (+) (Utility)

B6

DK GRN

1001

RAP Fuse Supply Voltage (Except Envoy)

B6

DK GRN

1001

RAP Fuse Supply Voltage (Except Envoy)

B6

DK BLU

1307

Power Window Master Switch Lockout Signal (Envoy)

B6

DK GRN

1307

Power Window Master Switch Lockout Signal (Envoy)

B7

DK BLU/ WHT

727

Secondary Door Latch Switch Signal (w/ Power Locks/Windows)

B7

DK BLU/ WHT

727

Secondary Door Latch Switch Signal (w/ Power Locks/Windows)

B8

--

--

Not Used

B8

--

--

Not Used

B9

WHT

194

Door Unlock Control

B9

WHT

194

Door Unlock Control

B10

LT BLU

195

Door Lock Control

B10

LT BLU

195

Door Lock Control

B11

GRY

295

Door Lock Actuator Lock Control

B11

GRY

295

Door Lock Actuator Lock Control