GM Service Manual Online
For 1990-2009 cars only
Makes
🢒
Chevrolet
🢒
2001
🢒
Blazer - 2WD
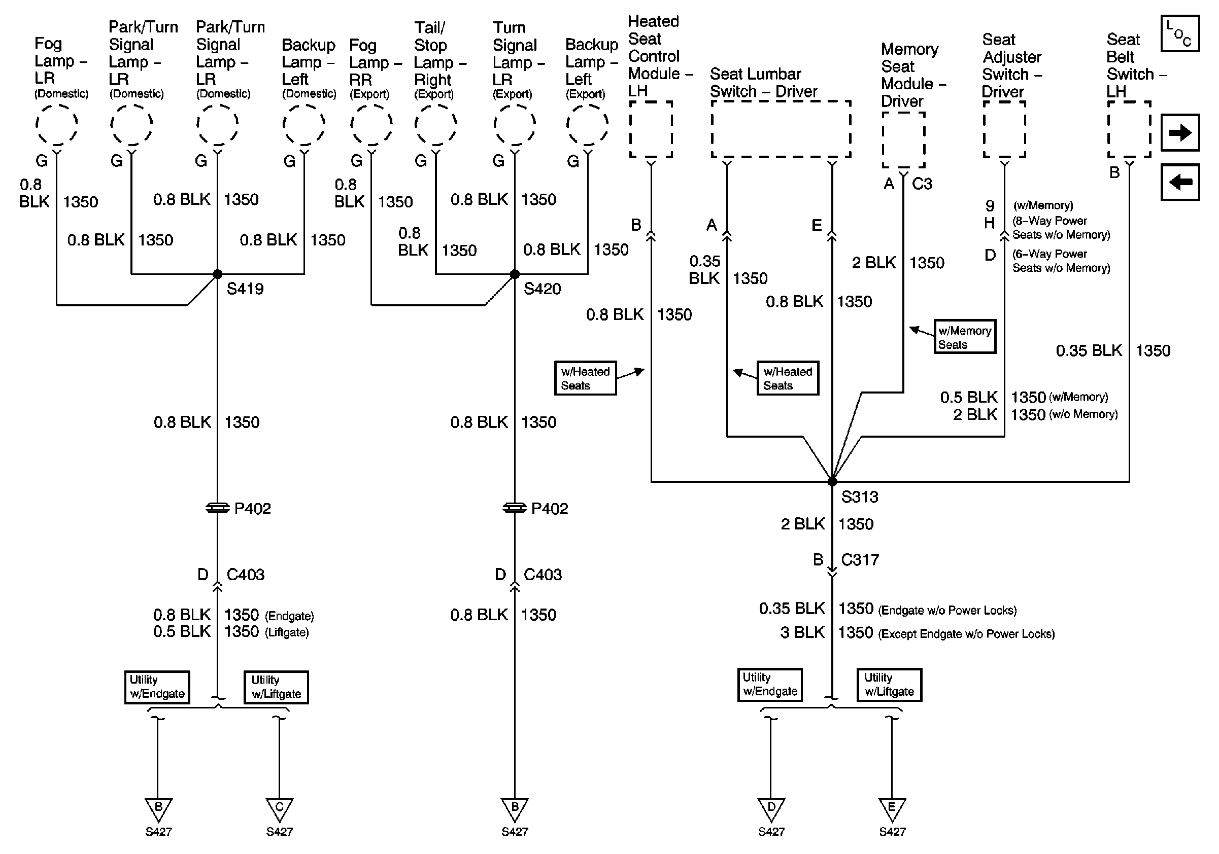
🢒 S313 and S419
S313 and S419
S313 and S419
Master Electrical Component List
S320 and S420
G204 and G205 (Envoy)
G420,G450 and S427 (Utility w/ Endgate and Crew Cab)
G420 and G450 (Utility w/ Liftgate)
G420,G450 and S427 (Utility w/ Endgate and Crew Cab)
G420,G450 and S427 (Utility w/ Endgate and Crew Cab)
G420 and G450 (Utility w/ Liftgate)