GM Service Manual Online
For 1990-2009 cars only
Makes
🢒
Chevrolet
🢒
2001
🢒
Blazer - 2WD
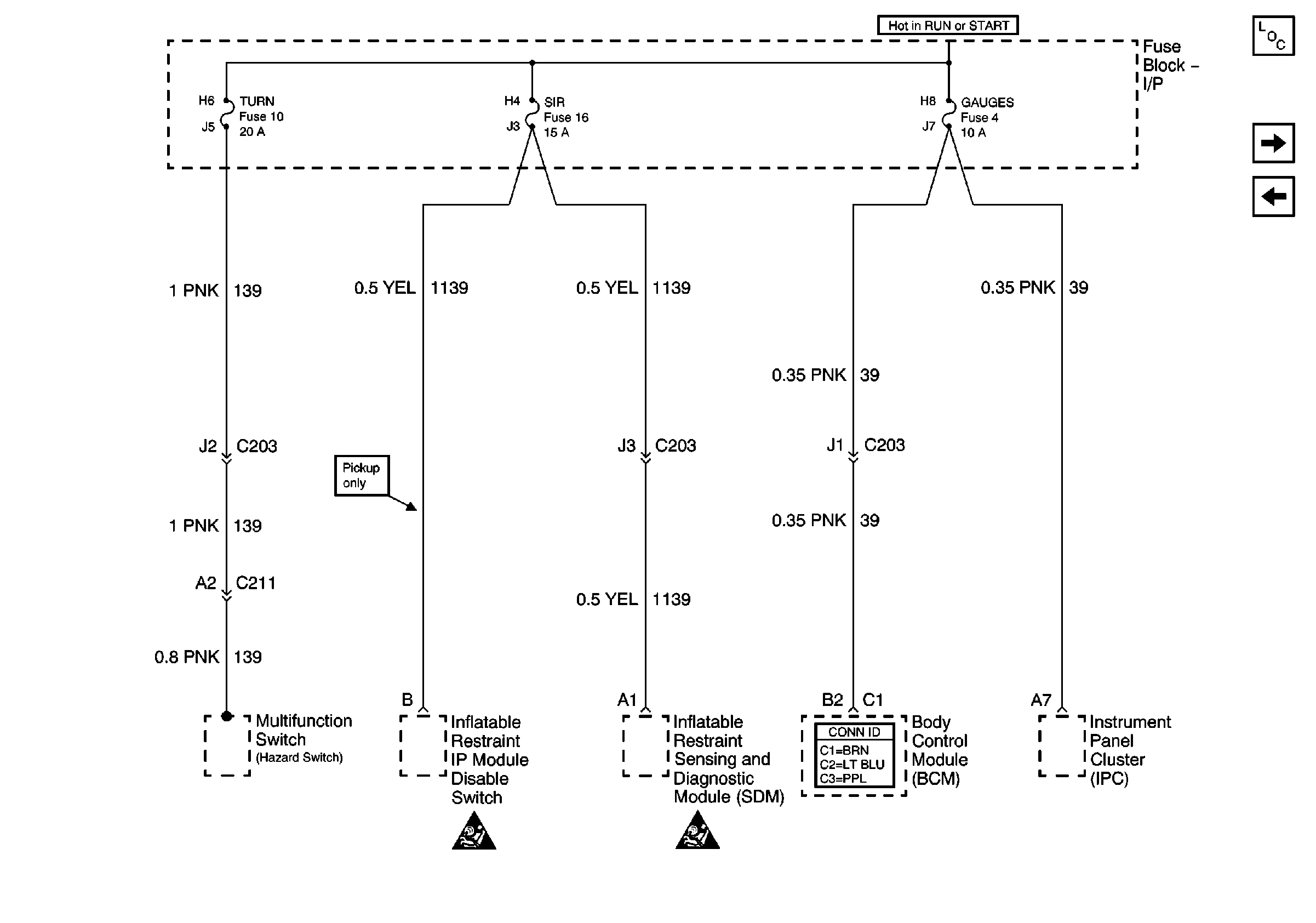
🢒 TURN, SIR and GAUGES Fuses
TURN, SIR and GAUGES Fuses
TURN, SIR and GAUGES Fuses
Master Electrical Component List
IGN E Fuse and A/C Compressor, Rear Defogger, DRL Relays
CRANK and CLSTR Fuses
SIR Handling Caution
SIR Handling Caution