GM Service Manual Online
For 1990-2009 cars only
Makes
🢒
Chevrolet
🢒
2001
🢒
Blazer - 2WD
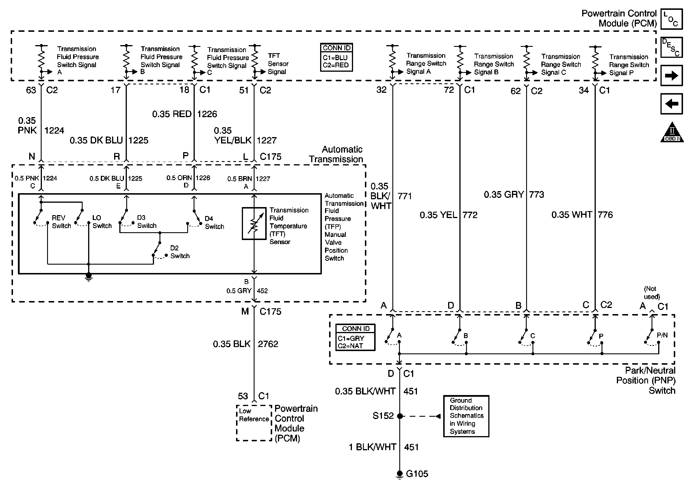
🢒 Automatic Transmission and PNP Switch Inputs
Automatic Transmission and PNP Switch Inputs
Automatic Transmission and PNP Switch Inputs
Master Electrical Component List
Powertrain Control Module Description
Automatic Transmission Valve Controls
Vehicle Speed Signal, Transfer Case Shift Control Module and 4WD IndicatOr Switch
OBD II Symbol Description Notice
G103 and G105 (4.3 L)