GM Service Manual Online
For 1990-2009 cars only
Makes
🢒
Chevrolet
🢒
2001
🢒
Blazer - 2WD
🢒 Power and Ground
Power and Ground
Power and Ground
Master Electrical Component List
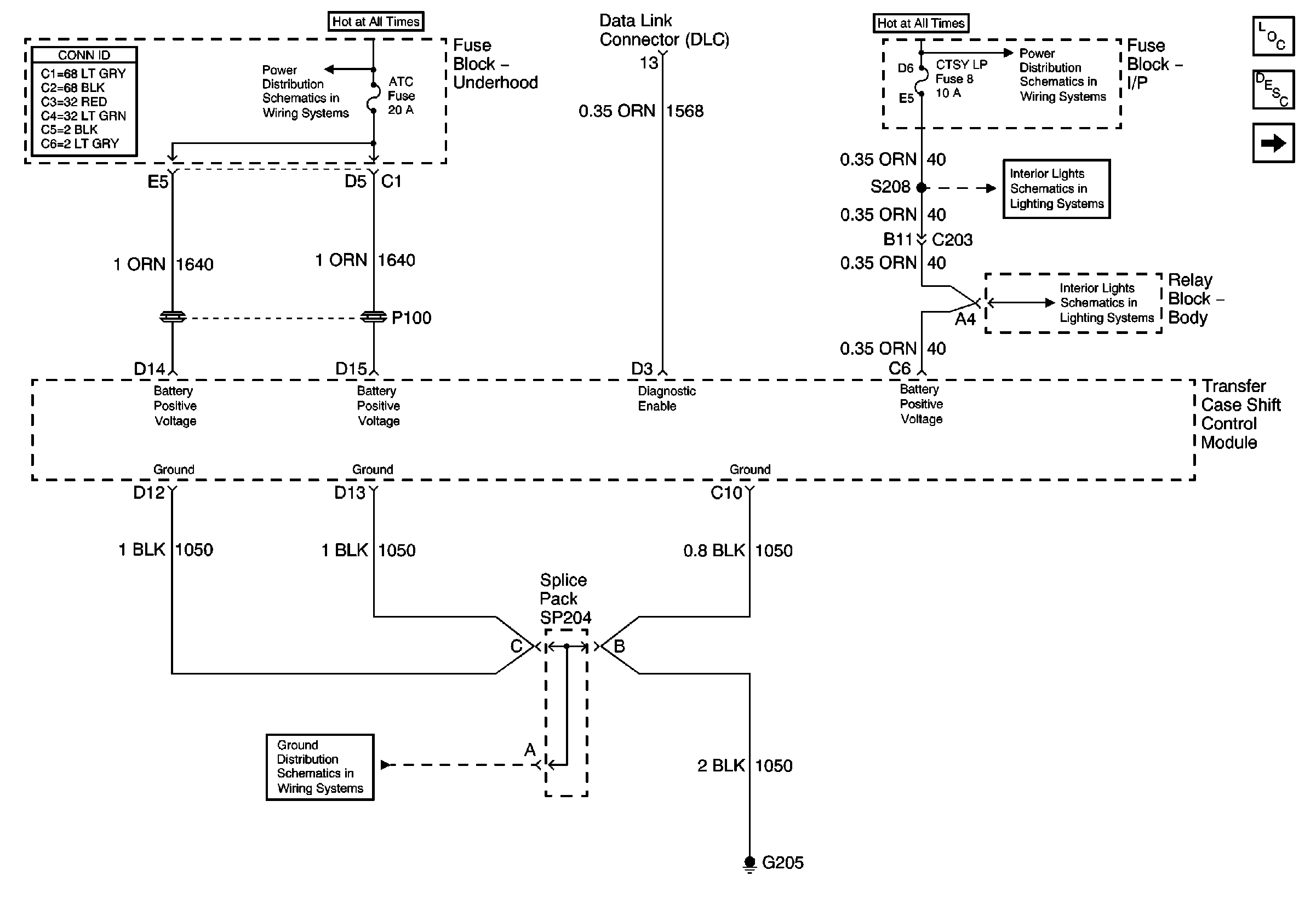
Transfer Case Description and Operation
Transfer Case Encoder Motor
B+ Bus Bar
INT BATT Fuse
CTSY LP Fuse and Courtesy Lamp Relay
CTSY LP Fuse and Courtesy Lamp Relay
G205 (Utility and Crew Cab)