GM Service Manual Online
For 1990-2009 cars only
Makes
🢒
Chevrolet
🢒
2001
🢒
Blazer - 2WD
🢒 BCM (Chevy/GMC)
BCM (Chevy/GMC)
BCM (Chevy/GMC)
Master Electrical Component List
Radio/Audio System Description and Operation w/o CTF
Speakers (Regular Cab and Extended Cab w/ 3rd Door - Chevy/GMC)
Ground (Chevy/GMC)
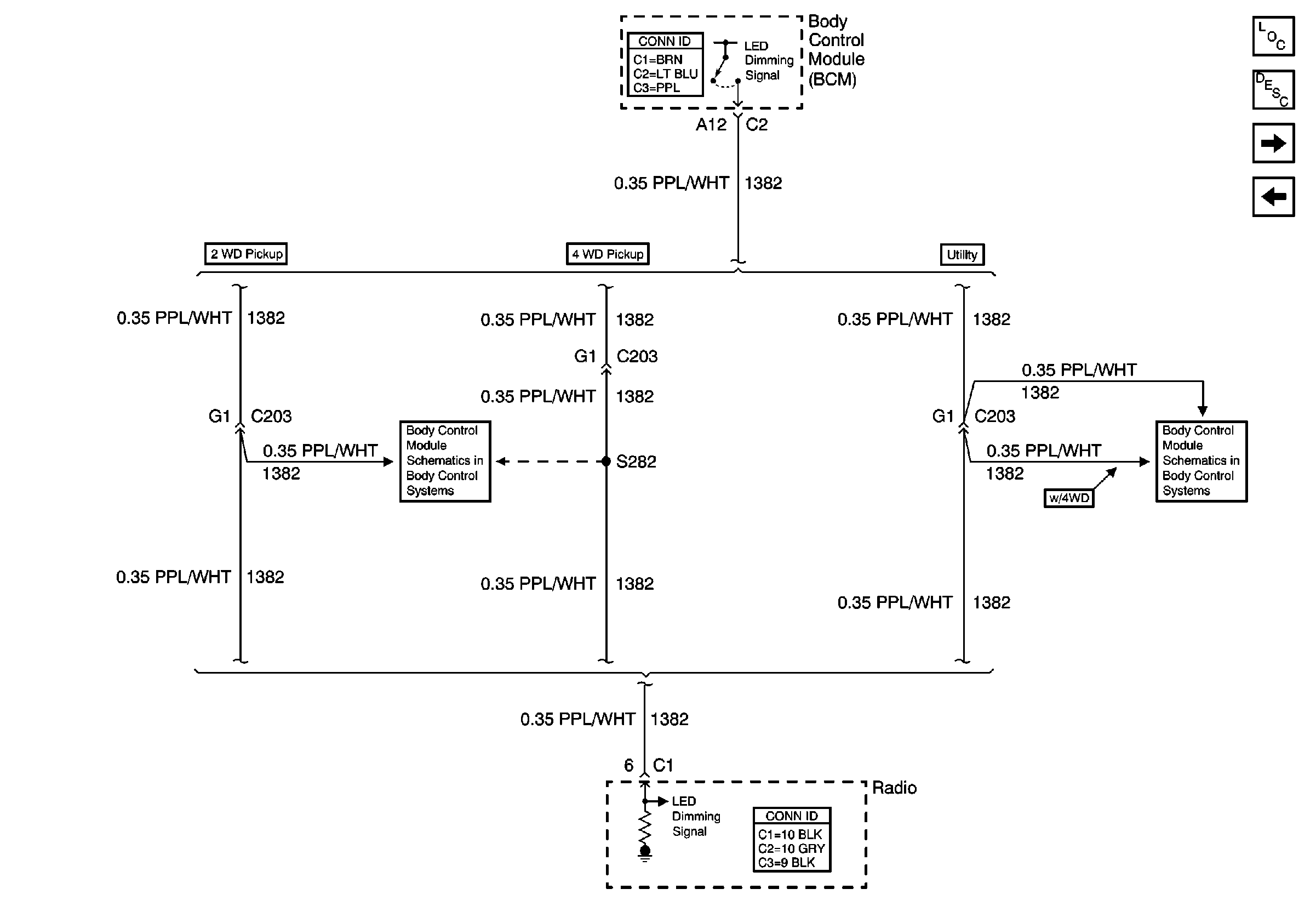
PCM, Data Link Connector (DLC) and Dimming Signal
PCM, Data Link Connector (DLC) and Dimming Signal