GM Service Manual Online
For 1990-2009 cars only
Makes
🢒
Chevrolet
🢒
2001
🢒
Blazer - 2WD
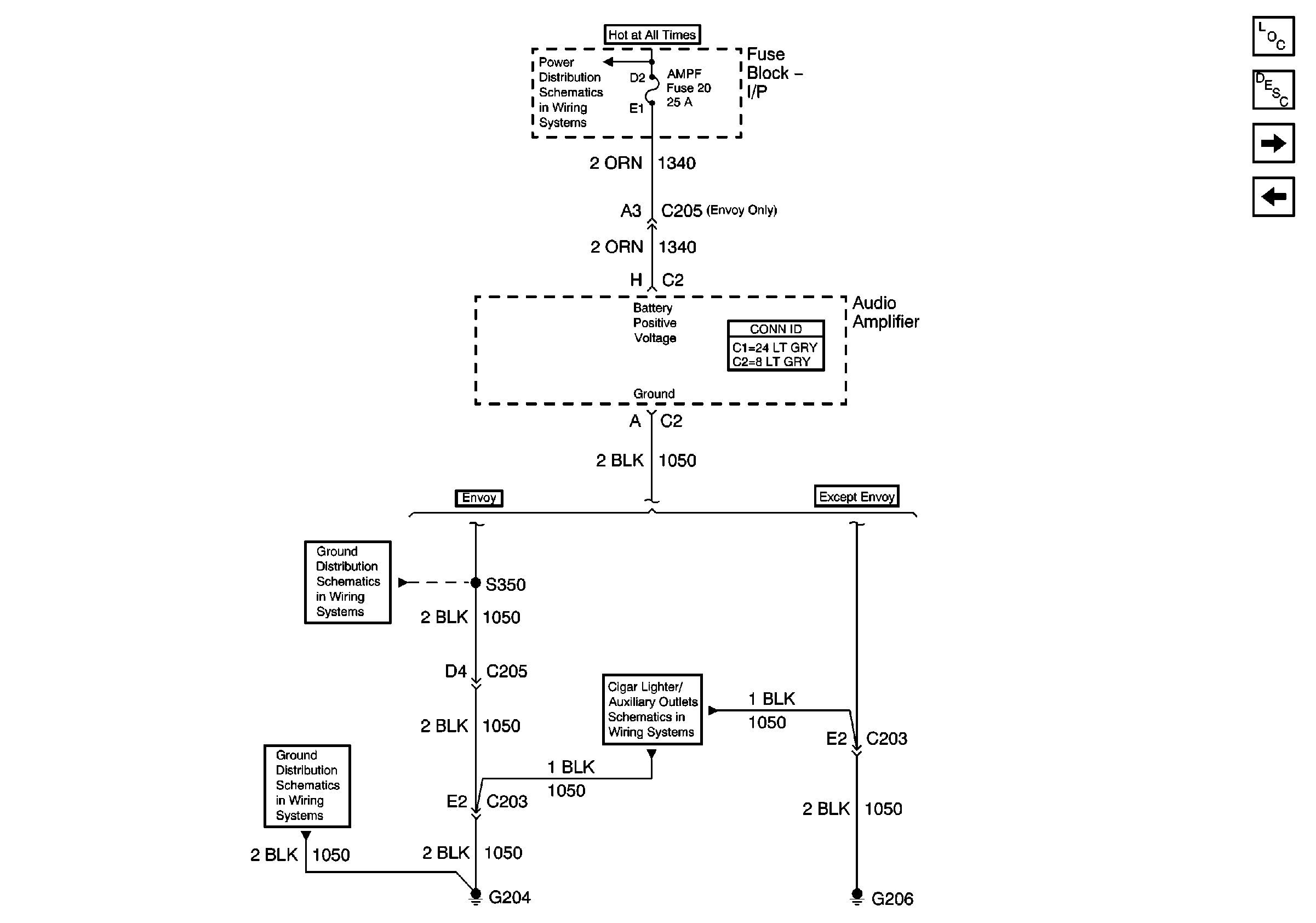
🢒 Audio Amplifier Power and Ground (Chevy/GMC)
Audio Amplifier Power and Ground (Chevy/GMC)
Audio Amplifier Power and Ground (Chevy/GMC)
Master Electrical Component List
Radio/Audio System Description and Operation w/o CTF
Audio Amplifier Inputs (Chevy/GMC)
Remote Tape/CD Player (Chevy/GMC)
INT BATT Fuse
G204 and G205 (Envoy)
G204 and G205 (Envoy)
Except Envoy