| Figure 1: |
Forward Lamps Harness
|
| Figure 2: |
Battery Fuse and Secondary Air Injection (AIR) Jumper Harness
|
| Figure 3: |
Secondary Air Injection(AIR) Fuse Block
|
| Figure 4: |
Engine Compartment Details
|
| Figure 5: |
Inline Connector C106
|
| Figure 6: |
Front Frame Grounds
|
| Figure 7: |
A/C Accumulator (4.3L)
|
| Figure 8: |
Powertrain Control Module (PCM)
|
| Figure 9: |
Engine, LF (2.2L)
|
| Figure 10: |
4.3L Engine Generator and Starter
|
| Figure 11: |
Engine, LR (2.2L)
|
| Figure 12: |
Engine, LR (4.3L)
|
| Figure 13: |
Heated Oxygen Sensor (HO2S) Extension Harness (4.3 L)
|
| Figure 14: |
Manual Transmission, LH (4.3L)
|
| Figure 15: |
Automatic Transmission (2.2L)
|
| Figure 16: |
Transmission Range Switch (w/ A/T) 4.3L Shown, 2.2L Similar
|
| Figure 17: |
Automatic Transmission, RH (4.3L)
|
| Figure 18: |
Transfer Case (NP1) Harness Routing View
|
| Figure 19: |
Transfer Case (NP8) Harness Routing View
|
| Figure 20: |
Instrument Panel, LF
|
| Figure 21: |
Instrument Panel, RH
|
| Figure 22: |
Instrument Panel, RF
|
| Figure 23: |
IP Wiring Harness
|
| Figure 24: |
Instrument Panel, LH
|
| Figure 25: |
IP Wiring Harness Composite View
|
| Figure 26: |
Steering Column Components
|
| Figure 27: |
Accessory Power Tray
|
| Figure 28: |
Dome Lamp Harness
|
| Figure 29: |
Sunroof (Utility)
|
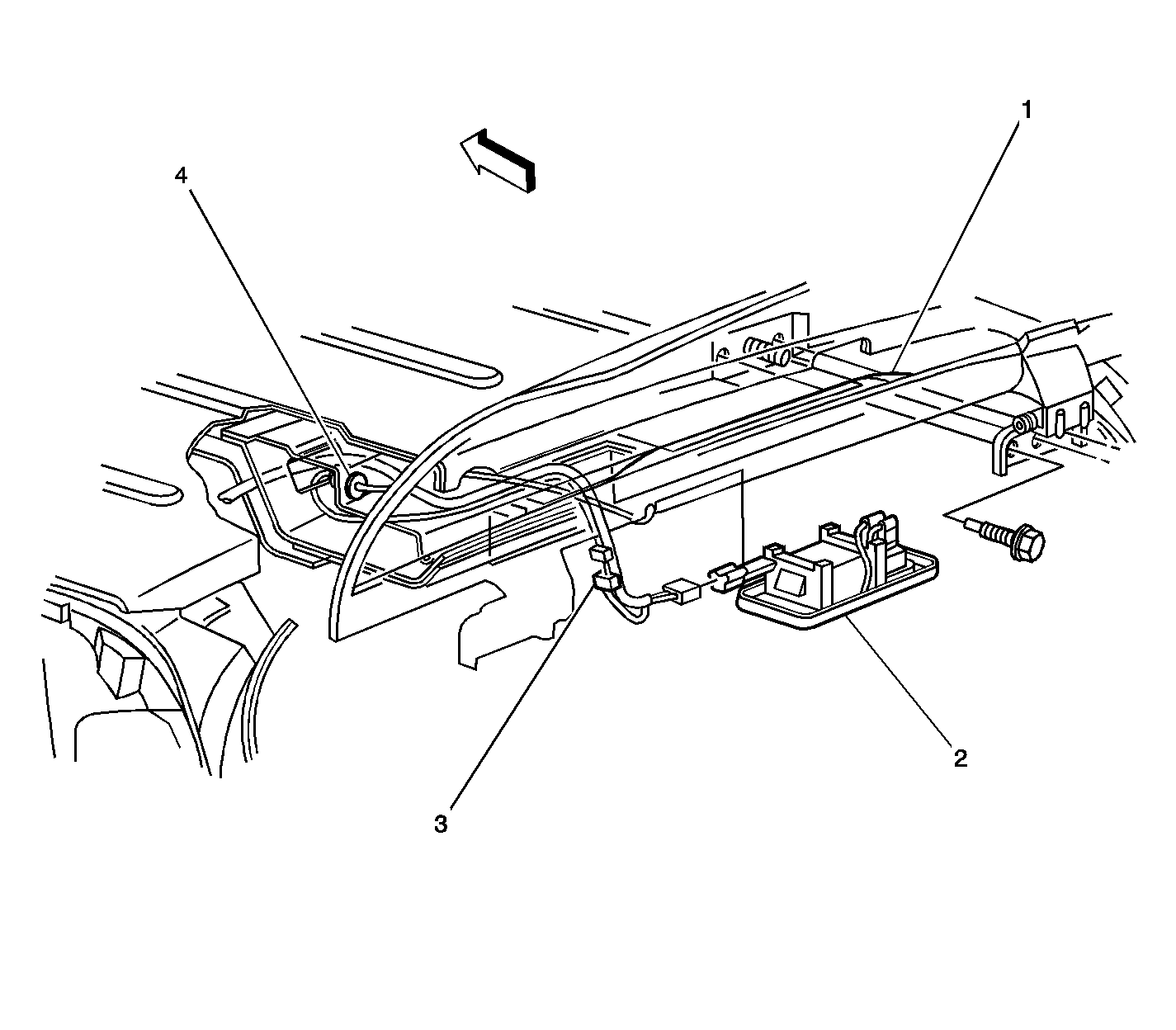
| Figure 30: |
Dome Lamp Harness w/o Driver Information Center (DIC) (Utility)
|
| Figure 31: |
Driver Information Center (DIC) (w/ Overhead Console)
|
| Figure 32: |
Floor Panel, Utility
|
| Figure 33: |
Floor Shifter Harness Connections
|
| Figure 34: |
Body Wiring to Left Front Seat
|
| Figure 35: |
Front Passenger Door Shown, Driver Similar
|
| Figure 36: |
Outside Rear View Mirror
|
| Figure 37: |
Rear Door Wiring Harness (RH Shown, LH Similar)
|
| Figure 38: |
Rear Door Details - 2 & 4 Door Utility
|
| Figure 39: |
Body Wiring - RR
|
| Figure 40: |
Body Opening Frame, Rear
|
| Figure 41: |
Rear Roof-Utility
|
| Figure 42: |
Rear Lamps Connection (Utility LH Side Shown, RH Side Similar)
|
| Figure 43: |
Body Harness to Rear Window Defogger
|
| Figure 44: |
Rear Lamps (Pickup)
|
| Figure 45: |
Endgate Connectors
|
| Figure 46: |
Rear Framerail-Pickup
|
| Figure 47: |
Chassis Harness Routing (S422)
|
| Figure 48: |
Rear Frame (4-Door Utility)
|
| Figure 49: |
Endgate Harness Routing View
|
| Figure 50: |
LH Front Fender Area
|
| Figure 51: |
License Lamp Wiring (Sportside Pickup)
|
| Figure 52: |
License Lamps (Export)
|