GM Service Manual Online
For 1990-2009 cars only

Assist Step Replacement ZR5

Removal Procedure


    Object Number: 830491  Size: SH
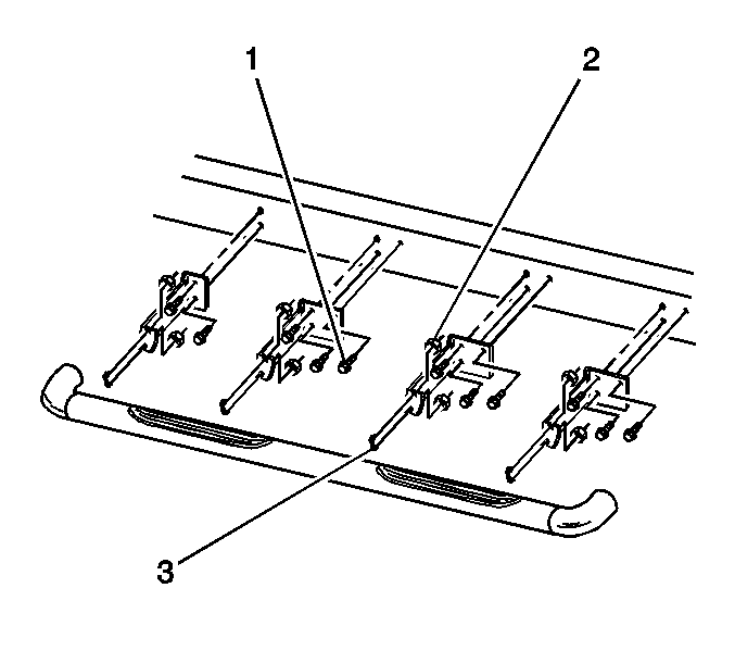
  1. Remove 8 nuts (1) and 4  U-bolts (3) securing the assist step assembly to the mounting brackets.
  2. Remove the 11 nuts (2) and 4 brackets.
  3. Remove the plastic end caps from the assist step assembly, if required.
  4. 3.1. Remove the 3 screws from the assist step assembly.
    3.2. Remove the plastic end cap by pulling the cap straight out of the step assembly.
  5. Remove the plastic step pads, if required, by breaking the plastic pad from the assist step assembly.

Installation Procedure


    Object Number: 830491  Size: SH
  1. Install new plastic step pads to the assist step assembly by pressing the new pads into place.
  2. Install the plastic end cap to the assist step assembly.
  3. 2.1. Install the plastic end cap by pressing the cap straight into the assist step assembly.
    2.2. Install 3 screws into the step assembly.

    Notice: Refer to Fastener Notice in the Preface section.

  4. Install the 4 brackets and 11 nuts (2).
  5. Tighten
    Tighten to 35 N·m (26 lb ft).

  6. Install the assist step assembly to the mounting brackets with 4 U-bolts (3) and 8 nuts (1).
  7. Tighten
    Tighten the step assembly nuts to 20 N·m (15 lb ft).


    Object Number: 830493  Size: SH
  8. If the studs are bent or missing, use a center punch at the center of the missing location. Using a 12.7 mm (0.5 in) drill, drill a hole.
  9. Install a rivnut into the frame.
  10. Install bolt (1) in rivnuts.
  11. Tighten
    Tighten to 35 N·m (26 lb ft).

Assist Step Replacement ZR2

Removal Procedure


    Object Number: 1340520  Size: SH
  1. Remove 6 nuts (1) and 3 U-bolts (3) securing the assist step assembly to the mounting brackets.
  2. Remove the 8 nuts (2) and 3 brackets.
  3. Remove the plastic end caps from the assist step assembly, if required.
  4. 3.1. Remove the 3 screws from the assist step assembly.
    3.2. Remove the plastic end cap by pulling the cap straight out of the step assembly.
  5. Remove the plastic step pads, if required, by breaking the plastic pad from the assist step assembly.

Installation Procedure


    Object Number: 1340520  Size: SH
  1. Install new plastic step pads to the assist step assembly by pressing the new pads into place.
  2. Install the plastic end cap to the assist step assembly.
  3. 2.1. Install the plastic end cap by pressing the cap straight into the assist step assembly.
    2.2. Install 3 screws into the step assembly.

    Notice: Refer to Fastener Notice in the Preface section.

  4. Install the 3 brackets and 8 nuts (2).
  5. Tighten
    Tighten to 35 N·m (26 lb ft).

  6. Install the assist step assembly to the mounting brackets with 3 U-bolts (3) and 6 nuts (1).
  7. Tighten
    Tighten the step assembly nuts to 20 N·m (15 lb ft).


    Object Number: 1340525  Size: SH
  8. If the studs are bent or missing, use a center punch at the center of the missing location. Using a 12.7 mm (0.5 in) drill, drill a hole.
  9. Install a rivnut into the frame.
  10. Install bolt (1) in rivnuts.
  11. Tighten
    Tighten to 35 N·m (26 lb ft).