GM Service Manual Online
For 1990-2009 cars only

Evaporative Emission Canister Vent Solenoid Valve Replacement 2-Door Utility

Removal Procedure


    Object Number: 617048  Size: SH
  1. Raise the vehicle. Refer to Lifting and Jacking the Vehicle in General Information.
  2. Lower the spare tire, underbody mounted spare tire only.
  3. Remove the shield (2) from the fuel tank shield (3).

  4. Object Number: 388075  Size: SH
  5. Disconnect the vent valve electrical connector.

  6. Object Number: 617052  Size: SH
  7. Disconnect the vent hose (3).
  8. Bend back the tang on the bracket.
  9. Remove the vent valve (1) from the bracket (2).

Installation Procedure


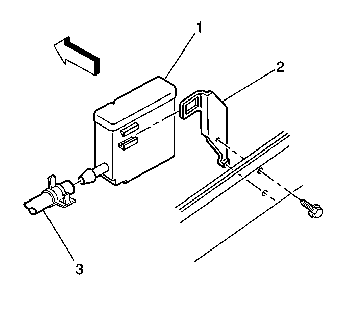
    Object Number: 617052  Size: SH
  1. Slide the vent valve (1) onto the bracket (2).
  2. Connect the vent hose (3).

  3. Object Number: 388075  Size: SH
  4. Connect the vent valve electrical connector.

  5. Object Number: 617048  Size: SH
  6. Install the shield (2) to the fuel tank shield (3) with the retainers (1).
  7. Raise the spare tire, underbody mounted spare tire only.
  8. Lower the vehicle.

Evaporative Emission Canister Vent Solenoid Valve Replacement 4-Door Utility

Removal Procedure

  1. Turn OFF the ignition.
  2. Raise the vehicle. Refer to Lifting and Jacking the Vehicle in General Information.
  3. Remove the spare tire, underbody mounted spare tire only.
  4. Disconnect the evaporative emission (EVAP) canister vent valve harness connector.

  5. Object Number: 747560  Size: SH
  6. Disconnect the vent hose (1) from the EVAP canister vent valve (2).
  7. Release the tang on the vent bracket (4).
  8. Remove the vent valve (2) from the bracket (4).

Installation Procedure


    Object Number: 747560  Size: SH
  1. Slide the vent valve (2) onto the bracket (4).
  2. Test the EVAP canister vent valve retention to the vent bracket (4).
  3. Connect the EVAP vent hose (1) to the EVAP canister vent valve (2).
  4. Connect the EVAP canister vent valve harness connector.
  5. Raise the spare tire, underbody mounted spare tire only.
  6. Lower the vehicle.