GM Service Manual Online
For 1990-2009 cars only
Makes
🢒
Chevrolet
🢒
2005
🢒
Blazer - 2WD
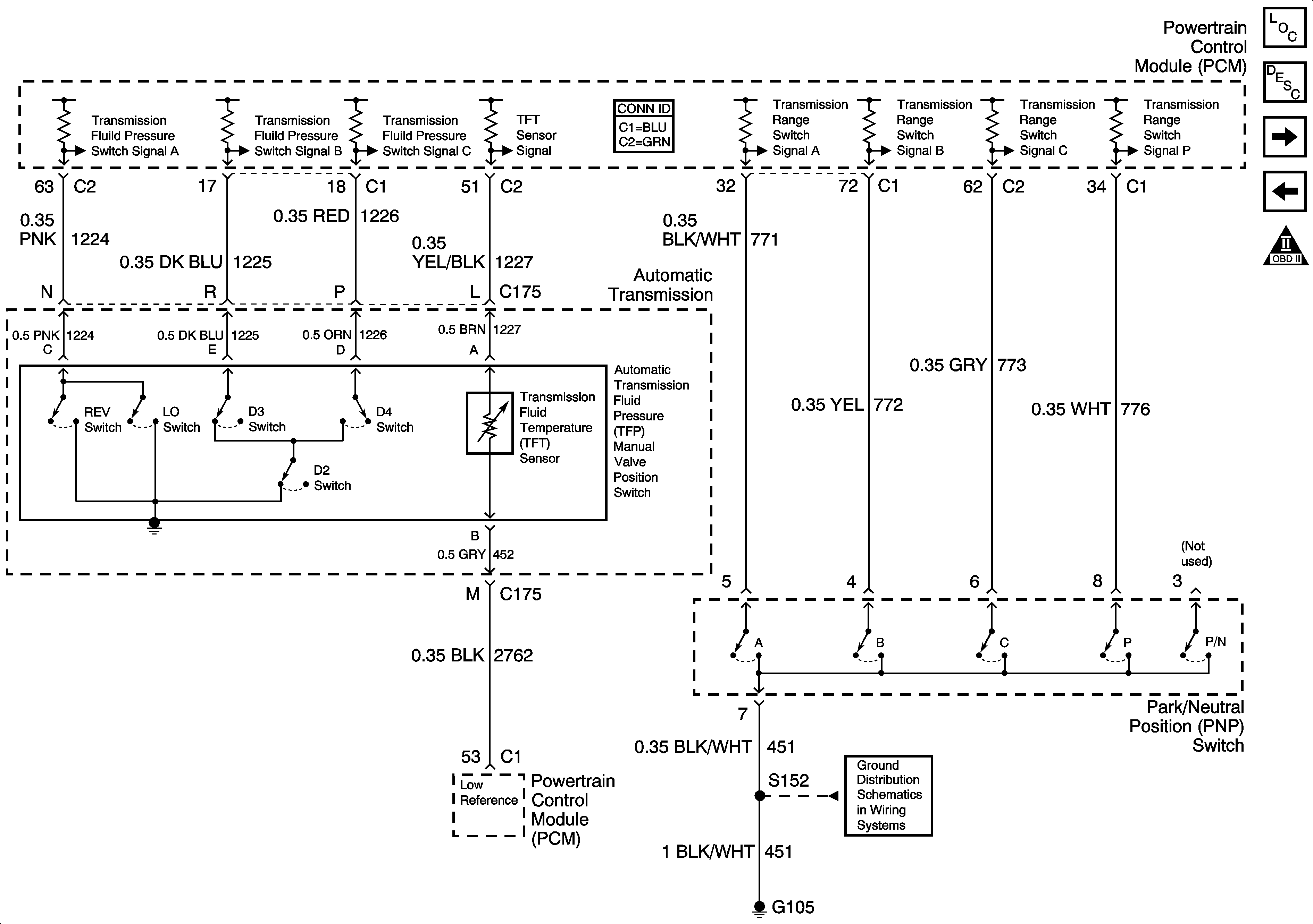
🢒 Switch Inputs and PNP Switch
Switch Inputs and PNP Switch
Switch Inputs and PNP Switch - 4.3L
Master Electrical Component List
Electronic Component Description
VSS Inputs, 4WD Low Indicator Signal
Valve Controls
OBD II Symbol Description Notice
G103 and G105