GM Service Manual Online
For 1990-2009 cars only
Makes
🢒
Chevrolet
🢒
2005
🢒
Blazer - 2WD
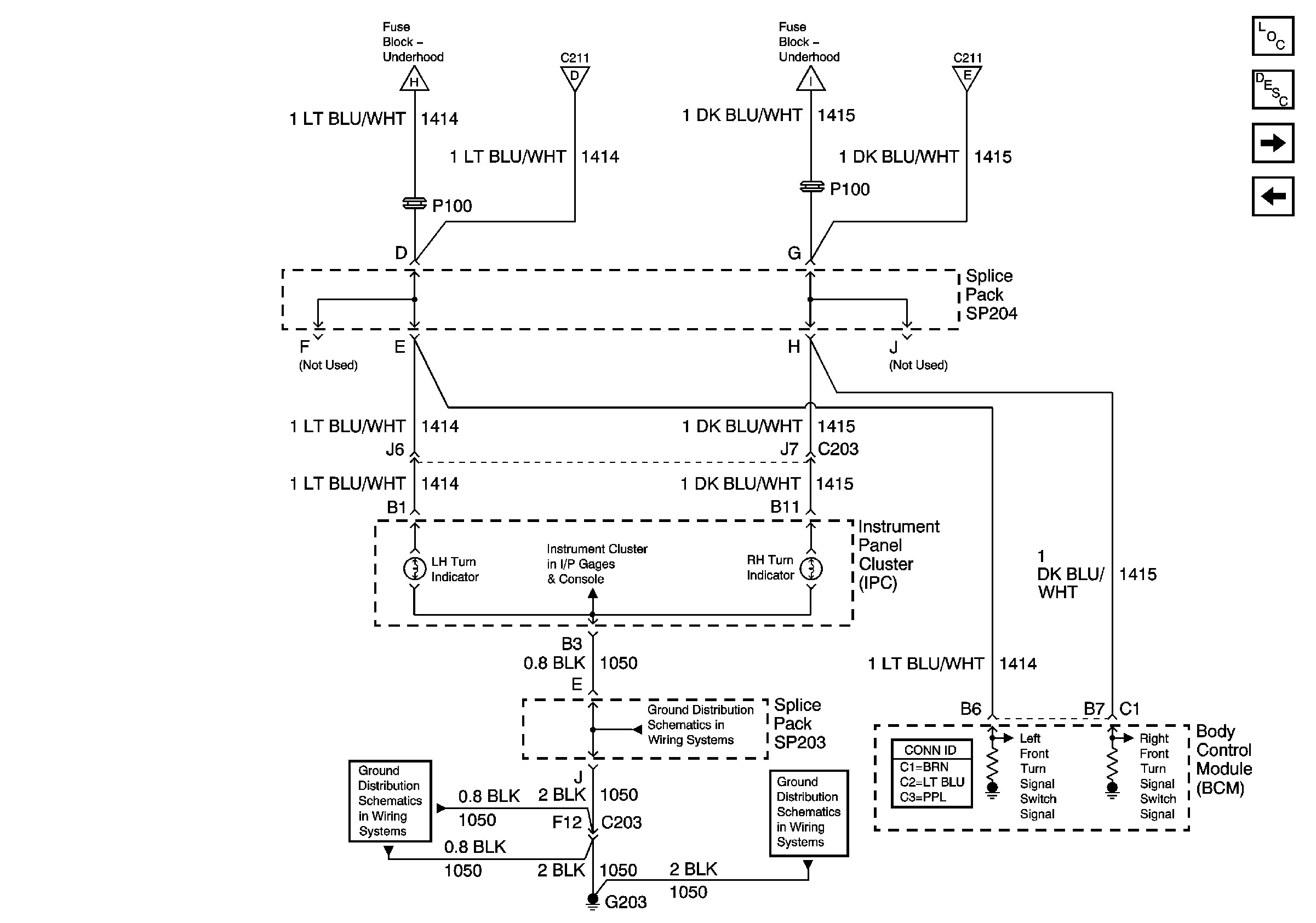
🢒 Instrument Cluster Turn Signal Indicators
Instrument Cluster Turn Signal Indicators
Instrument Cluster Turn Signal Indicators
Master Electrical Component List
Exterior Lighting Systems Description and Operation
Turn Signal Fuses
Multifunction Switch and Turn Signal Lamp Flasher
Park/Turn Signal Lamps, Marker Lamps and Turn Signal Fuses, Front
Multifunction Switch and Turn Signal Lamp Flasher
Park/Turn Signal Lamps, Marker Lamps and Turn Signal Fuses, Front
Multifunction Switch and Turn Signal Lamp Flasher
G203 and G204 - Pickup
G203 and G204 - Utility w/Manual A/C
G203 and G204 - Pickup