GM Service Manual Online
For 1990-2009 cars only
Makes
🢒
Chevrolet
🢒
2005
🢒
Blazer - 2WD
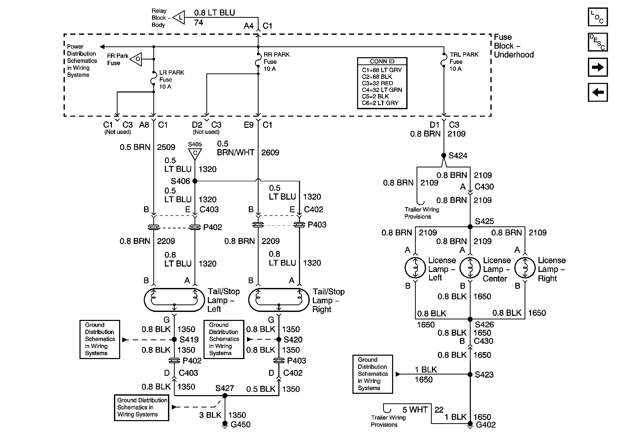
🢒 Tail, Stop and License Lamps - Export
Tail, Stop and License Lamps - Export
Tail, Stop and License Lamps - Export
Master Electrical Component List
Exterior Lighting Systems Description and Operation
Backup Lamps - Utility
Park and License Lamps, Rear - Utility
Park Lamp Control
FR PRK, LR PRK, RR PRK Fuses and Fog Lamp Relay - Pickup
Park/Turn Signal Lamps, Marker Lamps and Turn Signal Fuses, Front
Center High Mounted Stop Lamp
S313 and S419
S320 and S420
G420, G450 and S427 - Utility and Crew Cab
G402 and G421 - Utility