GM Service Manual Online
For 1990-2009 cars only
Makes
🢒
Chevrolet
🢒
2005
🢒
Blazer - 2WD
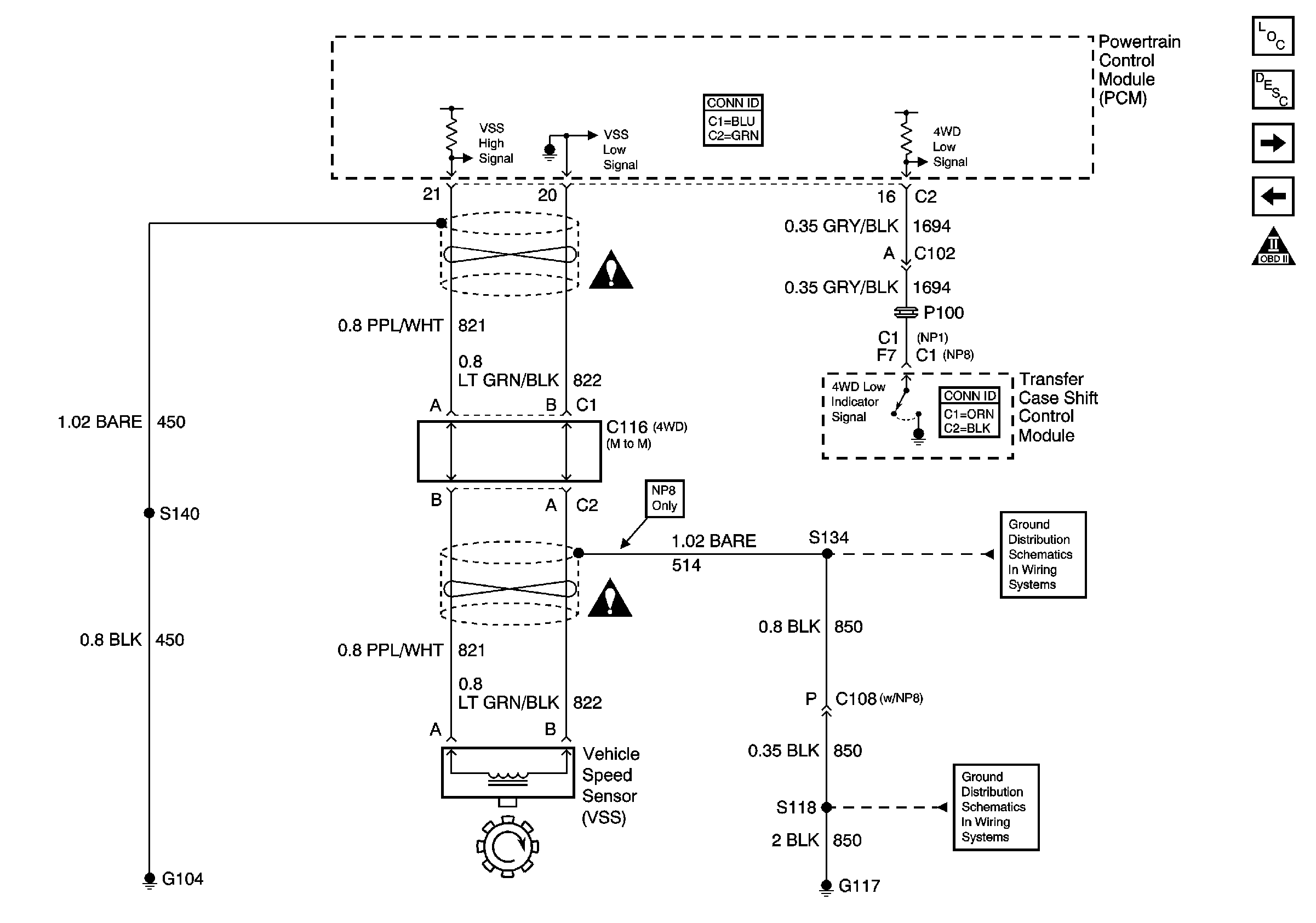
🢒 VSS Inputs,4WD Low Indicator Signal - 4.3L
VSS Inputs,4WD Low Indicator Signal - 4.3L
VSS Inputs, 4WD Low Indicator Signal - 4.3L
Master Electrical Component List
Electronic Component Description
Brake Switch Input (4.3L) and Tow/Haul Switch
Switch Inputs and PNP Switch - 4.3L
OBD II Symbol Description Notice
G104 and G117
G104 and G117
Automatic Transmission Schematic Icons
Automatic Transmission Schematic Icons