GM Service Manual Online
For 1990-2009 cars only

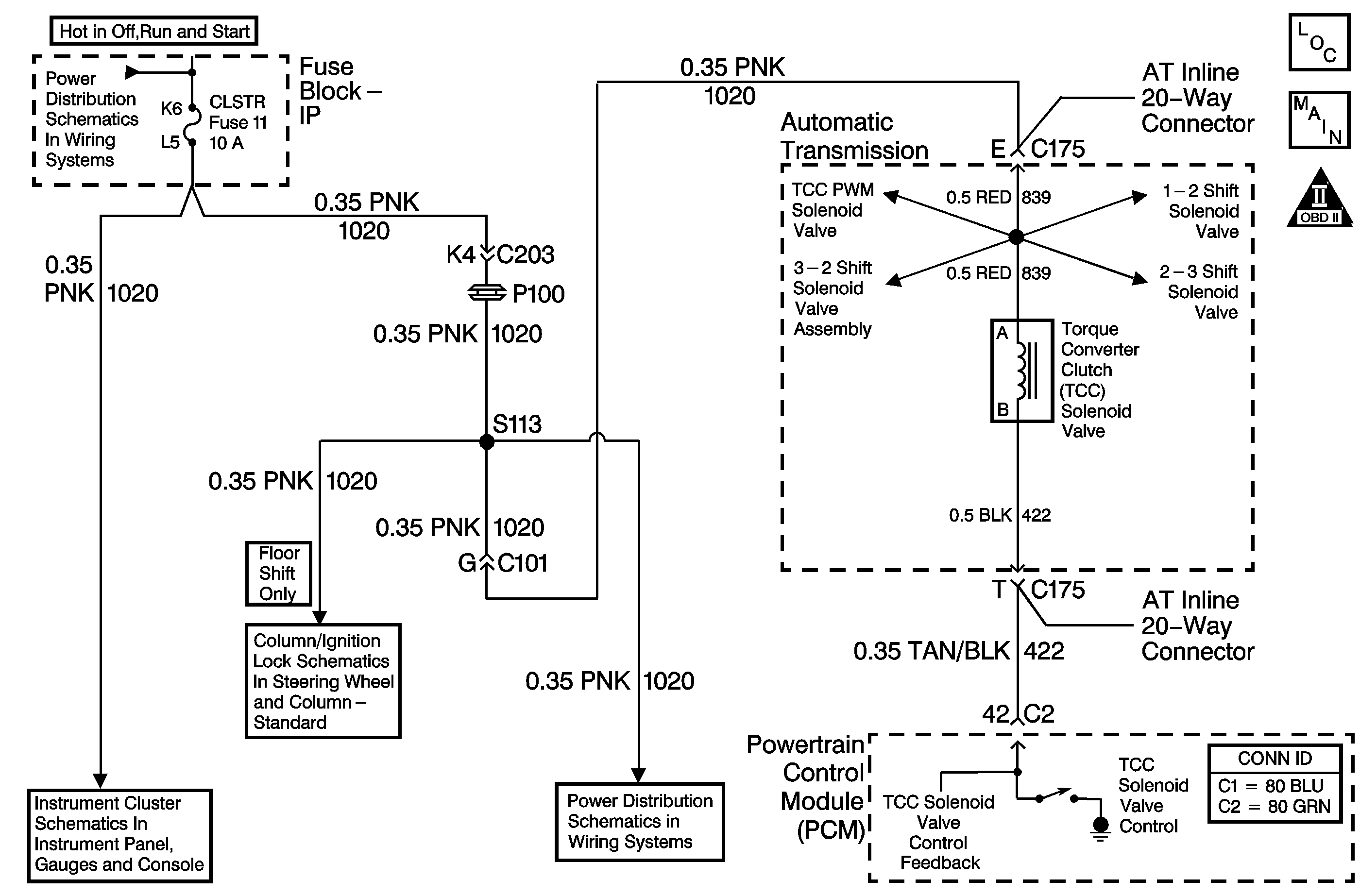
Object Number: 1418427  Size: MF
Master Electrical Component List
Automatic Transmission Controls Schematics
OBD II Symbol Description Notice

Circuit Description

The torque converter clutch (TCC) solenoid valve is an electrical device that is used with the torque converter clutch pulse width modulation (TCC PWM) solenoid valve in order to control TCC apply and release. The TCC solenoid valve attaches to the transmission case assembly extending into the pump cover. The TCC solenoid valve receives ignition voltage through the Ignition 0 voltage circuit. The powertrain control module (PCM) controls the solenoid by providing the ground path on the TCC solenoid valve control circuit. The PCM monitors the throttle position sensor voltage, the vehicle speed, and other inputs in order to determine when to energize the TCC solenoid valve.

When the PCM detects a continuous open, short to ground or short to voltage in the TCC solenoid valve circuit , then DTC P0740 sets. DTC P0740 is a type B DTC.

DTC Descriptor

This diagnostic procedure supports the following DTC:

DTC P0740 Torque Converter Clutch (TCC) Enable Solenoid Control Circuit

Conditions for Running the DTC

    • The system voltage is 10-18 volts.
    • The engine speed is greater than 450 RPM for 5 seconds.
    • The engine is not in fuel cutoff.

Conditions for Setting the DTC

DTC P0740 sets if one of the following conditions occurs for 5 seconds:

Condition 1

The PCM commands the solenoid ON and the voltage feedback remains high, B+.

Condition 2

The PCM commands the solenoid OFF and the voltage feedback remains low, 0 volt.

Action Taken When the DTC Sets

    • The PCM illuminates the malfunction indicator lamp (MIL) during the second consecutive trip in which the Conditions for Setting the DTC are met.
    • The PCM inhibits TCC engagement.
    • The PCM inhibits 4th gear if the transmission is in hot mode.
    • The PCM freezes shift adapts from being updated.
    • The PCM records the operating conditions when the Conditions for Setting the DTC are met. The PCM stores this information as Freeze Frame and Failure Records.
    • The PCM stores DTC P0740 in PCM history during the second consecutive trip in which the Conditions for Setting the DTC are met.

Conditions for Clearing the MIL/DTC

    • The PCM turns OFF the MIL during the third consecutive trip in which the diagnostic test runs and passes.
    • A scan tool can clear the MIL/DTC.
    • The PCM clears the DTC from PCM history if the vehicle completes 40 warm-up cycles without an emission-related diagnostic fault occurring.
    • The PCM cancels the DTC default actions when the ignition switch is OFF long enough in order to power down the PCM.

Diagnostic Aids

With the TCC engaged, the TCC slip speed should be -20 to +50 RPM.

Test Description

The numbers below refer to the step numbers on the diagnostic table.

  1. This step tests for voltage to the solenoid.

  2. This step tests the ability of the PCM and wiring to control the ground circuit.

  3. This step tests the resistance of the TCC solenoid valve and the automatic transmission (AT) wiring harness assembly.

DTC P0740

Step

Action

Values

Yes

No

1

Did you perform the Diagnostic System Check - Vehicle?

--

Go to Step 2

Go to Diagnostic System Check - Vehicle in Vehicle DTC Information

2

  1. Install a scan tool.
  2. Turn ON the ignition, with the engine OFF.
  3. Important: Before clearing the DTC, use the scan tool in order to record the Freeze Frame and Failure Records. Using the Clear Info function erases the Freeze Frame and Failure Records from the PCM.

  4. Record the DTC Freeze Frame and Failure Records.
  5. Clear the DTC.

Are any of the following DTCs also set?

    • P0753
    • P0758
    • P0785
    • P2761

--

Go to Step 3

Go to Step 4

3

Inspect the CLSTR fuse for an open.

Refer to Circuit Protection - Fuses in Wiring Systems.

Is the fuse open?

--

Go to Step 9

Go to Step 4

4

  1. Turn OFF the ignition.
  2. Disconnect the AT inline 20-way connector, additional DTCs may set.
  3. Install the J 44152 Jumper Harness (20 pins) on the engine side of the AT inline 20-way connector.
  4. Turn ON the ignition, with the engine OFF.
  5. Using the J 35616 GM Terminal Test Kit, connect a test lamp from the TCC solenoid valve ignition 0 voltage circuit of the J 44152 to ground.
  6. Refer to Automatic Transmission Inline 20-Way Connector End View .

Does the test lamp illuminate?

--

Go to Step 5

Go to Step 12

5

  1. Connect the test lamp from the TCC solenoid valve ignition 0 voltage and signal circuits of the J 44152 .
  2. Refer to Automatic Transmission Inline 20-Way Connector End View .

  3. Use the scan tool in order to command the TCC solenoid valve ON and OFF three times.

Does the test lamp turn ON and OFF with each command?

--

Go to Step 7

Go to Step 6

6

Is the test lamp always ON?

--

Go to Step 13

Go to Step 14

7

  1. Install the J 44152 on the transmission side of the AT inline 20-way connector.
  2. Using the DMM and the J 35616 , measure the resistance between the TCC solenoid valve ignition 0 voltage and signal circuits of the J 44152 .
  3. Refer to Testing for Continuity in Wiring Systems.

Refer to Automatic Transmission Inline 20-Way Connector End View .

Does the resistance measure within the specified range?

21-33 ohms

Go to Step 8

Go to Step 15

8

  1. Measure the resistance from the TCC solenoid valve ignition voltage circuit of the J 44152 to ground.
  2. Measure the resistance from the TCC solenoid valve signal circuit of the J 44152 to ground.

Refer to Testing for Continuity in Wiring Systems.

Do both readings measure greater than the specified value?

250 K ohms

Go to Intermittent Conditions in Engine Controls - 4.3L

Go to Step 15

9

Important: The condition that affects this circuit may exist in other connecting branches of the circuit. Refer to Power Distribution Schematics in Wiring Systems for complete circuit distribution.

Test the ignition voltage circuit of the TCC solenoid valve for a short to ground between the fuse block-IP and the AT inline 20-way connector.

Refer to Testing for Short to Ground and Wiring Repairs in Wiring Systems.

Did you find and correct the condition?

--

Go to Step 17

Go to Step 10

10

Important: The condition that affects this circuit may exist in other connecting branches of the circuit. Refer to Power Distribution Schematics in Wiring Systems for complete circuit distribution.

Test the ignition voltage circuit of the TCC solenoid valve for a short to ground between the AT inline 20-way connector and the TCC solenoid valve.

Refer to Testing for Short to Ground in Wiring Systems.

Did you find a short to ground condition?

--

Go to Step 15

Go to Step 11

11

  1. Test each solenoid for a short to ground.
  2. Replace the faulty solenoid as necessary.

Did you complete the replacement?

--

Go to Step 17

--

12

Important: The condition that affects this circuit may exist in other connecting branches of the circuit. Refer to Power Distribution Schematics in Wiring Systems for complete circuit distribution.

Test the ignition voltage circuit of the TCC solenoid valve for an open.

Refer to Testing for Continuity and Wiring Repairs in Wiring Systems.

Did you find and correct the condition?

--

Go to Step 17

--

13

Test the control circuit of the TCC solenoid valve for a short to ground between the PCM and the AT inline 20-way connector.

Refer to Testing for Short to Ground and Wiring Repairs in Wiring Systems.

Did you find and correct the condition?

--

Go to Step 17

Go to Step 16

14

Test the control circuit of the TCC solenoid valve for an open or short to power between the PCM and the AT inline 20-way connector.

Refer to Circuit Testing and Wiring Repairs in Wiring Systems.

Did you find and correct the condition?

--

Go to Step 17

Go to Step 16

15

Replace the AT wiring harness assembly, this includes the TCC solenoid valve.

Refer to Valve Body and Pressure Switch Replacement .

Did you complete the replacement?

--

Go to Step 17

--

16

Replace the PCM.

Refer to Control Module References in Computer/Integrating Systems for replacement, setup and programming.

Did you complete the replacement?

--

Go to Step 17

--

17

Perform the following procedure in order to verify the repair:

  1. Select DTC.
  2. Select Clear Info.
  3. Drive the vehicle in D4 with the TCC ON and OFF. Ensure that the following conditions are met:
  4. • The PCM commands the TCC solenoid valve ON, and the voltage feedback drops to zero.
    • The PCM commands the TCC solenoid valve OFF, and the voltage feedback increases to B+.
    • All conditions met for 5 seconds.
  5. Select Specific DTC.
  6. Enter DTC P0740.

Has the test run and passed?

--

Go to Step 18

Go to Step 2

18

With the scan tool, observe the stored information, capture info, and DTC Info.

Does the scan tool display any DTCs that you have not diagnosed?

--

Go to Diagnostic Trouble Code (DTC) List - Vehicle in Vehicle DTC Information

System OK