| Figure 1: |
Power
|
| Figure 2: |
Ground
|
| Figure 3: |
BCM
|
| Figure 4: |
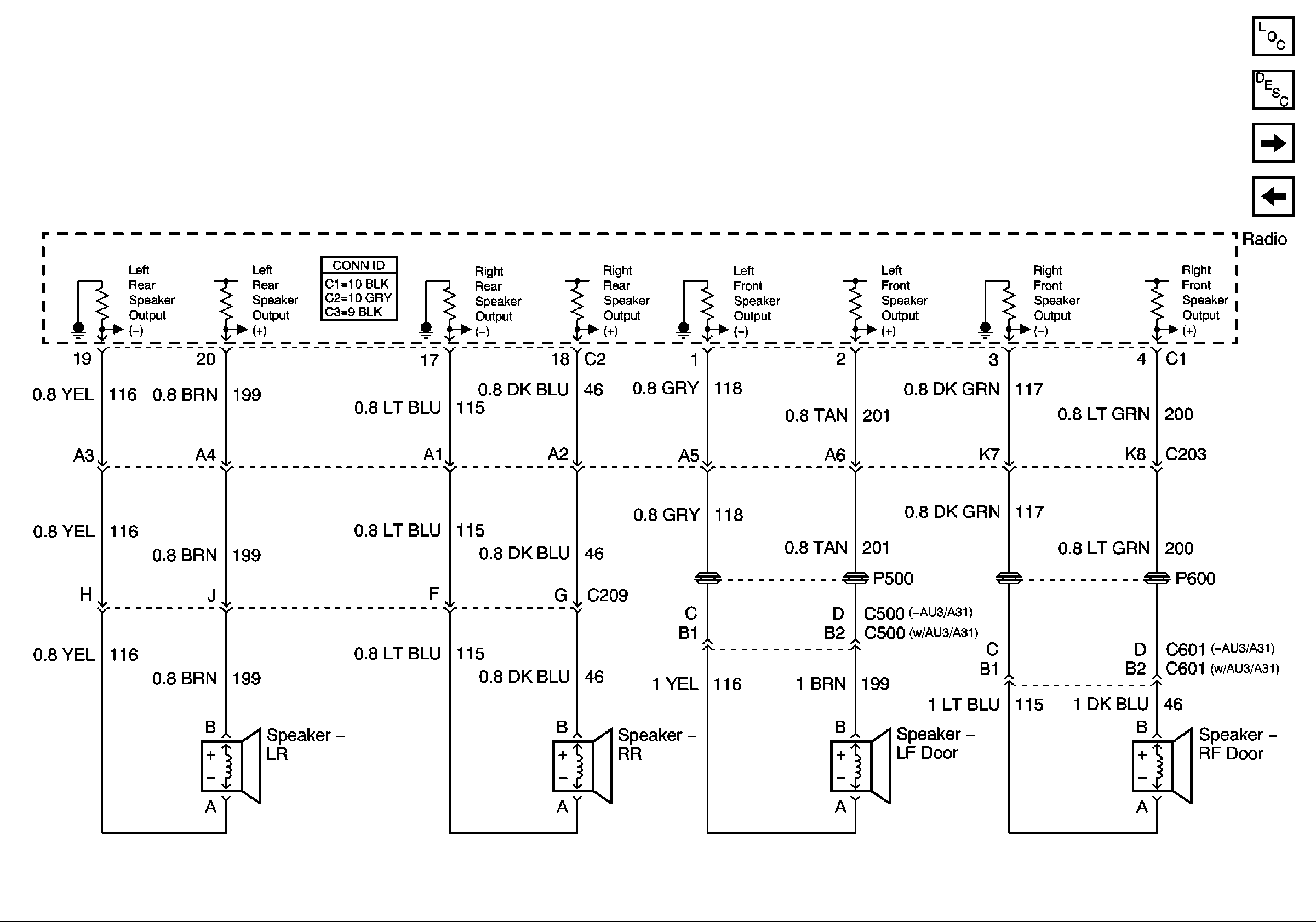
Speakers - Regular Cab and Extended Cab w/ 3rd Door
|
| Figure 5: |
Speakers --Extended Cab w/o 3rd Door
|
| Figure 6: |
Speakers - Crew Cab and Utility
|
| Figure 7: |
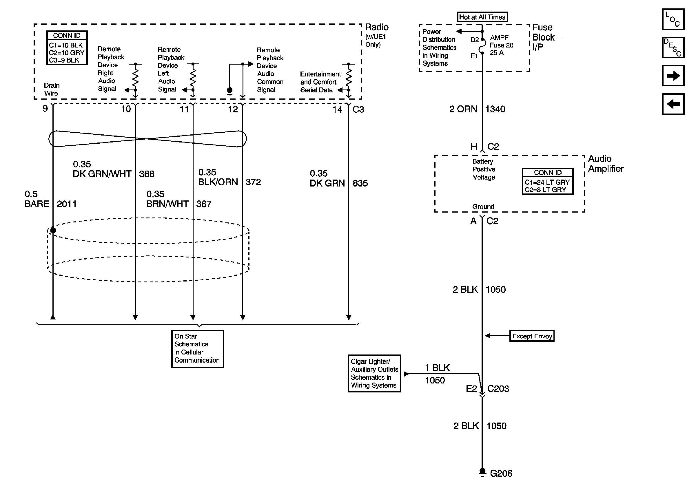
Remote Playback Device - CD or Tape Player
|
| Figure 8: |
Audio Amplifier Power and Ground
|
| Figure 9: |
Audio Amplifier Inputs
|
| Figure 10: |
Amplifier, Left Channel Output
|
| Figure 11: |
Audio Amplifier, Right Channel Output
|
| Figure 1: |
Power, Ground, and Serial Data
|
| Figure 2: |
Speakers - Pickup except CrewCab
|
| Figure 3: |
Speakers - CrewCab and Utility
|