GM Service Manual Online
For 1990-2009 cars only
Makes
🢒
Chevrolet
🢒
2005
🢒
Blazer - 4WD
🢒 Input
Input
Input
Master Electrical Component List
Rear Hatch/Gate Description and Operation General
Output
ILLUM Fuse 12
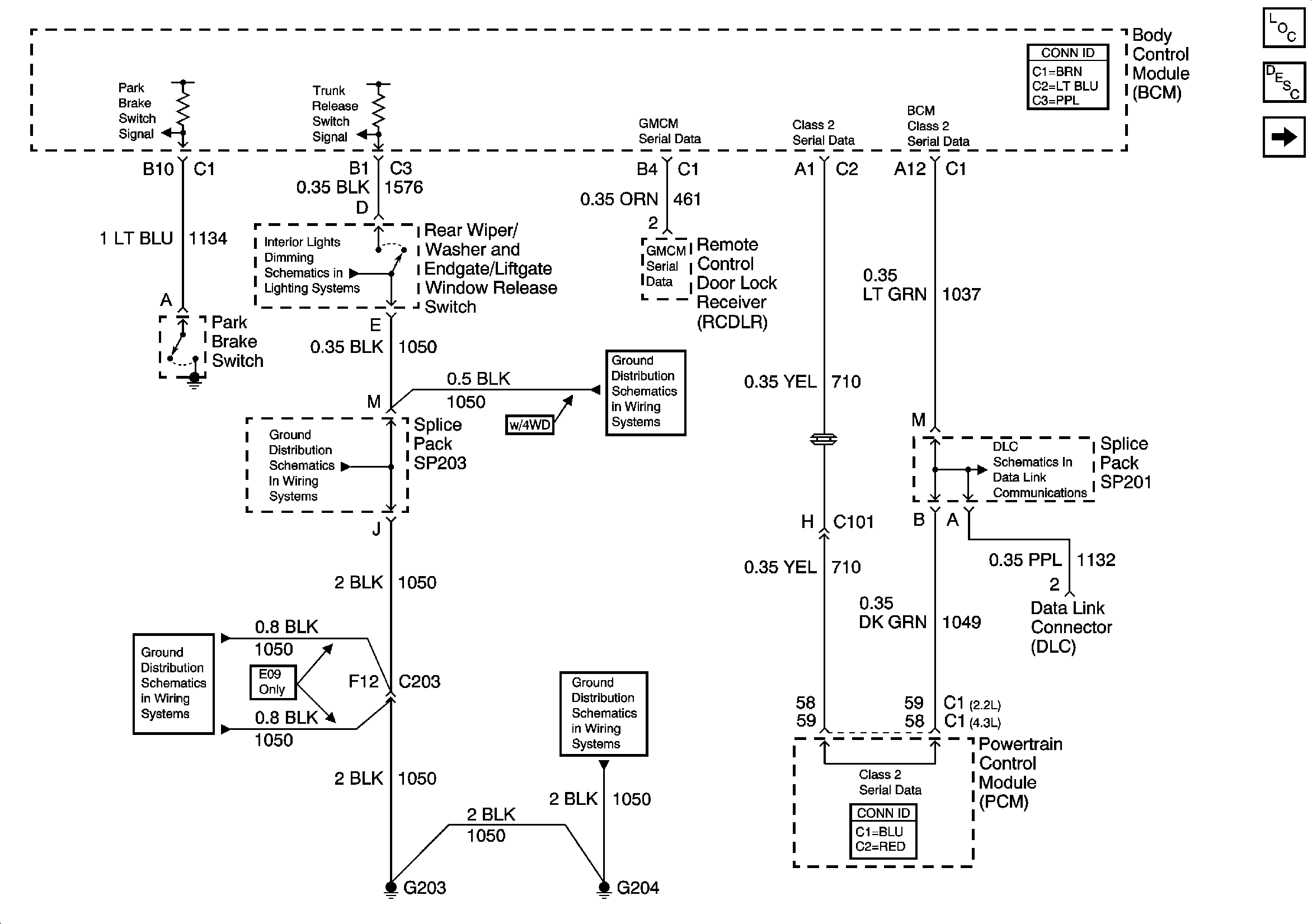
G203 and G204 - Pickup
G203 and G204 - Utility w/Manual A/C
Class 2 Serial Data
G203 and G204 - Utility w/Manual A/C
G203 and G204 - Pickup