GM Service Manual Online
For 1990-2009 cars only
Makes
🢒
Chevrolet
🢒
1999
🢒
Blazer - 4WD - RHD
🢒
Body and Accessories
🢒
Frame and Underbody
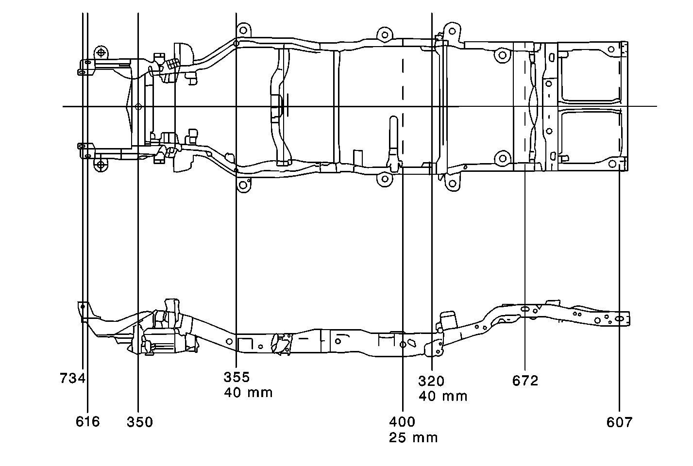
🢒 Dimensions - Frame
Figure
1:
Utility, 4WD, 4-Door -- Width
Figure
2:
Utility, 4WD, 4-Door -- Length
Figure
3:
Utility, 4WD, 4-Door -- Height