GM Service Manual Online
For 1990-2009 cars only
Makes
🢒
Chevrolet
🢒
2000
🢒
Blazer - 4WD - RHD
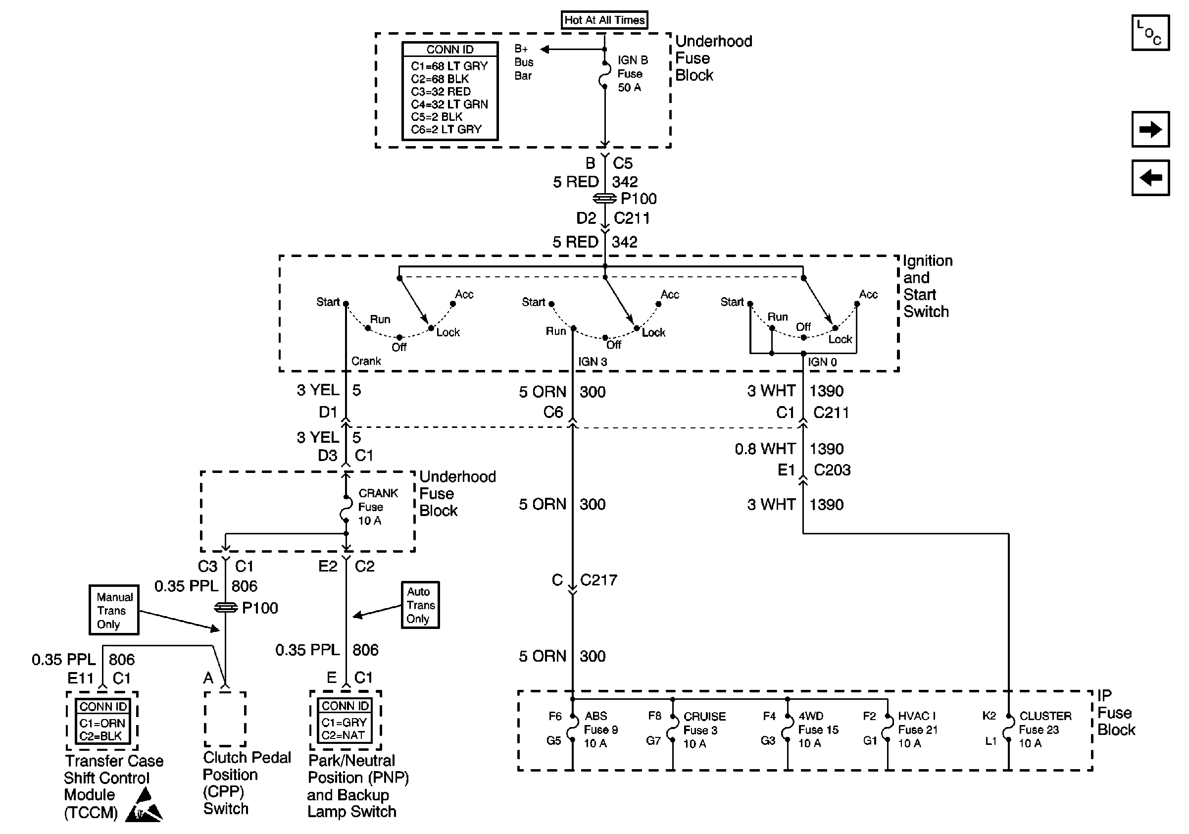
🢒 Ign RUN and START Bus Bar
Ign RUN and START Bus Bar
Ign RUN and START Bus Bar
Power and Grounding Components
A/C, ABS, ECM B, FOG LP, STOP LP, VECHMSL, and TRCHMSL Fuses
Ign START, RUN and ACC Bus Bar
Power and Grounding Connector End Views
B+ Bus Bar
Transfer Case Control Connector End Views
Handling ESD Sensitive Parts Notice
Shift Lock Control Connector End Views