GM Service Manual Online
For 1990-2009 cars only
Makes
🢒
Chevrolet
🢒
2000
🢒
Blazer - 4WD - RHD
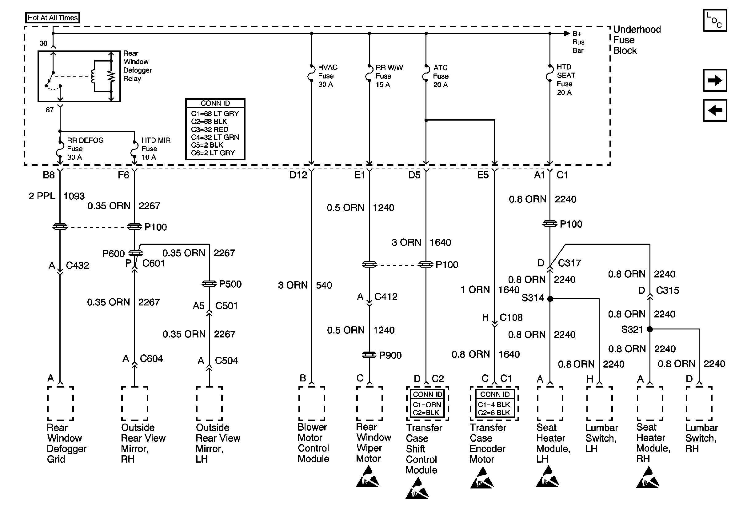
🢒 HVAC, RR W/W, ATC, HTD SEAT, RR DEFOG and HTD MIR Fuses
HVAC, RR W/W, ATC, HTD SEAT, RR DEFOG and HTD MIR Fuses
HVAC, RR W/W, ATC, HTD SEAT, RR DEFOG and HTD MIR Fuses
Power and Grounding Components
HDLP W/W, IGN C, TBC, LDLEV, and HORN Fuses
A/C, ABS, ECM B, FOG LP, STOP LP, VECHMSL, and TRCHMSL Fuses
Power and Grounding Connector End Views
B+ Bus Bar
Transfer Case Control Connector End Views
Transfer Case Control Connector End Views
Handling ESD Sensitive Parts Notice
Handling ESD Sensitive Parts Notice
Handling ESD Sensitive Parts Notice
Handling ESD Sensitive Parts Notice
Handling ESD Sensitive Parts Notice