GM Service Manual Online
For 1990-2009 cars only

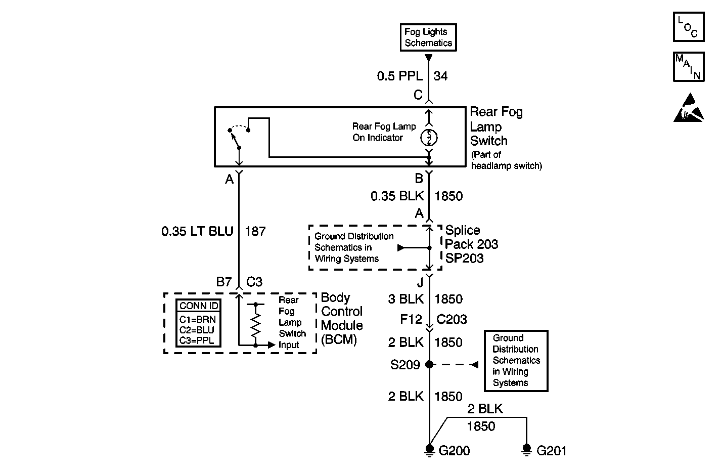
Object Number: 623174  Size: MF
Lighting Systems Components
Fog Lights Schematics
Handling ESD Sensitive Parts Notice
Fog Lights Schematics
Ground Distribution Schematics
Ground Distribution Schematics

Circuit Description

The body control module (BCM) monitors CKT 187 in order to determine when the fog lamp relay is to be energized. When the BCM senses CKT 187 low momentarily by pressing the rear fog lamp switch, the BCM energizes the rear fog lamp relay by grounding CKT 1977.

Conditions for Running the DTC

    • The battery voltage must be between 9.0-16.0 volts.
    • Ignition switch in the RUN position.
    • Rear fog lamp switch ON.

Conditions for Setting the DTC

When CKT 187 is shorted to ground for approximately 3 minutes.

Action Taken When the DTC Sets

The rear fog lamps will not operate.

Conditions for Clearing the MIL/DTC

    • This DTC will clear on current status after the condition for setting the fault is corrected.
    • A history DTC will clear after 100 consecutive ignition cycles without a fault present.
    • History and current DTC(s) can be cleared using a scan tool.

Diagnostic Aids

    • Test the rear fog lamp switch for sticking in the ON position.
    • Perform a visual inspection for loose or poor connections at all related components
    • Refer to Testing for Intermittent Conditions and Poor Connections

Test Description

The number(s) below refer to the step number(s) on the diagnostic table.

  1. OFF is the normal state of the switch before activation.

  2. OFF is the normal state of the switch before activation.

  3. This step tests for a short to ground on the signal circuit.

  4. After replacement of the BCM you must calibrate the new module for proper operation.

Step

Action

Value(s)

Yes

No

1

Did you perform the Lighting System Diagnostic System Check?

--

Go to Step 2

Go to Diagnostic System Check - Lighting Systems

2

  1. Install a scan tool.
  2. Turn ON the ignition, with the engine OFF.
  3. With a scan tool, observe the Rear Fog Lamp Switch parameter in the Body Control Module (BCM) data list.

Does the scan tool display OFF?

OFF/ON

Go to Step 3

Go to Step 4

3

  1. Activate the rear fog lamp switch.
  2. With the scan tool, observe the Rear Fog Lamp Switch parameter.

Does the Rear Fog Lamp Switch parameter change state?

--

Go to Diagnostic Aids

Go to Step 4

4

  1. Turn OFF the ignition.
  2. Disconnect the rear fog lamp switch.
  3. Turn ON the ignition, with the engine OFF.
  4. With a scan tool, observe the Rear Fog Lamp Switch parameter.

Does the scan tool display OFF?

OFF/ON

Go to Step 7

Go to Step 5

5

Test the signal circuit of the rear fog lamp switch for a short to ground. Refer to Circuit Testing and Wiring Repairs in Wiring Systems.

Did you find and correct the condition?

--

Go to Step 10

Go to Step 6

6

Inspect for poor connections at the harness connector of the body control module. Refer to Testing for Intermittent Conditions and Poor Connections and Connector Repairs in Wiring Systems.

Did you find and correct the condition?

--

Go to Step 10

Go to Step 8

7

Inspect for poor connections at the harness connector of the rear fog lamp switch. Refer to Testing for Intermittent Conditions and Poor Connections and Connector Repairs in Wiring Systems.

Did you find and correct the condition?

--

Go to Step 10

Go to Step 9

8

  1. Replace the body control module. Refer to Body Control Module Replacement in Body Control System.
  2. Program the BCM with the proper calibrations. Refer to Body Control Module (BCM) Programming/RPO Configuration in Body Control System.
  3. Perform the learn procedure.

Did you complete the replacement?

--

Go to Step 10

--

9

Replace the rear fog lamp switch. Refer to Rear Fog Lamp Switch Replacement .

Did you complete the replacement?

--

Go to Step 10

--

10

  1. Use the scan tool in order to clear the DTCs.
  2. Operate the vehicle within the Conditions for Running the DTC as specified in the supporting text.

Does the DTC reset?

--

Go to Step 2

System OK