GM Service Manual Online
For 1990-2009 cars only

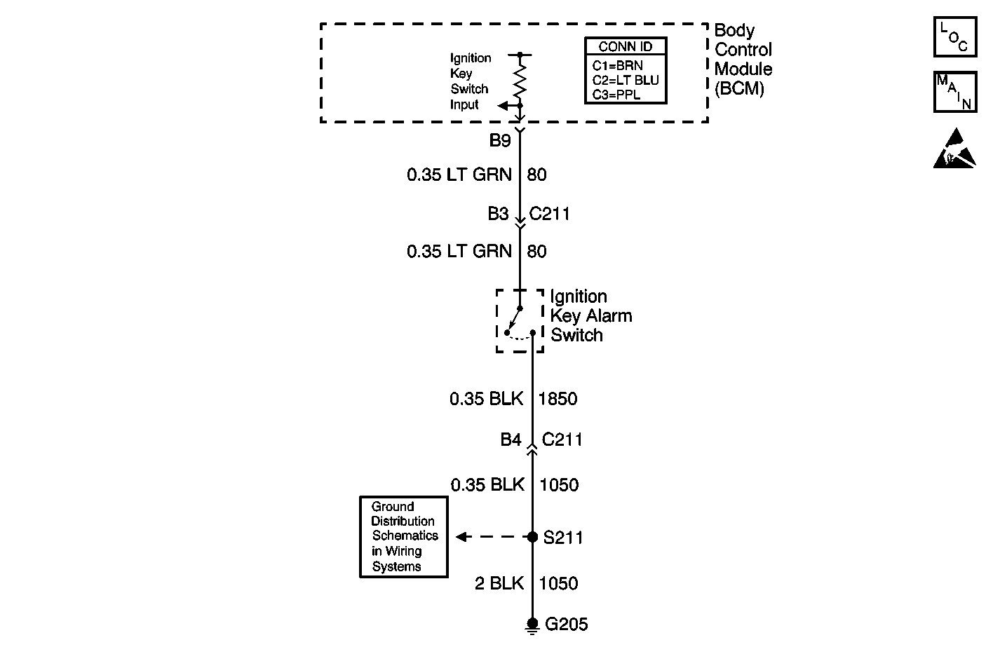
Object Number: 623814  Size: MF
Theft Deterrent System Components
Theft Deterrent System Schematics
Handling ESD Sensitive Parts Notice
Ground Distribution Schematics

Circuit Description

The body control module (BCM) monitors the key-in ignition switch on CKT 80 in order to determine if the key is in the ignition switch. This signal provides an audible warning to the driver that the key is still in the ignition switch. The signal provides exit lighting when the key is removed.

Conditions for Running the DTC

    • The system voltage must be between 9.0 and 16.0 volts.
    • The ignition key has been inserted fully into the ignition switch cylinder.

Conditions for Setting the DTC

    • When CKT 80 is open and the ignition switch has been turned to the RUN position.
    • The system voltage must be between 9.0-16.0 volts.
    • The above conditions must be met for 0.5 seconds.

Action Taken When the DTC Sets

    • The key-in warning chime does not operate.
    • The exit lighting feature does not operate.

Conditions for Clearing the MIL/DTC

    • This DTC will clear immediately after the condition for setting the fault is corrected.
    • A history DTC will clear after 100 consecutive ignition cycles without a fault present.
    • Use a scan tool in order to clear history DTCs immediately.

Diagnostic Aids

    • Always begin diagnosis with the first DTC listed on the scan tool.
    • The scan tool must display DTC B2961 as a current code before performing these diagnostics.
    • If CKT 80 has been shorted to battery voltage the key-in ignition switch must be inspected for damaged as well as repairing the short to battery.
    • Perform a visual inspection for loose or poor connections at all related components. Refer to Testing for Intermittent Conditions and Poor Connections in Wiring Systems.

Test Description

The number(s) below refer to the step number(s) on the diagnostic table.

  1. The normal state, YES is the state of the Key in Ignition switch with the key ON engine OFF.

  2. The normal state, YES is the state of the Key in Ignition switch with the key ON engine OFF.

  3. After replacement of the BCM you must calibrate the new module for proper operation.

Step

Action

Value(s)

Yes

No

1

Did you perform the Theft Deterrent Diagnostic System Check?

--

Go to Step 2

Go to Diagnostic System Check - Theft Deterrent

2

  1. Install a scan tool.
  2. Turn ON the ignition, with the engine OFF.
  3. With a scan tool, observe the Key in Ignition parameter in the Body Control Module (BCM) Input 1data list.

Does the scan tool display YES?

YES/NO

Go to Step 3

Go to Step 4

3

  1. Activate the Key in Ignition switch.
  2. With the scan tool, observe the Key in Ignition parameter.

Does the Key in Ignition parameter change state?

YES/NO

Go to Diagnostic Aids

Go to Step 4

4

  1. Turn OFF the ignition.
  2. Disconnect the Key in Ignition switch.
  3. Turn ON the ignition, with the engine OFF.
  4. With a scan tool, observe the Key in Ignition parameter.

Does the scan tool display YES?

YES/NO

Go to Step 7

Go to Step 5

5

Test the signal circuit of the Key in Ignition switch for a short to battery or an open. Refer to Circuit Testing and Wiring Repairs in Wiring Systems.

Did you find and correct the condition?

--

Go to Step 10

Go to Step 6

6

Inspect for poor connections at the harness connector of the body control module. Refer to Testing for Intermittent Conditions and Poor Connections and Connector Repairs in Wiring Systems.

Did you find and correct the condition?

--

Go to Step 10

Go to Step 8

7

Inspect for poor connections at the harness connector of the Key in Ignition switch. Refer to Testing for Intermittent Conditions and Poor Connections and Connector Repairs in Wiring Systems.

Did you find and correct the condition?

--

Go to Step 10

Go to Step 9

8

  1. Replace the BCM. Refer to Body Control Module Replacement in Body Control System.
  2. Program the BCM with the proper calibrations. Refer to Body Control Module (BCM) Programming/RPO Configuration in Body Control System.
  3. Perform the learn procedure.

Did you complete the replacement?

--

Go to Step 10

--

9

Replace the Key in Ignition switch. Refer to Ignition Switch Replacement - On Vehicle .

Did you complete the replacement?

--

Go to Step 10

--

10

  1. Use the scan tool in order to clear the DTCs.
  2. Operate the vehicle within the Conditions for Running the DTC as specified in the supporting text.

Does the DTC reset?

--

Go to Step 2

System OK