GM Service Manual Online
For 1990-2009 cars only

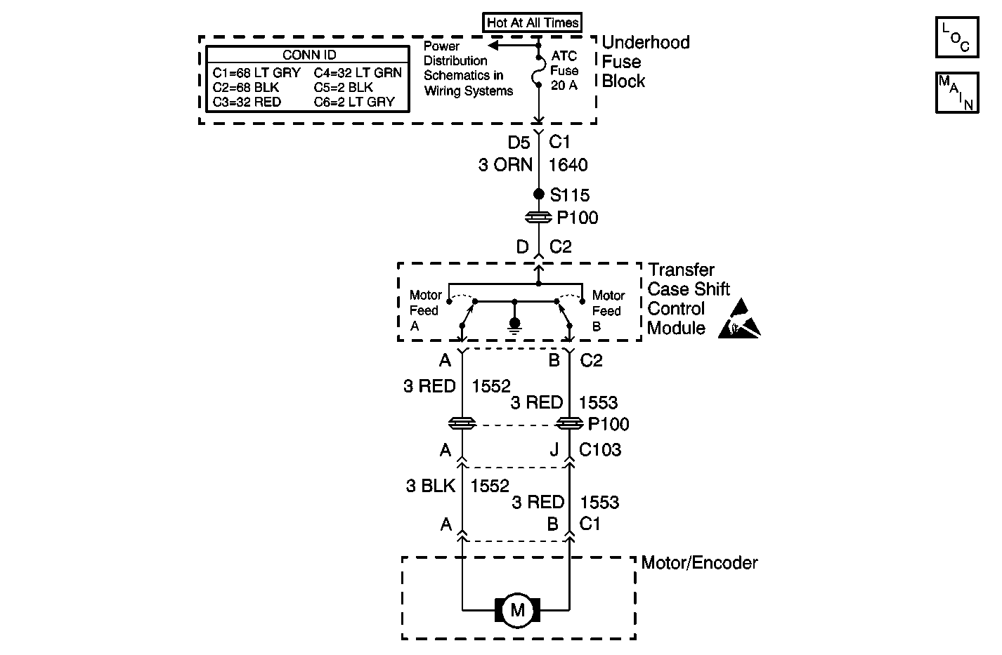
Object Number: 563712  Size: MF
Transfer Case Control Components
Transfer Case Control Schematics

Circuit Description

The transfer case motor is a bi-directional, permanent magnet, D.C. motor. When energized, (through Motor Feed A or Motor Feed B, the ground is provided by the opposing Motor Feed circuit and then grounded through the transfer case shift control module ground circuit), the motor, through a series of gears, rotates the sector shaft which moves the mode and range forks to shift the transfer case between 4H, AUTO 4WD, 2H, N, and 4L ranges. While the transfer case motor is energized the transfer case shift control module also energizes the solenoid for the transfer case lock. The motor lock is disabled (locking action released) and free turning of the transfer case motor and sector shaft is then allowed.

This DTC detects an open in the Motor Control A or Motor Control B circuits, or an open motor.

Conditions for Setting the DTC

    • The system will test the motor circuits by checking for unwanted voltage.
    • Then, the system supplies voltage on each of the motor circuits and reads the voltage back on the other circuit.
    • If the system detects a problem with the circuits, the DTC is logged. The transfer case shift control module senses a low voltage return in the Motor Control A or Motor Control B circuits when a high voltage is expected.

Action Taken When the DTC Sets

    • All shifting will be disabled.
    • The SERVICE indicator (4WD/AWD) lamp will be latched on for the remainder of the current ignition cycle.

Conditions for Clearing the DTC

    • The transfer case shift control module will clear the DTC if the condition for setting the DTC no longer exists.
    • A history DTC will clear after 100 consecutive ignition cycles without a fault present.
    • History DTCs can be cleared using a scan tool.

Test Description

The number(s) below refer to the step number(s) on the diagnostic table.

  1. Listen for an audible motor noise when the encoder motor operates. Command both the ON and OFF states. Repeat the commands as necessary.

  2. Tests the for a higher than normal resistance in the Motor Control A and B circuits and through the module.

  3. Tests the Motor Control A circuit for an open or high resistance.

  4. Tests the Motor Control B circuit for an open or high resistance.

  5. Tests for continuity across the motor circuit.

DTC C0310 Motor A/B Circuit Open

Step

Action

Value(s)

Yes

No

1

Was the Transfer Case Diagnostic System Check performed?

--

Go to Step 2

Go to Diagnostic System Check

2

  1. Install a scan tool.
  2. Turn the ignition ON, with the engine OFF.
  3. With the scan tool, command the Motor A/B control ON and OFF.

Does the encoder motor turn ON and OFF?

--

Go to Testing for Intermittent Conditions and Poor Connections

Go to Step 3

3

  1. Turn the ignition OFF.
  2. Disconnect the four wire connector at the transfer case.
  3. Connect a DMM between the Motor Control A and B circuit harness connector at the transfer case.

Is the resistance reading greater than the specified value?

2 ohms

Go to Step 4

Go to Step 6

4

  1. Disconnect the transfer case shift control module.
  2. Test the Motor Control A circuit harness connector for an open or high resistance. Refer to Circuit Testing and Wiring Repairs in Wiring Systems.

Was the condition found and corrected?

--

Go to Step 9

Go to Step 5

5

Test the Motor Feed B circuit harness connector for an open or high resistance. Refer to Circuit Testing and Wiring Repairs in Wiring Systems.

Was the condition found and corrected?

--

Go to Step 9

Go to Step 8

6

Test the resistance across the motor circuit.

Were the resistance readings within the specified range?

0.5-35 ohms

Go to Step 8

Go to Step 7

7

Replace the encoder motor. Refer to Motor/Encoder Replacement .

Is the repair complete?

--

Go to Step 9

--

8

Replace the transfer case shift control module. Refer to Transfer Case Shift Control Module Replacement .

Is the repair complete?

--

Go to Step 9

--

9

  1. Use the scan tool in order to clear the DTCs.
  2. Operate the vehicle within the Conditions for Running the DTC as specified in the supporting text.

Does the DTC reset?

--

Go to Step 2

System OK