GM Service Manual Online
For 1990-2009 cars only

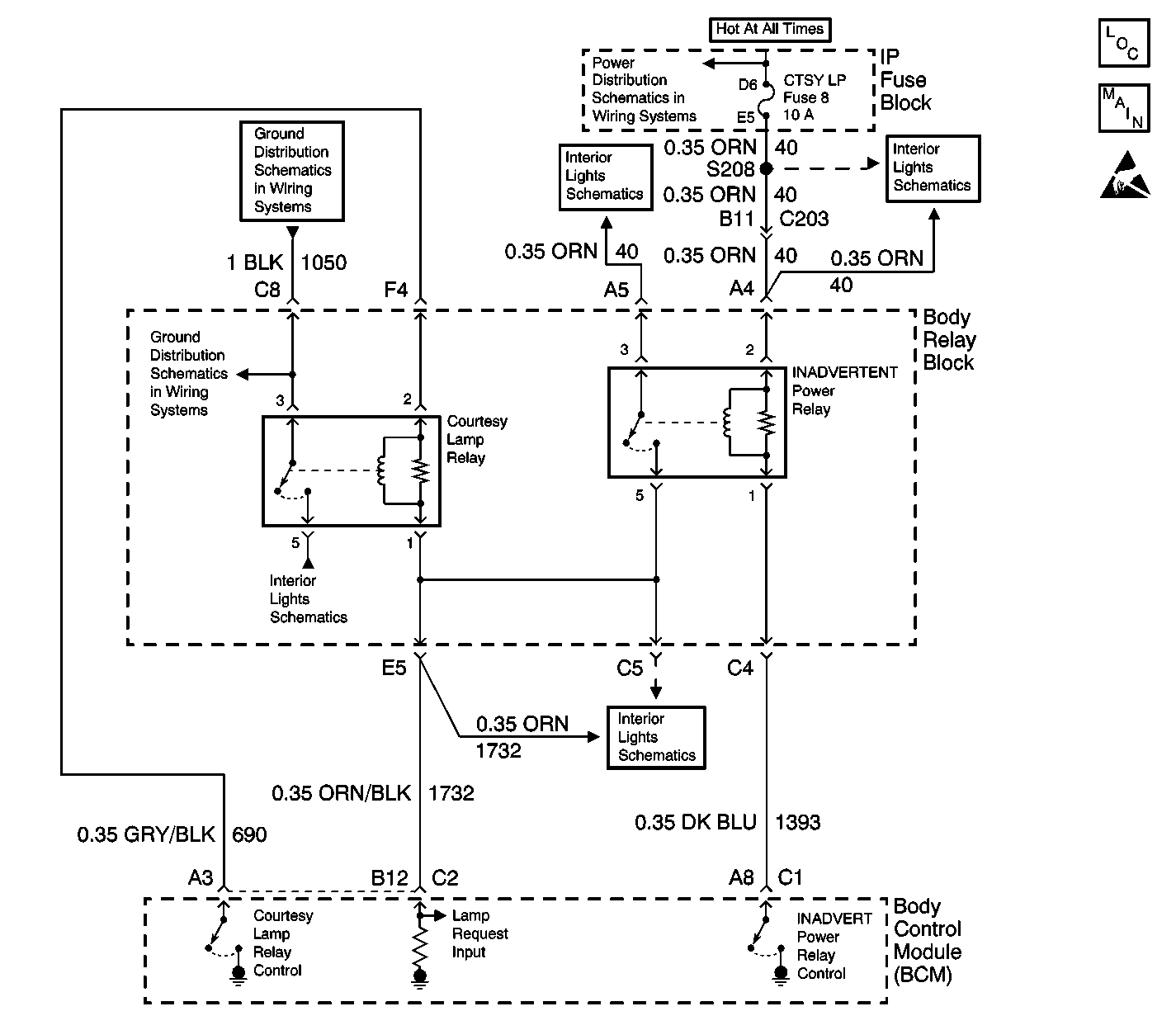
Object Number: 623459  Size: LF
Body Control Module Components
Body Control System Schematics
Handling ESD Sensitive Parts Notice
Ground Distribution Schematics
Interior Lights Schematics
Power Distribution Schematics
Interior Lights Schematics
Interior Lights Schematics
Interior Lights Schematics
Ground Distribution Schematics

Circuit Description

The battery rundown protection function allows the body control module (BCM) to disable the courtesy lamps and the underhood lamp 40 minutes after the ignition switch is turned OFF. The BCM monitors the output of the inadvertent power relay on CKT 1732.

Conditions for Running the DTC

The system voltage must be between 9.0 and 16.0 volts.

Conditions for Setting the DTC

    •  When the BCM commands the inadvertent power relay ON via CKT 1393 and CKT 1732 has an absence of voltage at the BCM, DTC B1480 will set.
    • The above conditions must be met for 0.5 seconds.

Action Taken When the DTC Sets

The following lamps will be disabled:

    • The dome
    • The underhood
    • The courtesy

Conditions for Clearing the MIL/DTC

    • This DTC will clear current status after the condition for setting the fault is corrected.
    • A history DTC will clear after 100 consecutive ignition cycles without a fault present.
    • Use a scan tool in order to clear the history DTC(s).

Diagnostic Aids

    • Perform a visual inspection for loose or poor connections at all related components.
    • Check for an open in CKT 40 or an open CTSY LP fuse.
    • Refer to Testing for Intermittent Conditions and Poor Connections in Wiring Systems.

Test Description

The number(s) below refer to the step number(s) on the diagnostic table.

  1. Listen for an audible click when the inadvertent power relay operates. Command both the ON and OFF states. Repeat the commands as necessary.

  2. Tests for voltage at the coil side of the inadvertent power relay. The CTSY LP fuse supplies power to the coil side of the inadvertent power relay.

  3. Verifies that the body control module is providing ground to the inadvertent power relay.

  4. Tests if ground is constantly being applied to the inadvertent power relay.

  5. Since this is a general circuit malfunction code, it is necessary to test for both a short to voltage as well as an open on this circuit.

Step

Action

Value(s)

Yes

No

1

Did you perform the Body Control Module Diagnostic System Check?

--

Go to Step 2

Go to Diagnostic System Check - Body Control System

2

  1. Install a scan tool.
  2. Turn ON the ignition, with the engine OFF.
  3. With a scan tool, command the inadvertent power relay ON and OFF.

Does the inadvertent power relay turn ON and OFF with each command?

--

Go to Diagnostic Aids

Go to Step 3

3

  1. Turn OFF the ignition.
  2. Disconnect the inadvertent power relay.
  3. Turn ON the ignition, with the engine OFF.
  4. Probe the coil side feed circuit of the inadvertent power relay with a test lamp that is connected to a good ground.

Does the test lamp illuminate?

--

Go to Step 4

Go to Step 10

4

  1. Connect a test lamp between the control circuit of the inadvertent power relay and the coil side feed circuit of the inadvertent power relay.
  2. With a scan tool, command the inadvertent power relay ON and OFF .

Does the test lamp turn ON and OFF with each command?

--

Go to Step 8

Go to Step 5

5

Does the test lamp remain illuminated with each command?

--

Go to Step 7

Go to Step 6

6

Test the control circuit of the inadvertent power relay for a short to voltage or an open. Refer to Circuit Testing and Wiring Repairs in Wiring Systems.

Did you find and correct the condition?

--

Go to Step 13

Go to Step 9

7

Test the control circuit of the inadvertent power relay for a short to ground. Refer to Circuit Testing and Wiring Repairs in Wiring Systems.

Did you find and correct the condition?

--

Go to Step 13

Go to Step 9

8

Inspect for poor connections at the inadvertent power relay. Refer to Testing for Intermittent Conditions and Poor Connections and Connector Repairs in Wiring Systems.

Did you find and correct the condition?

--

Go to Step 13

Go to Step 11

9

Inspect for poor connections at the harness connector of the body control module. Refer to Testing for Intermittent Conditions and Poor Connections and Connector Repairs in Wiring Systems.

Did you find and correct the condition?

--

Go to Step 13

Go to Step 12

10

Repair the coil side feed circuit of the inadvertent power relay. Refer to Wiring Repairs in Wiring Systems.

Did you complete the repair?

--

Go to Step 13

--

11

Replace the inadvertent power relay.

Did you complete the replacement?

--

Go to Step 13

--

12

  1. Replace the body control module (BCM). Refer to Body Control Module Replacement .
  2. Program the BCM with the proper calibrations. Refer to Body Control Module (BCM) Programming/RPO Configuration .
  3. Perform the learn procedure.

Did you complete the replacement?

--

Go to Step 13

--

13

  1. Use the scan tool in order to clear the DTCs .
  2. Operate the vehicle within the Conditions for Running the DTC as specified in the supporting text.

Does the DTC reset?

--

Go to Step 2

System OK