GM Service Manual Online
For 1990-2009 cars only
Makes
🢒
Chevrolet
🢒
2001
🢒
Blazer - 4WD - RHD
🢒
Body and Accessories
🢒
Doors
🢒 Power Door Systems Component Views
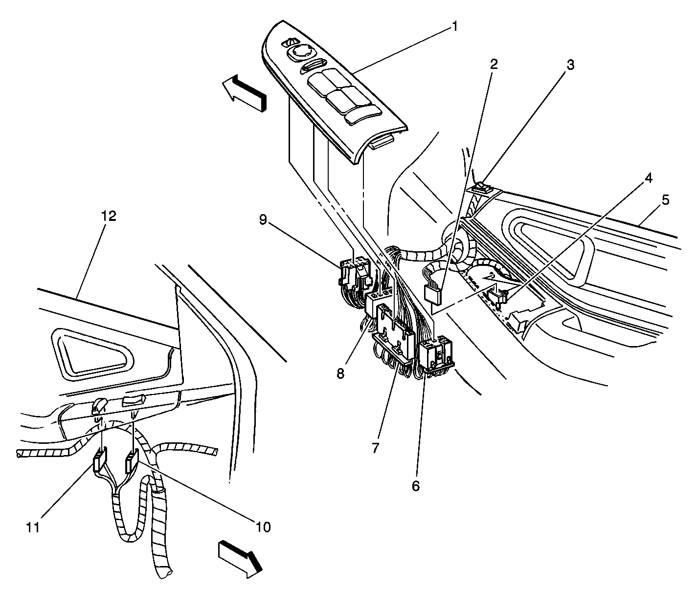
Figure
1:
Door Harness Wiring Switches-Front
(1)
Switch Plate
(2)
Outside Rear View Power Folding Mirror Switch Connector
(3)
Outside Rear View Power Folding Mirror Switch
(4)
Outside Rear View Power Folding Mirror Switch Connector
(5)
Door, RH
(6)
Door Lock and Side Window Switch - Driver Connector C2
(7)
Door Lock and Side Window Switch - Driver Connector C1
(8)
Window Lockout Switch Connector
(9)
Outside Rear View Mirror Switch Connector
(10)
Door Lock and Side Window Switch - Passenger Connector C1
(11)
Door Lock and Side Window Switch - Passenger Connector C2
(12)
Door, LH
Figure
2:
Door Harness - RF Shown, LF Opposite
(1)
Outside Rearview Power Folding Mirror Switch Connector
(2)
S603 - RH, S502 - LH
(3)
S604 - RH
(4)
Door Lock Cylinder Switch - Driver Connector
(5)
Door Handle Switch - Right Connector
(6)
Door Lock Actuator - Driver Connector
(7)
Window Motor - Driver Connector C1
(8)
Window Motor - Driver Connector C2
(9)
Speaker - RF Door Connector
(10)
S600 - RH
(11)
S602 - RH
(12)
P600 - RH, P500 - LH
(13)
C610 - RH
(14)
C601 - RH, C501 - LH
(15)
Outside Rearview Mirror Connector - RH
(16)
S601 - RH, S501- LH
Figure
3:
Rear Door Wiring Harness (RH Shown, LH Opposite)
(1)
Door
(2)
Door Lock Actuator - RR
(3)
Side Window Switch - RR
(4)
Speaker - RR Door (LR Similar)
(5)
Window Motor - RR (LR Similar)
(6)
C404 (LH) or C406 (RH)
(7)
C405 (LH) or C407 (RH)
(8)
P800 (RH) or P700 (LH)
(9)
Window Switch Connector - RR (LR Similar)
Figure
4:
Outside Rear View Mirror
(1)
Outside Rear View Mirror, LH (RH Similar)
(2)
Outside Rear View Mirror Connector, LH (RH Similar)