GM Service Manual Online
For 1990-2009 cars only
Makes
🢒
Chevrolet
🢒
2001
🢒
Blazer - 4WD - RHD
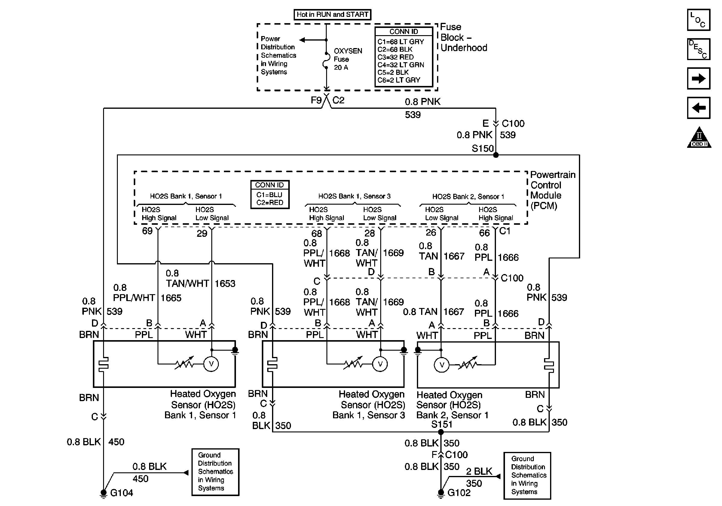
🢒 Heated Oxygen Sensors
Heated Oxygen Sensors
Heated Oxygen Sensors
Master Electrical Component List
Powertrain Control Module Description
MAF and IAC Controls
Engine Sensors
OBD II Symbol Description Notice
Ign START, RUN and ACC Bus Bar
G104, G106, G107, G108 and G118
G102