GM Service Manual Online
For 1990-2009 cars only

Electrical Center Identification Views Label

Table 1: Fuse Block - Underhood
Table 2: Fuse Block - I/P
Table 3: Relay Block - Body

Fuse Block - Underhood


Object Number: 669174  Size: MF

Fuse Block - Underhood

Fuse/Circuit Breaker

Rating

Description

Maxi Fuses

INT BATT

50A

AUX PWR, RDO BAT, CIGAR LTR, HAZ SW, CTSY LP, and PWR LKS Fuses

ABS

60A

Electronic Brake Control Module (EBCM)

IGN B

50A

Ignition Switch

RAP

50A

Retained Accessory Power (RAP) Relay, POWER SEATS Circuit Breaker

IGN A

40A

Starter Relay and Ignition Switch

STUD #2

30A

Trailer Wiring Provision (Power Aux)

Mini Fuses

TRL TRN

10A

Trailer Wiring Provision (Left Turn)

LT TRN

10A

Turn Signal Lamp - LR

BTSI

10A

Stop Lamp Switch, Automatic Transmission Control Module

PARK LP

20A

Park Lamp Relay, Fog Lamp Relay - Front, Park Lamp Switch Relay and Multifunction Switch (T/SIG, HDLP, HDLP/DM, and FTP)

HVAC

30A

Blower Motor Control Processor

HAZ LP

20A

Not Used

TRR TRN

10A

Trailer Wiring Provision (Right Turn)

RT TRN

10A

Turn Signal Lamp - RR

TRCHMSL

10A

Trailer Wiring Provision (Stoplamps)

VECHMSL

10A

Center High Mount Stop Lamp (CHMSL), Center High Mount Stop Lamp (CHMSL) Resistor, Tail and Stop Lamp, (Left/Right), and Cruise Control Module (CCM)

TRL B/U

10A

Trailer Wiring Provision (Backup Lamps)

ECM 1

15A

Ignition Control Module (ICM), Powertrain Control Module (PCM), Crankshaft Position (CKP) Sensor, Central Sequential Fuel Injection (Central SFI) Fuel Injectors 1-6

LD LEV

25A

Not Used

VEH B/U

15A

Backup Lamp, (Left/Right), and Inside Rearview Mirror

ENG 1

10A

Evaporative Emission (EVAP) Canister Purge Solenoid, Evaporative Emission (EVAP) Canister Vent Solenoid, Mass Air Flow (MAF) Sensor, and Camshaft Position (CMP) Sensor

OXYSEN

20A

Heated Oxygen Sensor (HO2S) Bank 1 Sensor 1, Heated Oxygen Sensor (HO2S) Bank 1 Sensor 3, Heated Oxygen Sensor (HO2S) Bank 2 Sensor 1

RR PRK

10A

Tail and Stop Lamp - Right

ECM B

20A

Fuel Pump Relay, and Powertrain Control Module (PCM)

B/U LP

25A

Backup Lamp Switch (M/T Only) or Park/Neutral Position (PNP) Switch (A/T Only)

IGN E

10A

A/C Compressor Clutch Relay, Rear Window Defogger Relay, Multifunction Switch (Flash-to-Pass), Flash To Pass Relay, Headlamp Leveling Actuator Motor, (LH/RH), Headlamp Leveling Switch

LR PRK

10A

Tail and Stop Lamp - Left

RR DEFOG

30A

Rear Window Defogger Grid

TRL PRK

10A

License Lamp, (Left/Center/Right), and Trailer Wiring Provision (Park Lamps)

LT HDLP

15A

Headlamp, High and Low Beam - Left

HTD MIR

10A

Outside Rearview Mirror, (Driver/Passenger) (Heating Element)

RT HDLP

15A

Headlamp High and Low Beam - Right, Headlamp Washer Fluid Pump Relay, and Multifunction Switch (Flash-to-Pass)

MIR/LKS

3A

Outside Rearview Mirror Switch, Door Lock and Window Switch, (Left/Right), LIFT GLASS Relay, Endgate Lock Cylinder Switch

ATC

20A

Transfer Case Shift Control Module, and Transfer Case Encoder Motor

A/C

10A

A/C Compressor Clutch Relay

FOG LP

15A

Fog Lamp Relay - Rear

TBC

10A

Body Control Module (BCM), and Remote Control Door Lock Receiver (RCDLR)

RT TURN

10A

Turn Signal Lamp - RF and Repeater Lamp - Right

CRANK

10A

Transfer Case Shift Control Module (M/T Only), Clutch Start Switch (M/T Only), and Park/Neutral Position (PNP) Switch (A/T Only)

LT TURN

10A

Turn Signal Lamp - LF and Repeater Lamp - Left

FR PRK

10A

Marker Lamps (Left/Right)

W/W PMP

10A

Headlamp Washer Fluid Pump Relay

IGN C

20A

Radio Antenna (Power)

STOP LP

20A

Stop Lamp Switch

HDLP W/W

15A

Headlamp Washer Fluid Pump Relay

HORN

15A

Horn (Left/Right)

HTDSEAT

20A

Heated Seat Control Module - Driver/Front Passenger (w/Heated Seats), Seat Lumbar Switch - Driver/Front Passenger (w/Heat and Lumbar)

RR W/W

15A

Window Wiper Motor - Rear

Micro Relays

F/PUMP

--

Fuel Pump

DRL

--

Not Used

LIFT GLASS

--

Liftglass Release Actuator

A/C

--

A/C Compressor Clutch

FOG LP

--

Fog Lamp Bulb (LR/RR), and Fog Lamp Switch - Rear

HORN

--

HORN Fuse

CHMSL

--

Not Used

Mini Relays

STARTER

--

Starter Solenoid

RR DEFOG

--

RR DEFOG, and HTD MIR Fuses

HDLP PWR

--

RT HDLP, and LT HDLP Fuses

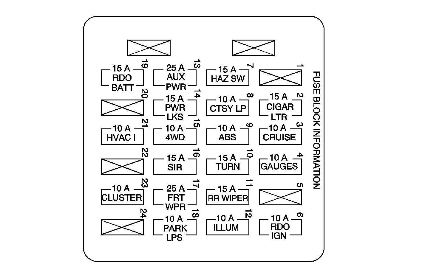
Fuse Block - I/P


Object Number: 794560  Size: MF

Fuse Block - I/P

No.

Fuse Name

Rating

Description

1

--

--

Not Used

2

CIGAR LTR

15A

Cigar Lighter and Data Link Connector (DLC)

3

CRUISE

10A

Body Control Module (BCM), Cruise Control Module (CCM), Cruise Control Switch, Lumbar Switch - Driver/Front Passenger

4

GAUGES

10A

Body Control Module (BCM) and Instrument Panel Cluster (IPC)

5

--

--

Not Used

6

RDO IGN

10A

Radio, Outside Rearview Folding Mirror Switch, and Driver Information Center (DIC)

7

HAZ SW

15A

Hazard Switch

8

CTSY LPS

10A

Courtesy Lamp - Left/Right Console, Driver Information Center (DIC), Inadvertent Power Relay, and Cargo Lamp

9

ABS

10A

Electronic Brake Control Module (EBCM), and Stop Lamp Switch

10

TURN

15A

Hazard Switch

11

RR WIPER

15A

Rear Wiper/Washer and Endgate Window Release Switch

12

ILLUM

10A

Radio, HVAC Control Module, Headlamp Leveling Switch (UK/S. Africa), Hazard Switch, Body Control Module (BCM), Transfer Case Shift Control Switch, Instrument Panel Cluster (IPC), Driver Information Center (DIC), Automatic Transmission Control Module, and Rear Wiper/Washer and Endgate Window Release Switch

13

AUX PWR

25A

Accessory Power Outlet - Left/Right and Accessory Power Outlet - Rear

14

PWR LKS

15A

Door Lock Relay, Door Unlock Relay, and Door Unlock Relay - Driver

15

4WD

10A

Front Axle Indicator Switch, Powertrain Control Module (PCM), Transfer Case Shift Control Module, Front Axle Vacuum Solenoid, and Transfer Case Shift Control Switch

16

SIR

15A

Inflatable Restraint Sensing And Diagnostic Module (SDM)

17

FRT WPR

25A

Windshield Wiper/Washer Switch and Windshield Wiper Motor

18

PARK LPS

10A

Ashtray Lamp, Body Control Module (BCM), Outside Rearview Mirror Switch, Door Lock and Window Switch - Driver/Front Passenger, and Window Lockout Switch

19

RDO BATT

15A

Instrument Panel Cluster (IPC), HVAC Control Module, and Radio

20

--

--

Not Used

21

HVAC I

10A

Inside Rearview Mirror, Air Temperature Sensor Assembly - Inside, Vacuum Control Assembly, Air Temperature Actuator, and HVAC Control Module

22

--

--

Not Used

23

CLUSTER

10A

Instrument Panel Cluster (IPC), Powertrain Control Module (PCM), Automatic Transmission Control Module, 1-2 Shift Solenoid (1-2 SS) Valve, 2-3 Shift Solenoid (2-3 SS) Valve, 3-2 Shift Solenoid (3-2 SS) Valve, Torque Converter Clutch (TCC) Solenoid Valve, and Torque Converter Clutch (TCC) Pulse Width Modulation Solenoid Valve

24

--

--

Not Used

Relay Block - Body


Object Number: 612384  Size: LF

Relay Block - Body

No.

Relay/Circuit Breaker

Rating

Description

1

Park Lamp Relay

--

Is controlled by the BCM, powers the Fog Lamp Relay - Rear, FR PRK, LR PRK, RR PRK, TRL PRK, and PRK LPS Fuses in Fuse Block - I/P, Park Lamp Switch Relay, and I/P Dimmer Switch

2

Courtesy Lamp Relay

--

Is controlled by the BCM, grounds the Cargo Lamp, Map Light (part of the Driver Information Center), and Courtesy Lamp - Left/Right Console

3

Retained Accessory Power Relay

--

Is controlled by the BCM, switches IGN+ and B+ power to the RDO IGN fuse in the Fuse Block - I/P and Power Windows Circuit Breaker

4

Power Seats Circuit Breaker

25A

Powers the Seat Adjuster Switch - Driver/Front Passenger and Lumbar Switch - Left

5

Power Window Circuit Breaker

30A

Powers the Sunroof Module, Window Motor - Driver/Front Passenger, Door Lock and Window Switch - Driver, and Window Lockout Switch

6

Inadvertent Power Relay

--

Is controlled by the BCM, powers the I/P Compartment Lamp, Vanity Mirror Lamp - Left/Right, Underhood Lamp, and Courtesy Lamp Relay (coil side),

7

Door Lock Relay

--

Is controlled by the BCM, switches B+ and Ground to all Door Lock Actuators

8

Fog Lamp Relay (Front)

--

Is controlled by the BCM, powers Fog Lamp Bulb, (LF/RF) and Fog Lamp Switch - Front on indicator lamp

9

Driver Door Unlock Relay

--

Is controlled by the BCM, switches B+ and Ground to the Door Lock Actuator, RH

10

Door Unlock Relay

--

Is controlled by the BCM, switches B+ and Ground to all Door Lock Actuators

Electrical Center Identification Views Terminal Locations

Figure 1:

Fuse Block - Underhood


Object Number: 612508  Size: LF
Figure 2:

Fuse Block - I/P


Object Number: 792680  Size: MF
Figure 3:

Relay Block - Body


Object Number: 612510  Size: LH