GM Service Manual Online
For 1990-2009 cars only
Makes
🢒
Chevrolet
🢒
2002
🢒
Blazer - 4WD - RHD
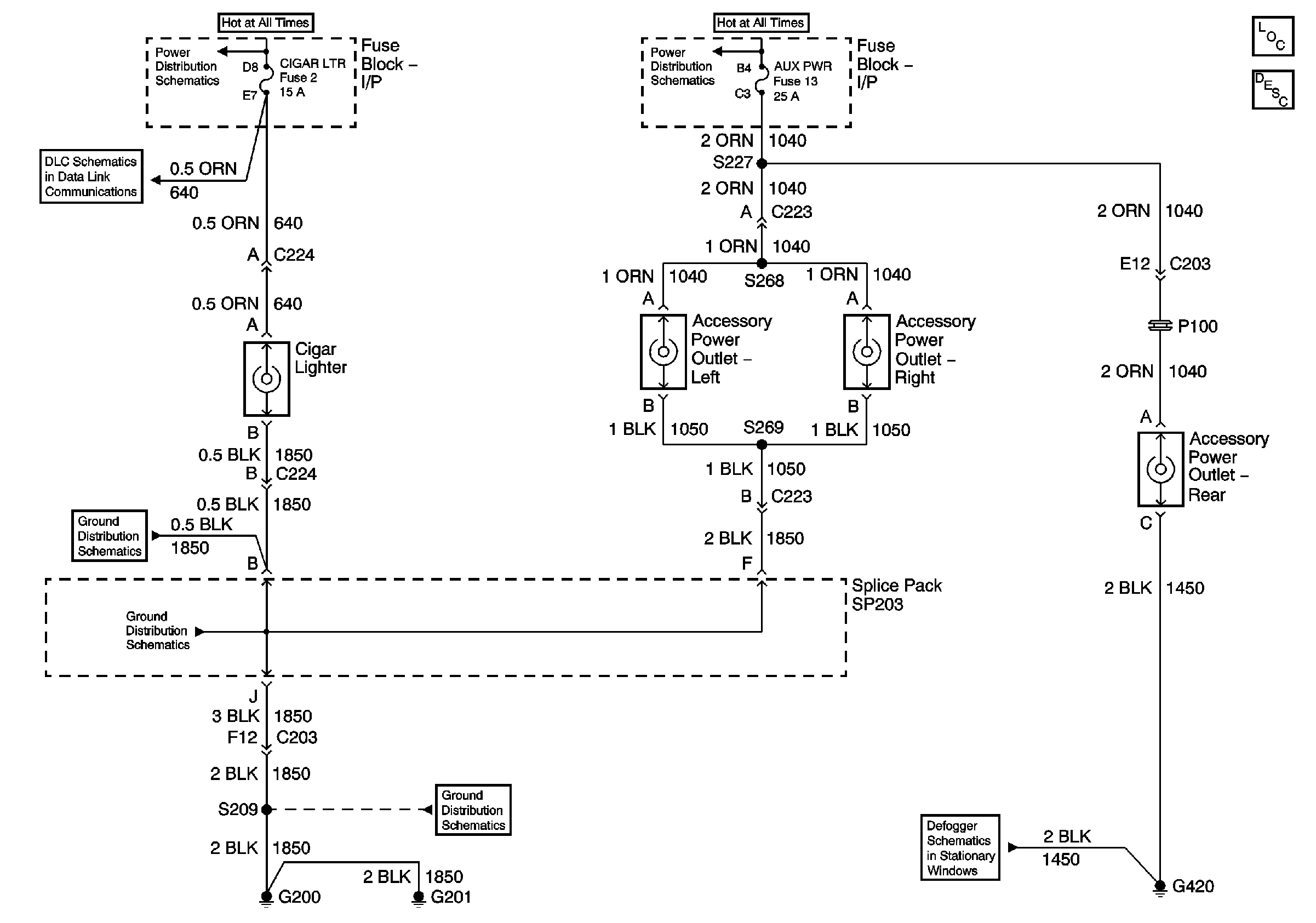
🢒 Cigar Lighter/Auxiliary Outlets Schematics
Cigar Lighter/Auxiliary Outlets Schematics
Power and Grounding Component Views
STUD 2, INT BAT, CIGAR LTR, CTSY LP and PWR LKS Fuses
RDO BAT and AUX PWR Fuses
Power and Grounds G103, G105 and G205
SP203
SP203
G200 and G201
Defogger Schematics