GM Service Manual Online
For 1990-2009 cars only
Makes
🢒
Chevrolet
🢒
2002
🢒
Blazer - 4WD - RHD
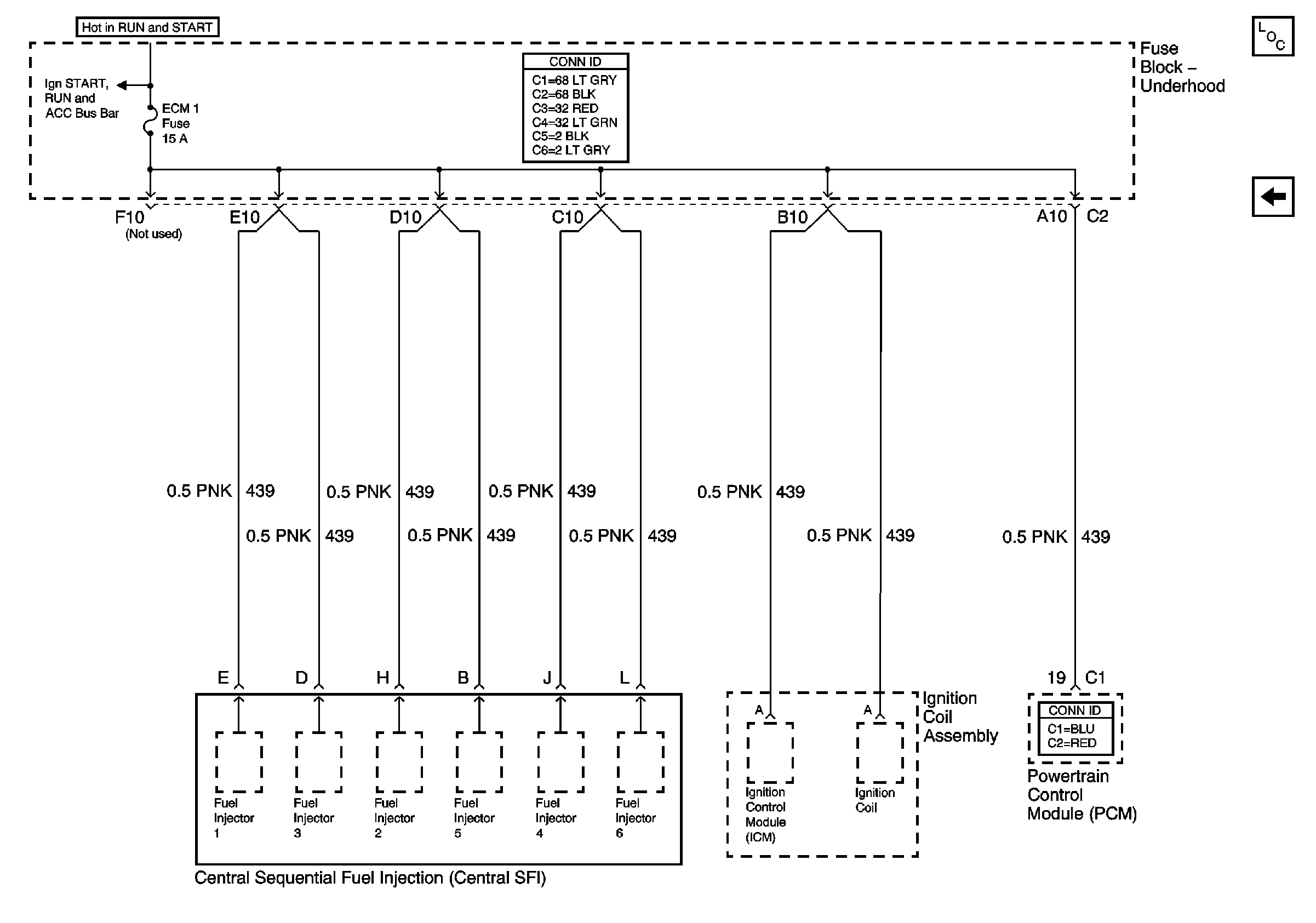
🢒 ECM I Fuse
ECM I Fuse
ECM I Fuse
Master Electrical Component List
B/U LP, OXYGEN, ENG I, TRL B/U, VEH B/U and BTSI Fuses
Ign START, RUN and ACC Bus Bar