GM Service Manual Online
For 1990-2009 cars only
Makes
🢒
Chevrolet
🢒
2002
🢒
Blazer - 4WD - RHD
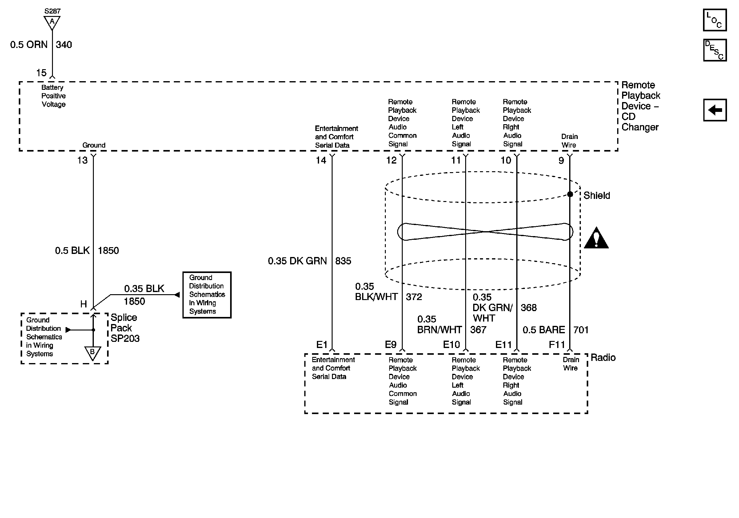
🢒 Radio and CD Changer
Radio and CD Changer
Radio and CD Changer
Master Electrical Component List
Radio/Audio System Description and Operation
Radio and Speakers
Radio and Speakers
SP203
SP203
Radio and Speakers
Entertainment Schematic Icons