GM Service Manual Online
For 1990-2009 cars only
Makes
🢒
Chevrolet
🢒
2002
🢒
Blazer - 4WD - RHD
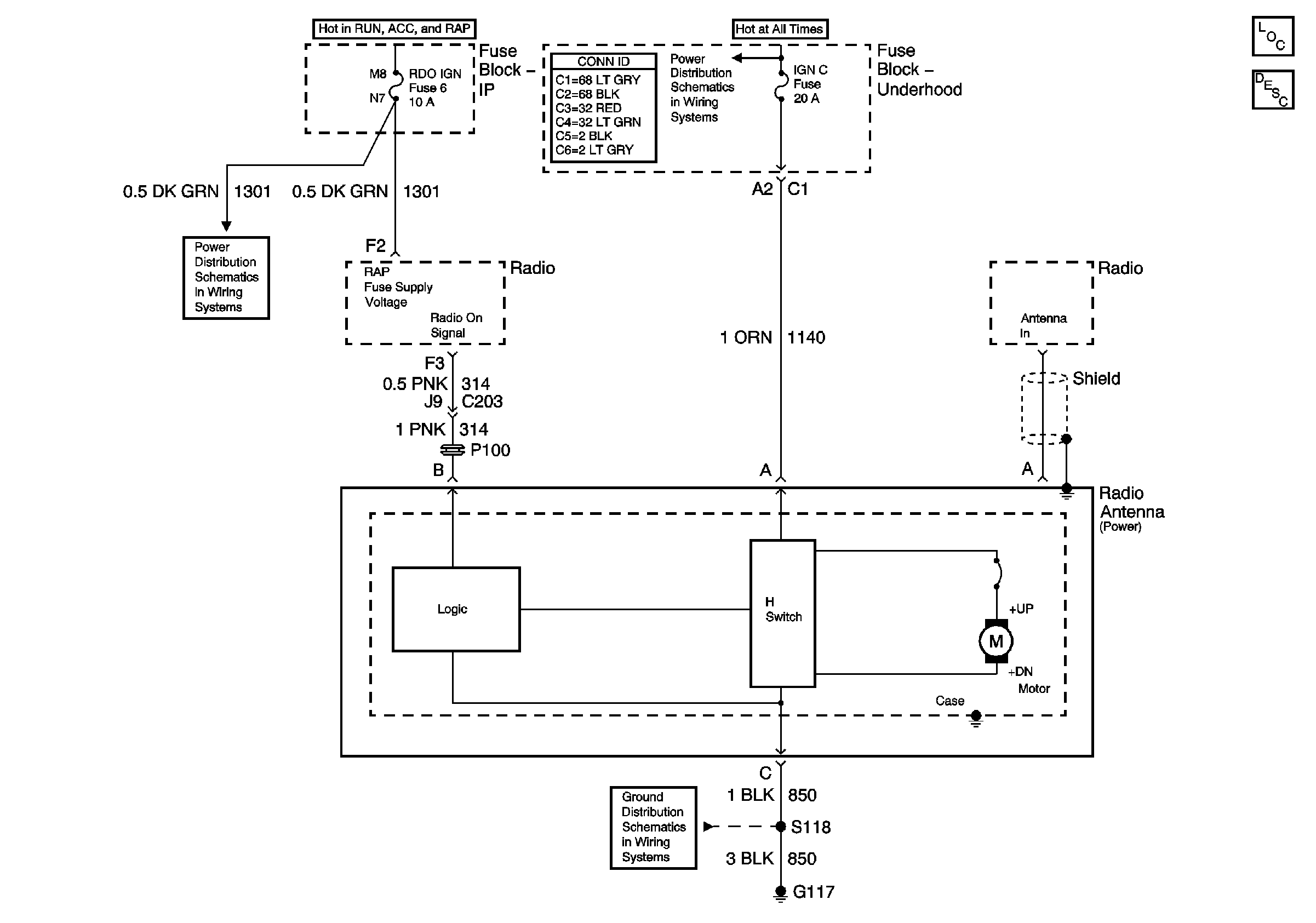
🢒 Power Antenna Schematics
Power Antenna Schematics
Master Electrical Component List
Radio/Audio System Description and Operation
B+ Bus Bar
RDO IGN, FRT WPR, RR WIPER, ABS and CRUISE Fuses
G117