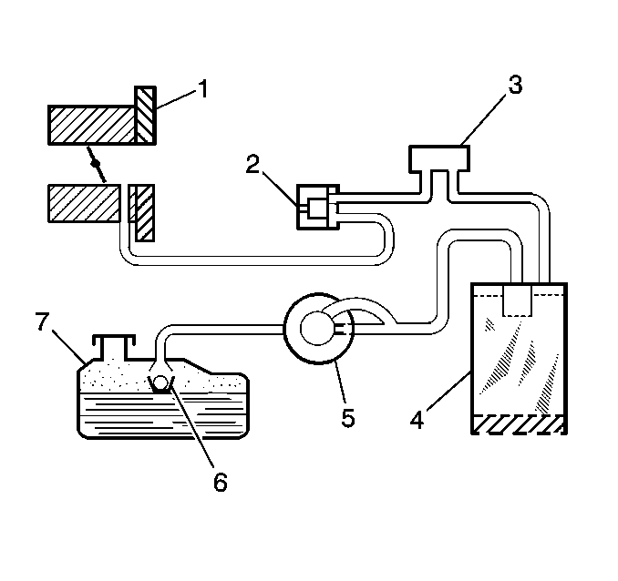
The Evaporative Emission (EVAP) control system uses a
1500 cc charcoal canister to absorb fuel vapors from the gas tank.
When gasoline vapor builds enough to overcome the spring tension of
the EVAP pressure control valve, the vapor will flow to the canister where
it is absorbed and stored by the charcoal. Under certain operating conditions
the PCM will command the purge solenoid valve to open. This allows the vapor
to flow into the intake manifold for combustion.
This system has a remote mounted canister purge control
solenoid valve. The PCM operates this solenoid valve to control vacuum to
the canister. Under cold engine or idle conditions, the solenoid valve is
closed, which prevents vacuum from being applied to the canister. The PCM
activates (or opens) the solenoid valve and allows purge under the following
conditions: