GM Service Manual Online
For 1990-2009 cars only
Makes
🢒
Chevrolet
🢒
1998
🢒
Camaro
🢒
Engine
🢒
Engine Controls - 5.7L
🢒 Emission Hose Routing Diagram
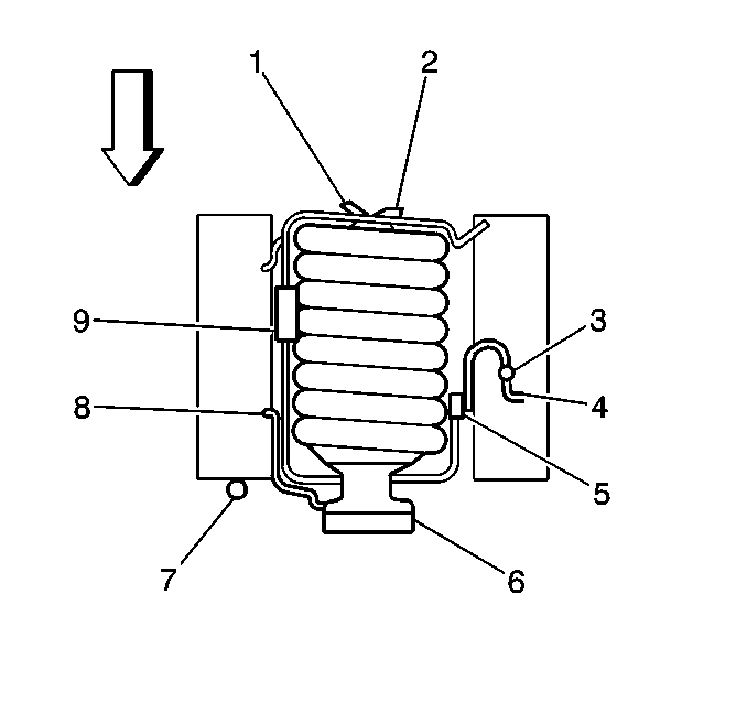
Emission Hose Routing
(1)
To HVAC
(2)
To Power Brake Vacuum Boost
(3)
EVAP Service Port
(4)
To EVAP Canister
(5)
EVAP Canister Purge Solenoid Valve
(6)
Throttle Body
(7)
EGR Valve
(8)
Crankcase Ventilation Hose
(9)
PCV Valve