GM Service Manual Online
For 1990-2009 cars only

ENGINE OVERHEATS (INSTALL COOLING FAN RELAY KIT)

SUBJECT: ENGINE OVERHEATS (INSTALL COOLING FAN RELAY KIT)

MODELS: 1994-96 CHEVROLET CAPRICE WITH SEO OPTION

CONDITION:

SOME OWNERS MAY COMMENT THAT THE ENGINE OVERHEATS. THIS CONDITION OCCURS ONLY IN HEAVY DUTY OPERATION, SUCH AS POLICE OR TAXI USE.

CAUSE:

THE PRIMARY 150 WATT COOLING FAN RELAY MAY OVERHEAT AND FAIL, MAKING THE COOLING FAN INOPERATIVE AND RESULTING IN THE OVERHEAT CONDITION. THE SECONDARY FAN MAY OPERATE, BUT WILL NOT PROVIDE ENOUGH COOLING AIR BY ITSELF TO PREVENT OVERHEATING.

CORRECTION:

TO CORRECT THIS CONDITION, THE RELAY WILL BE MOVED TO A NEW LOCATION AND THE TERMINALS WILL BE UPGRADED. A KIT, P/N 12167644, CONTAINS THE PARTS NEEDED FOR THIS PROCEDURE.

1. DISCONNECT NEGATIVE BATTERY CABLE.

2. LOCATE THE UNDERHOOD ELECTRICAL CENTER AND REMOVE THE COVER. THE ELECTRICAL CENTER IS AT THE TOP REAR OF THE RIGHT FRONT WHEEL HOUSE.

3. REMOVE THE ELECTRICAL CENTER FROM THE CASING (FIGURE 1). RELEASE THE TABS USING A SMALL SCREWDRIVER, AS SHOWN.

4. REMOVE THE PRIMARY COOLING FAN RELAY AND THE 40 AMP #12 MAXI- FUSE (FIGURE 2).

5. FROM THE BACK OF THE ELECTRICAL CENTER (FIGURE 3):

A. REMOVE THE RED 10 GAUGE (5.0) JUMPER WIRE AND TERMINALS FROM CAVITIES K2 AND C4. DISCARD THIS WIRE.

B. REMOVE THE BLUE 10 GAUGE (5.0) WIRE AND TERMINAL FROM CAVITY B6. CUT OFF THE TERMINAL AND DISCARD. TAPE THE WIRE END.

C. REMOVE THE BROWN 22 GAUGE (.35) WIRE AND TERMINAL FROM CAVITY B4 AND THE GREEN 22 GAUGE (.35) WIRE AND TERMINAL FROM CAVITY C6. THESE WIRES WILL BE USED IN STEP 7.

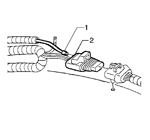
6. LOCATE CONNECTOR C103, JUST IN FRONT OF THE ELECTRICAL CENTER (FIGURE 4). UNPLUG THE CONNECTOR, THEN REMOVE THE BLUE 10 GAUGE (5.0) WIRE AND TERMINAL FROM CAVITY A. CUT OFF THE TERMINAL AND DISCARD, AND TAPE THE BARE END OF THE WIRE.

7. LOCATE THE NEW JUMPER HARNESS FROM THE KIT. INSERT THE RED WIRE AND TERMINAL INTO CAVITY K2 OF THE ELECTRICAL CENTER (FIGURE 5). CUT THE OLD TERMINALS FROM THE BROWN AND GREEN WIRES REMOVED FROM THE ELECTRICAL CENTER IN STEP 5, AND DISCARD. STRIP THE ENDS OF THE WIRES. CRIMP THE ENDS OF THE WIRES INTO THE CONNECTORS ON THE BROWN AND GREEN WIRES IN THE NEW JUMPER HARNESS. HEAT SHRINK THE CONNECTIONS TO INSURE A WATER TIGHT SEAL. REINSTALL THE ELECTRICAL CENTER INTO THE CASE.

8. REINSTALL THE 40 AMP MAXI-FUSE.

9. AT CONNECTOR C103, INSTALL THE BLUE WIRE AND TERMINAL FROM THE NEW JUMPER HARNESS INTO CAVITY A (FIGURE 6). PLUG THE CONNECTOR TOGETHER.

10. REMOVE THE HEX NUT WHICH SECURES THE HOOD GROUND STRAP TO THE COWL (FIGURE 7). INSTALL THE RELAY FROM THE NEW JUMPER HARNESS IN THIS LOCATION. LEAVE THE GROUND STRAP IN POSITION.

11. SECURE THE JUMPER HARNESS INTO POSITION, MAKING SURE THERE ARE NO RUB OR PINCH POINTS.

12. RECONNECT THE NEGATIVE BATTERY CABLE. VERIFY THE OPERATION OF THE COOLING FAN USING THE TECH 1 (SEE SERVICE MANUAL FOR DETAILS).

PARTS INFORMATION:

PARTS ARE EXPECTED TO BE AVAILABLE ON NOVEMBER 20, 1995.

WARRANTY INFORMATION:

FOR VEHICLES REPAIRED UNDER WARRANTY, USE:

LABOR OPERATION NUMBER: N6270 USE PUBLISHED LABOR OPERATION TIME.

FIGURES: 07 ATTACHMENTS: 00

FIGURE 2: 1. COOLING FAN RELAY 2. 40 AMP MAXI-FUSE FIGURE 3: 1. RED JUMPER WIRE - K2 + C4 2. BLUE WIRE B6 3. BROWN WIRE B4 4. GREEN WIRE C6 FIGURE 4: 1. BLUE WIRE 2. CAVITY "A" FIGURE 5: 1. CRIMP AND SEAL CONNECTORS 2. RED WIRE TO K2 3. BROWN WIRE 4. GREEN WIRE FIGURE 6: 1. BLUE WIRE 2. CAVITY "A" FIGURE 7: 1. GROUND STRAP


Object Number: 82666  Size: FS


Object Number: 82665  Size: FS


Object Number: 82664  Size: FS


Object Number: 93567  Size: MF


Object Number: 82663  Size: FS


Object Number: 93566  Size: MF


Object Number: 93565  Size: LF

GENERAL MOTORS BULLETINS ARE INTENDED FOR USE BY PROFESSIONAL TECHNICIANS, NOT A "DO-IT-YOURSELFER". THEY ARE WRITTEN TO INFORM THOSE TECHNICIANS OF CONDITIONS THAT MAY OCCUR ON SOME VEHICLES, OR TO PROVIDE INFORMATION THAT COULD ASSIST IN THE PROPER SERVICE OF A VEHICLE. PROPERLY TRAINED TECHNICIANS HAVE THE EQUIPMENT, TOOLS, SAFETY INSTRUCTIONS AND KNOW-HOW TO DO A JOB PROPERLY AND SAFELY. IF A CONDITION IS DESCRIBED, DO NOT ASSUME THAT THE BULLETIN APPLIES TO YOUR VEHICLE, OR THAT YOUR VEHICLE WILL HAVE THAT CONDITION. SEE A GENERAL MOTORS DEALER SERVICING YOUR BRAND OF GENERAL MOTORS VEHICLE FOR INFORMATION ON WHETHER YOUR VEHICLE MAY BENEFIT FROM THE INFORMATION.

COPYRIGHT 1995 GENERAL MOTORS CORPORATION. ALL RIGHTS RESERVED.