GM Service Manual Online
For 1990-2009 cars only

Object Number: 13785  Size: MF
Engine Controls Components
Transmission Controls
OBD II Symbol Description Notice
Handling ESD Sensitive Parts Notice

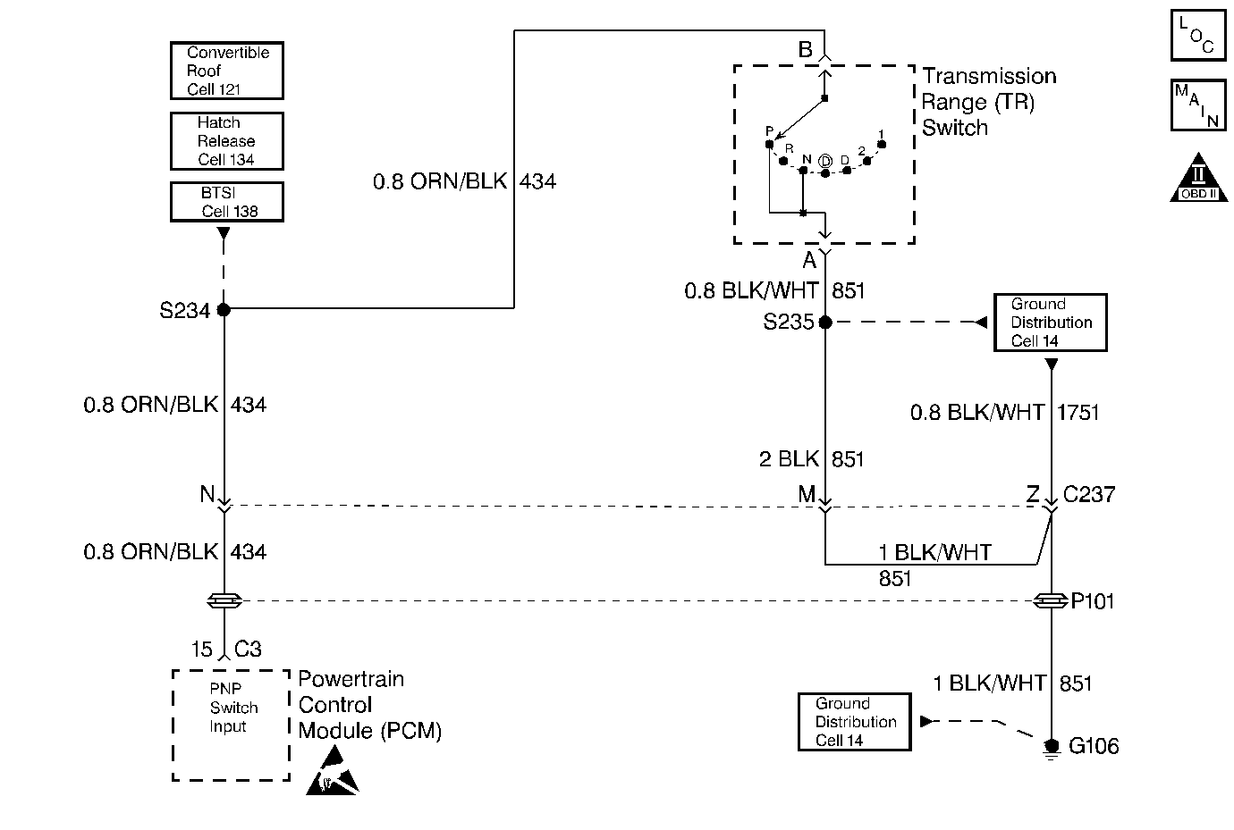
Circuit Description

The Park/Neutral Position (PNP) switch contacts are closed to ground in park and neutral. The PCM applies a voltage (about 12.0 Volts) to the switch. When the gear selector is in park or neutral the PNP switch is closed and the PCM senses low signal voltage (low engine load). When the gear selector is in reverse or a drive range, the PNP switch opens, and the PCM senses high signal voltage (high engine load). The PCM will increase the idle air rate to compensate for the additional load on the engine when the transmission is in gear.

Some of the PCMs other uses for the PNP signal are:

    • Vehicle Speed Sensor (VSS) diagnostics
    • Exhaust Gas Recirculation (EGR) operation

Diagnostic Aids

    • A PNP switch that does not close or an open circuit may cause the engine idle speed to drop when the vehicle is shifted into gear.
    • A switch that will not open or the signal circuit shorted to ground will cause the EGR system to be inoperative, possibly resulting in excessive spark knock.
    • Inspect all related wiring and connectors including the connections at the PCM. These may cause an intermittent malfunction. Check for damaged, corroded or pushed out terminals.

Step

Action

Value(s)

Yes

No

1

Was the Powertrain On-Board Diagnostic (OBD) System Check performed?

--

Go to Step 2

Go to Powertrain On Board Diagnostic (OBD) System Check

2

  1. Install the scan tool.
  2. Turn the Ignition ON, Engine OFF.
  3. Transmission in Park.

Does the scan tool indicate Park/Neutral (P-N----)?

--

Go to Step 3

Go to Step 4

3

Shift the transmission into drive.

Does the scan tool should indicate Drive (-R-OD21).

--

Go to Diagnostic Aids

Go to Step 7

4

  1. Disconnect the Park/Neutral Position switch connector.
  2. Using a fused jumper wire, jumper harness connector terminals A and B.

Does the scan tool indicate Park/Neutral (P-N----)?

--

Go to Step 10

Go to Step 5

5

Using a fused jumper wire connected to ground, probe terminal B in the PNP switch harness connector.

Does the scan tool indicate Park/Neutral (P-N----)?

--

Go to Step 13

Go to Step 6

6

  1. Leave fused jumper in place.
  2. Ignition OFF.
  3. Disconnect the PCM connector C3.
  4. Using a test light (J 34142-B) connected to B+, probe the PCM harness connector terminal C3-15.

Does The test light illuminate?

--

Go to Step 9

Go to Step 11

7

Disconnect the Park/Neutral Position switch connector.

Does the scan tool indicate Drive (-R-OD21)?

--

Go to Step 10

Go to Step 8

8

  1. Turn the Ignition OFF.
  2. Disconnect the PCM connector C3.
  3. Turn the Ignition ON.

Does the scan tool indicate Drive (-R-OD21)?

--

Go to Step 12

Go to Step 15

9

Check for faulty connections at the PCM.

Was the condition found and corrected?

--

Go to Step 16

Go to Step 15

10

Check for faulty connections at the PNP switch or for the PNP switch for being out of adjustment.

Was the condition found and corrected?

--

Go to Step 16

Go to Step 14

11

Repair open PNP signal circuit.

Is the repair completed?

--

Go to Step 16

--

12

Repair the PNP signal circuit for a short to ground.

Is the repair completed?

--

Go to Step 16

--

13

Repair open PNP ground circuit.

Is the repair completed?

--

Go to Step 16

--

14

Replace the PNP switch.

Is the repair completed?

--

Go to Step 16

--

15

Important: Replacement PCM must be programmed. Refer to Powertrain Control Module Replacement/Programming .

Replace the PCM.

Is the repair completed?

--

Go to Step 16

--

16

Operate the vehicle within the conditions under which the original symptom was noted.

Does the system now operate properly?

--

System OK

Go to Step 2